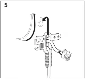
IKEA NYMANE Pendant Lamp

Pendant Lamp Installation

IMPORTANT
Always shut off power to the circuit before starting installation work. In some countries electrical installation work may only be carried out by a authorised electrical contractor. Contact your local electricity authority for advice.








































