IKEA NYFORS Table Lamp Installation Guide
Safety Instruction
If the external flexible cable or cord of this luminaire is damaged, it shall be exclusively replaced by the manufacturer or his service agent or a similar qualified person in order to avoid a hazard. If you are uncertain, please contact IKEA.
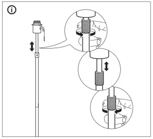
Assembly

























