
MELODI

IMPORTANT
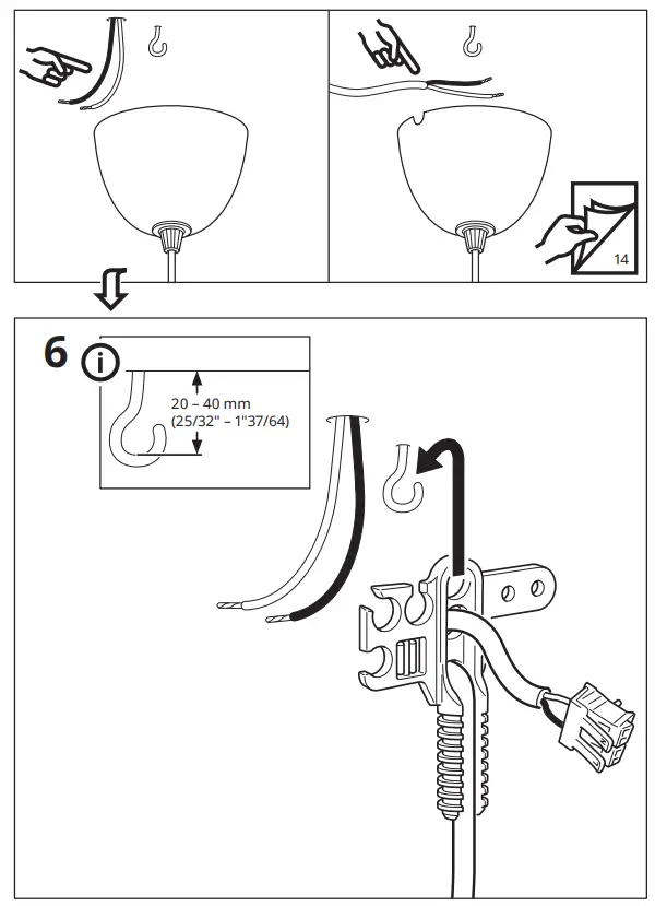
Always shut off power to the circuit before starting installation work. In some countries electrical installation work may only be carried out by a authorised electrical contractor.
Contect your locel electricity for advice.














© Inter IKEA Systems B.V. 2017
2021-05-12
AA-2037142-3


















