
GF/GQ-105 Tubular Centrifuge
Operating Manual
Type and Purpose
1.1According to the national professional standard “Tubular Centrifuge Type and Basic Parameters”: the tubular centrifuge is divided into two types: GF-separation type, GQ-clarification type.
GF-105 tubular centrifuge is mainly used to separate emulsions (two or more incompatible liquids), especially suitable for two-phase or liquid-liquid separation with little difference in phase and three-phase separation of liquid-liquid-solid containing a small amount of impurities.
GQ-105 tubular centrifuge is mainly used to separate various difficult-to-separate suspensions, and is especially suitable for the solid-liquid separation of suspensions with dilute concentration, fine particles, and very small difference in solid-liquid weight.
1.2 The tubular centrifuge is in accordance with the national “Centrifuge Model Compilation Method”: G-tube centrifuge, F-separation type, Q-clarification type.
Main Technical Parameters
| Model | GF105 | GQ105 |
| Bowl dia. | 4.1 in (105 mm) | 4.1 in (105 mm) |
| Effective bowl height | 28.7 in (730 mm) | 28.7 in (730 mm) |
| Bowl Speed | 18400 r/min | 18400 r/min |
| Bowl Capacity Nominal | 1.6 gal (6 L) | 1.6 gal (6 L) |
| G–force/Separation factor | 19900 | 19900 |
| Feed nozzle dia. | 4,6,8 mm | 4,6,8 mm |
| Inlet pressure | >7.3 Psi (0.05Mpa) | >7.3 Psi (0.05Mpa) |
| Through Output | 423 gal/hr (1600 L/hr) | 423 gal/hr (1600 L/hr) |
| Power | 4 HP (3.0 kW) | 4 HP (3.0 kW) |
| Start method | Full voltage start | Full voltage start |
Machine Structure
Main components of the tubular centrifuge:
Body set, transmission set, bowl set, inlet bearing set and discharge tray set.
Installation and Commissioning
4.1 Overall installation of the machine
The foundation plane should be kept relatively level, and the center of gravity of the machine should be as close as possible to the center of gravity of the foundation. When installing the machine, use the heavy hammer method to align it so that the upper and lower holes of the machine are on a vertical line, and a rubber plate of 5-8mm is placed under the machine base.
4.2 Power connection
4.2.1 Wire as required, and the position of the control switch should be easy to observe and operate.
4.2.2 Check the circuit voltage to make it consistent with the motor’s nameplate requirements.
4.2.3Check the direction of rotation. Seen from top to bottom, the direction of rotation of the bowl is clockwise.
4.3 Installation of spindle, bowl and discharge tray
4.3.1 Screw the locking sleeve upwards and fix it in the upper position.
4.3.2 Install the buffer and the lower coupler in sequence, put the main shaft nut into the main shaft, insert the main shaft from the lower end of the locking sleeve and move it up, put the upper coupler into the upper end of the main shaft, and tighten the tightening screw.
4.3.3 Move the main shaft upwards so that it is clamped on the conical surface of the shaft center seat, so that the main shaft is fixed on the upper part.
4.3.4 Install the bowl into the machine body, paying attention that the bottom shaft part should be installed in the sliding bearing in the fluid bearing housing.
4.3.5 Install the discharge tray and the cover in turn.
4.3.6 Unscrew the protective cap on the bowl, and screw the protective cap on the fuselage. Tap the spindle with your hand while catching it with the other hand to prevent collision with the bowl. Check the connection between the bowl and the spindle. After confirming that the joint is clean, connect the spindle cap to the bowl and rotate the spindle cap clockwise (to connect the spindle to the bowl), and then tighten it with a special wrench.
4.3.7 Check whether the upper driving pin is in the two holes of the buffer and whether the upper and lower connectors are well connected, rotate the bowl, observe whether the installation is qualified, and confirm that there is no impact sound.
4.3.8 Unscrew the locking sleeve and lock it with the liquid pan cover.
4.4 Installation of foot bearing with inlet
The foot bearing with inlet is installed in the lower part of the fuselage. It can be disassembled and cleaned after each separation according to the requirements of the production process, or it can be cleaned regularly.
4.4.1 Put the assembled foot bearing with inlet into the center hole at the bottom of the fuselage, and tighten the fixing bolts.
4.4.2 When replacing the sliding bearing (1mm inner diameter wear) and spring, remove the foot bearing with inlet, and remove the pressure cap with a special wrench.
4.5 Belt installation
When installing the belt, the belt pulley rotates approximately 180 degrees in the counterclockwise direction. If the new belt cannot run in the center of the belt pulley, it can be achieved by adjusting the upper and lower bolts of the fixed motor.
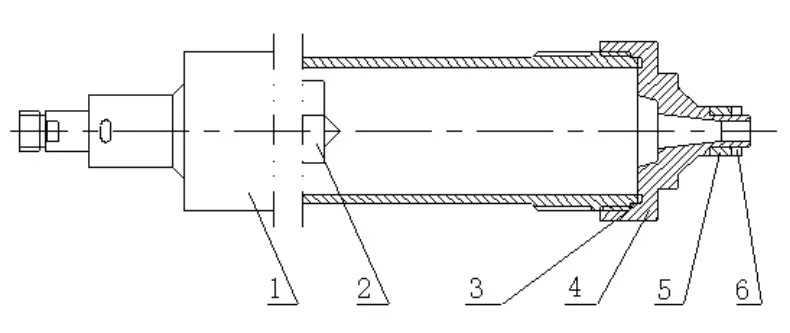
4.6 Outer separation ring (suitable for separation type)
The choice of the outer separation ring is realized according to the nature of the material and theoretical calculations. If the choice is not appropriate, two results will be produced:
A. Certain particles that need to be recovered in the liquid will appear in the heavy liquid.
B. Some particles in the heavy liquid will appear in the light liquid.
Therefore, a suitable outer separation ring must be selected to make the separation proceed smoothly and receive a good separation effect, which can be calculated as follows:
![]()
R1——————Light liquid outlet radius(Inner 36mm)
R2——————Heavy liquid outlet radius(Inner 97mm)
R3——————Neutral layer radius
Rt——————Severity of heavy liquid
Re——————Severity of light liquid
∮——————Re/Rt
When installing the outer separation ring, place the bowl on a special stand and fix it, use a special tool to unscrew the pressure cap (left-hand thread), install the selected outer separation ring, and then lock the pressure cap with a special tool.
Use and operation
5.1Preparation before operation
5.1.1 When the percentage of impurities or solids in the liquid is less than 5%, the machine exerts the most ideal separation effect. If the percentage is higher than 5%, it is recommended to clarify it first.
5.1.2 The feed is generally fed by a high tank or a peristaltic pump.
5.1.3 The pressure of the material entering the centrifuge through the nozzle depends on the nature of the material, but the material must be sprayed upward to at least half the height of the bowl. If the pressure is too low, part of the liquid will not enter the bowl, but will flow out from the overflow port of the foot bearing with inlet. If the pressure is too high, it will affect the separation quality and easily cause machine vibration.
5.1.4 The inner diameter of the feed pipe should be large enough, the feed flow can be controlled by a valve, and the flow can be determined according to the specific conditions of the material. When the material is difficult to separate, use a small flow and a small nozzle, otherwise use a large flow and a large nozzle.
5.2 Start the machine
5.2.1 Before starting the machine, rotate the oil cup cover 90 ° -180 ° and fill the sliding bearing with oil.
5.2.2 After turning on the motor power of the centrifuge, wait about 80 seconds, the bowl can reach the working speed (after reaching the working speed, the machine keeps a sound and no change). The starting current of the motor is generally around 30A.
5.2.3 After the machine is at full speed, the feed valve can be opened. First, open the valve.
After the clarified liquid flows out of the liquid outlet, open the valve to the pre-measured flow rate to clarify the liquid.
5.2.4 During the separation operation, observe whether the liquid flow rate is normal, and observe whether the clarity meets the clarification requirements. When the liquid at the outlet starts to become mixed, or when the flow at the outlet decreases significantly, or when the overflow outlet flows , Indicating that the solid phase is full, stop feeding.
5.3 Shutdown the machine
5.3.1 Before stopping the machine, the feed valve must be closed, and the power supply can be turned off only when there is no liquid flowing from the liquid outlet. Shutdown method: disconnect the power supply, and automatically shut down.
5.3.2 Slag discharge and bowl cleaning
Contrary to the assembly sequence, turn the locking sleeve to the upper end, separate the spindle from the bowl, and push the spindle to the upper end. Put on the bowl protection cap, remove the liquid pan cover and liquid pan, remove the bowl, and place it on the bowl support. Use a special wrench to remove the bottom shaft cover at the lower end of the drum, and use a hook to take out the tri-wing plate. Use a scraper and shovel to remove the solids in the drum and clean it.
5.3.3 Assembly of the bowl
When the three-wing plate is installed in the bowl, pay attention to push the three-wing plate to the top of the bowl, and align its positioning mark (blades with a “V” character) with the positioning mark of the bowl. Screw on the bottom shaft cover, use the bottom shaft wrench and a hand hammer to tighten and position the bottom shaft cover (the “V” on the bottom shaft cover should be aligned with or exceed the “V” on the bowl). If it exceeds the alignment mark by 15mm, the gasket in the bottom shaft cover needs to be replaced.
5.4 Precautions
5.4.1 Once the equipment is shut down, it must be disassembled and cleaned, otherwise it cannot be started again.
5.4.2 The drum must be handled gently and cleaned.
5.4.3 All rotatable parts shall not be moved, shaken or hit hard.
Maintenance
6.1 Lubrication of the machine
6.1.1 High-speed lubrication is used for the lubrication of the high-speed bearings in the tensioner parts and the spindle transmission parts, and the lubricating oil is added once every 2-3 months.
6.1.2 The sliding bearing in the foot bearing with inlet is a self-lubricating bearing. Every time it is used, a small amount of grease enters the inner surface of the bearing by rotating the oil cup.
6.2 Safe operation technology
6.2.1 The bowl is the heart part of the machine. It is strictly dynamically balanced. It must not be hammered or directly heated and baked. It should be placed on a special support when placed and must not be dropped.
6.2.2 When disassembling the drum, the upper end face and threads should be protected, and the protective cap should be worn in time.
6.2.3 The spindle must be hung when stored to avoid deformation.
6.3.4 When assembling and tightening the drum and the bottom shaft, a sleeve cannot be added to the special wrench.
6.3.5 The connectors of the wires must not be exposed, and the body itself is well.
6.3.6 If the discharge tray is not installed, it is not allowed to turn on, which is prone to accidents.
6.3.7The separation of toxic materials requires an exhaust pipe.
6.3 Fault and solution
| Fault | Check | Solution |
| The vibration of the machine (the vibration intensity of the machine measured in the middle of the fuselage is greater than 7. I ) | Check the joint between the bowl and the spindle | Use fine oilstone to repair the indentation and scratches carefully, use the bracket to set up the two ends of the bowl, and use the dial indicator to measure the radial runout at the outermost end of the spindle. The assembly in any direction is within O. I 5mm |
| Check whether the spindle is bent | Use a thimble to push up the center holes at both ends of the spindle, and use a dial indicator to check that the radial runout of each part is less than 0.05mm | |
| Check whether the shaft | Replace with new parts if it is severely worn | |
| sleeve (ie wear resistant sleeve) on the bottom shaft of the bowl is damaged | ||
| Check whether the sliding bearing in the foot bearing with inlet is damaged | If the gap between the sliding bearing and the sleeve reaches I nun, it should be replaced with a new one | |
| Check if the spring is damaged or overused | Damaged spring should be replaced immediately | |
| Check whether the registration marks of the bowl and the bottom shaft cover are aligned | If the position difference reaches 20mm, the gasket should be replaced to reposition it | |
| Check if the buffer is damaged | Replace | |
| Check whether the locking screw on the upper end of the spindle is loose | Tighten | |
| Reasons for the destruction of the balance accuracy of the bowl itself: deformation caused by disassembly and assembly, deformation | Re-calibrate the bowl balance (generally should be returned to the manufacturer) |
| caused by cleaning, collision, and use | ||
| Check the vibration of the tensioner parts in operation | Adjust | |
| Check the operation of the high-speed bearings in the spindle transmission parts | Hearing: when it is damaged, there is a sharp sound of sand frame scraping Hand touch: the small belt pulley has a high temperature Test: Use a dial indicator to measure, and find that the machine vibrates irregularly and the vibration is large | |
| The speed of the drum is reduced in accordance with ZB17708-89 [Technical Conditions of Tube Separator]. The no-load allowable speed reduction is 1%, and the load is allowed 3%. | Check whether the power supply voltage meets the requirements | Exclude |
| Check whether the motor speed meets the requirements | Repair or replace | |
| Check whether there is residual material that blocks the liquid outlet of the bowl | Cleaning | |
| Check whether the transmission belt is severely worn or if there is oil on the surface that makes the transmission belt slippery | Replace | |
| Check whether the spindle connecting cap is loose | Tighten |
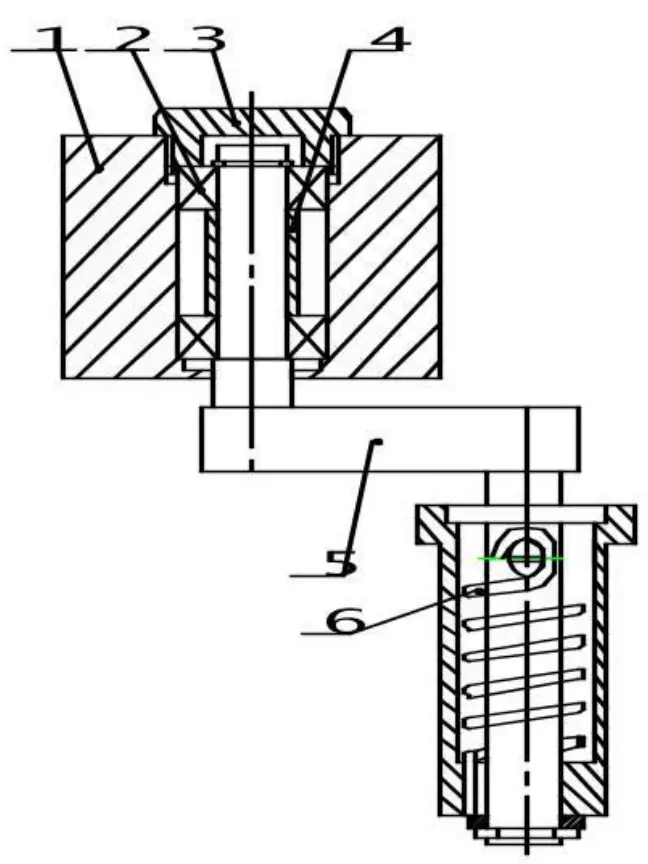
Structure


Pic.2 High-speed wheel structure
- Small belt pulley
- Locking screw
- Upper connecting seat
- Upper connecting seat
- Transmission pin
- Buffer
- Nut
- Inner spacer
- Outer spacer
- Bearing
- Bearing seat
- High-speed wheel locking cap
- Spindle
- Spindle nut

Pic.3 Tensioner structure
- Tensioner
- Bearing
- Pressure cap
- Spacer
- Tension wheel shaft
- Spring

Pic. 4 Bowl structure
- Bowl
- Tri-wing board
- Gasket
- Bottom shaft
- Shaft sleeve
- Nut

Pic. 5 Foot bearing with inlet structure
- Pressure cap
- Spring
- Bearing pressure cap
- Sliding bearing
- Nozzle
- Sliding bearing seat
- Foot bearing with inlet
- Oil cup
- Lock nut
- Inlet pipe
GQ/GF75/105/150 packing list
| No. | Name | Quantity | No. | Name | Quantit y |
| 1 | Bottom shaft wrench | 1 | 10 | Fall line | 1 |
| 2 | Single head wrench | 2 | 11 | Solution tank | 1 |
| 3 | Adjustable wrench | 1 | 12 | Locator | 1 |
| 4 | Hook wrench | 2 | 13 | Wear-resistant sleeve removal hook | 1 |
| 5 | Tensioner wrench | 1 | 14 | Triangle bracket (75.105) | 2 |
| 6 | Hand hammer | 1 | 15 | Bowl protective cap | 1 |
| 7 | Cleaning tool | 2 | 16 | Toolbox | 1 |
| 8 | Brush | 1 | 17 | Pull hook | 1 |
| 9 | Allen wrench | 1 | 18 | Mobile workbench (150) | 1 |
Vulnerable parts list
| No. | Name | Quantity | No. | Name | Quantity |
| 1 | Wear-resistant sleeve | 1 | 7 | Torsion spring | 1 |
| 2 | Sliding bearing | 1 | 8 | Grease | 1 |
| 3 | Hanging shaft | 1 | 9 | 6204 bearing | 2 |
| 4 | Buffer | 1 | 10 | 6200 bearing | 2 |
| 5 | Transmission belt | 1 | 11 | Gasket | 1 |
| 6 | Compression spring | 1 | 12 | Upper and lower connector | 1 |
| 13 | Separating ring gasket (GF) | 1 |
![]()
















