BLAUPUNKT AG4010 Angle Grinder
Product Information
The AG4010 is an angle grinder designed for cutting and grinding various materials. It comes with a main handle, an auxiliary handle, a spindle lock, a spindle, a safety guard, a switch with a locking function, and RPM adjustment. The device is equipped with a switch lock to reduce the risk of turning the device on or off. The disc guard should be firmly attached to the device and set so that the user is safe when cutting.
Product Usage Instructions
- Read the user manual carefully before using the AG4010.
- Wear protective clothing including gloves, safety glasses, and respiratory protection.
- Install the additional handle on either side of the device for better grip.
- Use ear protection to protect your hearing.
- To avoid kickback, hold the device by the two handles firmly and securely. Always ensure that your hands are not within reach of the grinder disc.
- Mount the safety guard firmly to the device, ensuring that its covered part is on the user’s side.
- Use RPM adjustment to set the correct speed for the task at hand.
- Do not press too hard on the device when cutting into solid material.
- Do not change the cutting angle or bend the disc while cutting into the material.
- Maintain the ventilation channels (air inlets and outlets) of the device free from contaminants.
Remember that kickback is sudden and uncontrollable and can be avoided by following the safety instructions and using methods to prevent it. Always read the user manual carefully before using the device.
Overview

IMPORTANT INFORMATION
To achieve the highest satisfaction, enjoy the product’s performance and learn about all its features and functions, please read this manual before using the product. Before using the device, read the Operating Instructions and comply to its contents. The manufacturer shall not be liable for any damage caused by the use of the device other than for its intended purpose or by improper handling. Keep these Operating Instructions for future reference.
- This device is for domestic use only. Do not use for any other purposes.
- The device should only be connected to an socket with values corresponding to the values on the rating label.
- It is necessary to check, if total current consumption of all devices plugged into the wall outlet does not exceed the fuse in the circuit.
- If you are using an extension cord, make sure that the total power consumption of the equipment plugged into the extension cord does not exceed the extension cord power rating. Extension cords should be arranged in such a way as to avoid tripping hazards.
- Do not let cord hang over edge of counter, or touch any hot surface.
- The device is not designed to be controlled via an external timer, separate remote control, or other equipment that can turn the device on automatically.
- Before maintenance work always disconnect the unit from the power supply.
- When unplugging the power cord from electrical outlet, hold it by the plug only and remove the plug carefully. Never pull the cable as it may cause damage to the plug or power cord. Damage to the power cord or plug can lead to an electrocution hazard.
- Never leave the product connected to the power source without supervision.
- Never put the power cable, the plug or the whole device into the water or any other liquids.
- The device should be cleaned regularly complying with the recommendations described in the section on cleaning and maintenance.
- Do not place the device near sources of heat, flame, an electric heating element or a hot oven. Do not place on any other device.
- The appliance must not be used by children. Keep the appliance and its cord out of the reach of children.
- The appliance may be used by individuals with limited physical, sensory or mental capability as well as those without knowledge of or previous experience in the use of similar appliances, provided such individuals are supervised or instructed with regard to the safe operation of the appliance and are informed about the potential hazards.
- Additional precautions should be taken when using this device in the presence of children or pets. Do not allow children to play with the device.
- Never use the product close to combustibles.
- Never expose the product to atmospheric conditions such as direct sun light or rain, etc… Never use the product in humid conditions (like bathroom or camping house).
- The power cable should be periodically checked for damage. If the power cable is damaged the product should be taken to a professional service location to be fixed or replaced to prevent any hazards from arising.
- Never use the product with a damaged power cable or if it was dropped or damaged in any other way or if it does not work properly. Do not try to repair the defected product by yourself as it can lead to electric shock. Always return the damaged device to a professional service in order to repair it.
- All the repairs should only be performed by authorized service professionals. Any attempted unauthorised repairs performed can be a hazard to the user.
- Only Original accessories should be used, as well as accessories recommended by the manufacturer. Using accessories which are not recommended by the manufacturer may result in damage of the device and may render the device unsafe for use.
- Keep your workplace tidy and well lit.
- Disorder and insufficient lighting lead to accidents.
- Do not use power tools in explosive atmospheres, i.e. in the presence of flammable liquids, gases or dust.
- A moment of carelessness may cause losing control of your tool.
- If it is possible to fit power tools for dust extraction or collection, check that they are fitted and working correctly. Using such power tools reduces the risk posed by the presence of dust.
- Do not lean out too far when working with your power tool. Maintain a stable posture and balance. This allows you to keep better control of your power tool in unforeseen situations.
- Avoid starting the power tool unintentionally. Make sure the power switch is in the OFF position before connecting the power tool to the mains. Carrying a power tool with your finger on its trigger or plugging in a power tool after switching it on can lead to accidents.
- Wear appropriate clothing. Do not work in loose clothing and do not wear jewellery while working. Keep your hair, clothing and gloves away from moving parts. The moving parts of a power tool can catch and pull in loose pieces of clothing, jewellery or long hair.
- Remove any spanners or tools from the power tool before starting it. A tool or spanner still connected to the rotating part of the power tool may cause personal injury.
- Be careful when working with power tools, concentrate on your work and use common sense. Do not use a power tool when tired or under the influence of drugs, alcohol or medication. Even a moment of carelessness while working with a power tool can lead to a serious accident.
- Keep children away from the work area and DO NOT allow children to pull on the power cord – this can cause serious injury.
- Before making any adjustments, changing accessories or storing the power tool, move the switch to the off position to disconnect the power tool from the power supply.
- Such precautions reduce the risk of accidentally starting the power tool.
- Ensure that the vents are free from debris.
- The device may only be used in a dry, well-lit environment.
- This tool should not be used by anyone under the age of 16.
Kickback
The kickback is sudden and uncontrollable, the device reacts to the jamming or blockage of the cutting device. Jamming or blocking results in a sudden jerk, in the direction opposite to the rotation of the disc. Kickback is the result of not reading the safety instruction. To avoid kickback, follow the safety instructions and use methods to prevent it
Methods to prevent kickback
- Hold the device by the two handles firmly and securely. Always use the additional handle. – The operator can control the torque and the resultant kickback forces if appropriate precautions are taken.
- Keep hands away from the cutting part of the device.
- CAUTION: The device may injure the user if used improperly.
- The user should stand in such a position that, in the event of a kickback, they are not within reach of the grinder disc.
SYMBOLS
- The following symbols may appear in the operating instructions or on the tool’s nameplate.
- These signs contain important information about the product and instructions on how to use it.

![]()
- When this crossed-out wheeled bin symbol is attached to a product it means that the product is covered by the European Directive 2012/19/EU. Please inform yourself about the local separate collection system for electrical and electronic products. Used appliance should be delivered to the dedicated collecting points due to hazardous components, which may affect the environment. Do not dispose this appliance in the common waste bin.
- Your products is designed a manufactured with high quality materials and components, which can be recycled and reused.
WEAR PERSONAL PROTECTIVE EQUIPMENT
- Wear safety glasses according to En166
- Use protective masks in accordance with En149
- Use other types of proper personal protective equipment, depending on the type of work involved.
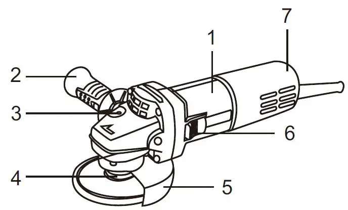
Description of the device
- Main handle
- Auxiliary handle
- Spindle lock
- Spindle
- Safety guard
- Switch with a locking function
- RPM adjustment
Installing the additional handle
- The handle can be mounted on either side of the device.
Using of safety guard
The disc guard should be firmly attached to the device and set so that the user is safe when cutting, i.e. it should be mounted in such a way that its covered part is on the user’s side
Device operation
- The device is equipped with a switch lock.
- The lock reduces the risk of turning the device on or off.
- To turn the device on, move the button to the upper position until it hits the locking tab.
- To turn the device off, press the lower part of the button, it will pop out of the lock.
Replacing the grinding disc
Before replacing the disc, disconnect the device from the power source. To replace the grinding disc, use the included hole wrench for the front bolts.
- Press the spindle lock to lock the chuck rotation.
- Use the spanner to loosen the bolts securing the discs.
- Remove the spanner from the flanged nut.
Grinding discs
- The disc must not exceed the diameter specified.
- Check that the disc has the appropriate technical specification. Use only discs with a minimum permissible rotational speed of 12000 rpm and a peripheral speed of 80 m/s.
Tips for working with the device
- Before starting to work with the device, check that the disc is tightened and properly installed, the disc guard is tightened and set in the right direction.
- While cutting or grinding the grinder should be guided at a constant speed, depending on the material.
- Do not push the device too hard against the workpiece.
- Do not change the cutting angle and bend the disc in the workpiece when cutting.
CLEANING AND MAINTENANCE
Before cleaning and maintenance, make sure the device is disconnected from the power source. Keep the ventilation apertures (air inlets and outlets) of the device free of dirt. Wipe the device with a dry cloth or blow it with compressed air. Keep the work tool chuck free of dust. It is recommended to clean the device after each use. Do not immerse in water or other liquids. Do not use aggressive cleaning agents or solvents.
SPECIFICATIONS
- Disc diameter: 125 mm
- Spindle thread: M14
- Disc opening diameter: 22 mm
- Rotational speed without load: 2300-11,000 rpm
- Power supply: 230-240 V ~ 50 Hz, power 800 W, max 1400 W
Noise
- Typical A-weighted noise level measured in accordance with En62841:
- Sound pressure level (LpA): 86 dB (A)
- Measurement uncertainty (K): 5.0 dB (A)
- Noise level during operation may exceed: 99 dB (A).
- Wear hearing protection!
Vibrations
Total vibration value measured in accordance with En62841:
- Vibration emission: ahB=11.2 m/s² ; ahWB=9.8 m/s²
- Measurement uncertainty (K): 1.5 m/s²
- Permissible Operating Time: 15 minutes of operation, 30 minutes off.
- The declared vibrations has been measured according to the standard test method and can be used to compare tools.
- The declared vibrations can also be used in the initial exposure assessment.
EU – DECLARATION OF CONFORMITY

Contact
Competence Center
- 2N-Everpol Sp. z o.o.
ul. Pulawska 403A 02-801 Warsaw, Poland - phone: +48 22 688 08 oo
- e-mail: [email protected]
- www.blaupunkt.com
In case of questions or problems please contact our service.
- Tel: 00 48 22 688 08 33
- Email: [email protected]
All rights reserved. All brand names are registered trademarks of their respective owners. Specifications are subject to change without prior notice.
















