Makita GA4590 Angle Grinder

SPECIFICATIONS
| Model: | GA4590 | GA4591 | GA4592 | GA5090 | GA5091 | GA5092 | |
| Applicable grinding wheel | Max. wheel diameter | 115 mm | 125 mm | ||||
| Max. wheel thickness | 7.2 mm | ||||||
| Applicable cut-off wheel | Max. wheel diameter | 115 mm | 125 mm | ||||
| Max. wheel thickness | 3.2 mm | ||||||
| Applicable wire wheel brush | Max. wheel diameter | 115 mm | 125 mm | ||||
| Max. wheel thickness | 20 mm | ||||||
| Spindle thread | M14 or 5/8″(country-specific) | ||||||
| Max. spindle length | 23 mm | ||||||
| No load speed (n0) / Rated speed (n) | 11,500 min–1 | ||||||
| Overall length | 326 mm | 349 mm | 326 mm | 349 mm | 326 mm | ||
| Net weight | 2.6 – 3.8 kg | 2.8 – 4.0 kg | 2.6 – 3.8 kg | 2.8 – 4.0 kg | 2.6 – 3.8 kg | ||
| Safety class | |||||||
- Due to our continuing research and development program, the specifications herein are subject to change without notice.
- Specifications may differ from country to country.
- The weight may differ depending on the attachment(s). The lightest and heaviest combinations, according to EPTA-Procedure 01/2014, are shown in the table.
Symbols
The followings show the symbols which may be used for the equipment. Be sure that you understand their meaning before use.
- Read the instruction manual.
- Wear safety glasses.
- Continuously operate with two hands.
- Do not use the wheel guard for cut-off operations.
- DOUBLE INSULATION
Only for EU countries
Due to the presence of hazardous components in the equipment, used electrical and electronic equipment may have a negative impact on the environment and human health.
Do not dispose of electrical and electronic appliances with household waste!
In accordance with the European Directive on waste electrical and electronic equip-ment and its adaptation to national law, used electrical and electronic equipment should be collected separately and delivered to a separate collection point for municipal waste, operating in accordance with the environmental protection regulations.
This is indicated by the symbol of the crossed-out wheeled bin placed on the equipment.
Intended use
The tool is intended for grinding, sanding, wire brushing, hole cutting, and cutting of metal and stone materials without water.
Power supply
The tool should be connected only to a power supply of the same voltage as indicated on the nameplate, and can only be operated on a single-phase AC supply. They are double-insulated and can, therefore, also be used from sockets without earth wire.
Noise
The typical A-weighted noise level determined according to EN62841-2-3:
| Model | Sound pressure level (LpA) : (dB(A)) | Sound power level (LWA) : (dB(A)) | Uncertainty (K) : (dB(A)) |
| GA4590 | 93 | 101 | 3 |
| GA4591 | 90 | 98 | 3 |
| GA4592 | 93 | 101 | 3 |
| GA5090 | 93 | 101 | 3 |
| GA5091 | 90 | 98 | 3 |
| GA5092 | 93 | 101 | 3 |
- NOTE: The declared noise emission value(s) has been measured in accordance with a standard test method and may be used for comparing one tool with another.
- NOTE: The declared noise emission value(s) may also be used in a preliminary assessment of exposure.
- WARNING: Wear ear protection.
- WARNING: The noise emission during the actual use of the power tool can differ from the declared val-ue(s) depending on the ways in which the tool is used especially what kind of workpiece is processed.
- WARNING: Be sure to identify safety measures to protect the operator that are based on an estimation of exposure in the actual conditions of use (taking account of all parts of the operating cycle such as the times when the tool is switched off and when it is running idle in addition to the trigger time).
- WARNING: Grinding thin sheets of metal or other easily vibrating structures with a large surface can result in a total noise emission much higher (up to 15 dB) than the declared noise emission values. Set heavy flexible damping mats or such to those workpieces to prevent them from emitting sound. Take the increased noise emission into consideration for both the risk assessment of noise exposure and selecting adequate hearing protection.
Vibration
The vibration total value (tri-axial vector sum) determined according to EN62841-2-3:
Work mode: surface grinding with normal side grip
| Model | Vibration emission (ah, AG) : (m/s2) | Uncertainty (K) : (m/s2) |
| GA4590 | 4.7 | 1.5 |
| GA4591 | 5.4 | 1.5 |
| GA4592 | 4.7 | 1.5 |
| GA5090 | 7.9 | 1.5 |
| GA5091 | 7.4 | 1.5 |
| GA5092 | 7.9 | 1.5 |
Work mode: surface grinding with anti-vibration side grip
| Model | Vibration emission (ah, AG) : (m/s2) | Uncertainty (K) : (m/s2) |
| GA4590 | 4.9 | 1.5 |
| GA4591 | 5.2 | 1.5 |
| GA4592 | 4.9 | 1.5 |
| GA5090 | 8.8 | 1.5 |
| GA5091 | 8.7 | 1.5 |
| GA5092 | 8.8 | 1.5 |
Work mode: disc sanding with normal side grip
| Model | Vibration emission (ah, DS) : (m/s2) | Uncertainty (K) : (m/s2) |
| GA4590 | 3.6 | 1.5 |
| GA4591 | 3.2 | 1.5 |
| GA4592 | 3.6 | 1.5 |
| GA5090 | 2.7 | 1.5 |
| GA5091 | 2.7 | 1.5 |
| GA5092 | 2.7 | 1.5 |
Work mode: disc sanding with anti-vibration side grip
| Model | Vibration emission (ah, DS) : (m/s2) | Uncertainty (K) : (m/s2) |
| GA4590 | 3.5 | 1.5 |
| GA4591 | 2.9 | 1.5 |
| GA4592 | 3.5 | 1.5 |
| GA5090 | 2.8 | 1.5 |
| GA5091 | 3.0 | 1.5 |
| GA5092 | 2.8 | 1.5 |
- NOTE: The declared vibration total value(s) has been measured in accordance with a standard test method and may be used for comparing one tool with another.
- NOTE: The declared vibration total value(s) may also be used in a preliminary assessment of exposure.
- WARNING: The vibration emission during actual use of the power tool can differ from the declared value(s) depending on the ways in which the tool is used especially what kind of workpiece is processed.
- WARNING: Be sure to identify safety measures to protect the operator that are based on an estimation of exposure in the actual conditions of use (taking account of all parts of the operating cycle such as the times when the tool is switched off and when it is running idle in addition to the trigger time).
- WARNING: The declared vibration emission value is used for main applications of the power tool. However if the power tool is used for other applications, the vibration emission value may be different.
EC Declaration of Conformity
For European countries only
The EC declaration of conformity is included as Annex A to this instruction manual.
SAFETY WARNINGS
General power tool safety warnings
WARNING:
Read all safety warnings, instruc-tions, illustrations and specifications provided with this power tool. Failure to follow all instructions listed below may result in electric shock, fire and/or serious injury.
Save all warnings and instructions for future reference.
The term “power tool” in the warnings refers to your mains-operated (corded) power tool or battery-operated (cordless) power tool.
Work area safety
- Keep work area clean and well lit. Cluttered or dark areas invite accidents.
- Do not operate power tools in explosive atmospheres, such as in the presence of flammable liquids, gases or dust. Power tools create sparks which may ignite the dust or fumes.
- Keep children and bystanders away while operating a power tool. Distractions can cause you to lose control.
Electrical safety
- Power tool plugs must match the outlet. Never modify the plug in any way. Do not use any adapter plugs with earthed (grounded) power tools. Unmodified plugs and matching outlets will reduce the risk of electric shock.
- Avoid body contact with earthed or grounded surfaces, such as pipes, radiators, ranges and refrigerators. There is an increased risk of elec-tric shock if your body is earthed or grounded.
- Do not expose power tools to rain or wet con-ditions. Water entering a power tool will increase the risk of electric shock.
- Do not abuse the cord. Never use the cord for carrying, pulling or unplugging the power tool. Keep cord away from heat, oil, sharp edges or moving parts. Damaged or entangled cords increase the risk of electric shock.
- When operating a power tool outdoors, use an extension cord suitable for outdoor use. Use of a cord suitable for outdoor use reduces the risk of electric shock.
- If operating a power tool in a damp location is unavoidable, use a residual current device (RCD) protected supply. Use of an RCD reduces the risk of electric shock.
- Use of power supply via an RCD with a rated residual current of 30 mA or less is always recommended.
- Power tools can produce electromagnetic fields (EMF) that are not harmful to the user. However, users of pacemakers and other similar medical devices should contact the maker of their device and/or doctor for advice before operating this power tool.
- Do not touch the power plug with wet hands.
- If the cord is damaged, have it replaced by the manufacturer or his agent in order to avoid a safety hazard.
Personal safety
- Stay alert, watch what you are doing and use common sense when operating a power tool. Do not use a power tool while you are tired or under the influence of drugs, alcohol or med-ication. A moment of inattention while operating power tools may result in serious personal injury.
- Use personal protective equipment. Always wear eye protection. Protective equipment such as a dust mask, non-skid safety shoes, hard hat or hearing protection used for appropriate conditions will reduce personal injuries.
- Prevent unintentional starting. Ensure the switch is in the off-position before connecting to power source and/or battery pack, picking up or carrying the tool. Carrying power tools with your finger on the switch or energising power tools that have the switch on invites accidents.
- Remove any adjusting key or wrench before turning the power tool on. A wrench or a key left attached to a rotating part of the power tool may result in personal injury.
- Do not overreach. Keep proper footing and balance at all times. This enables better control of the power tool in unexpected situations.
- Dress properly. Do not wear loose clothing or jewellery. Keep your hair and clothing away from moving parts. Loose clothes, jewelry or long hair can be caught in moving parts.
- If devices are provided for the connection of dust extraction and collection facilities, ensure these are connected and properly used. The use of dust collection can reduce dust-related hazards.
- Do not let familiarity gained from frequent use of tools allow you to become complacent and ignore tool safety principles. A careless action can cause severe injury within a fraction of a second.
- Always wear protective goggles to protect your eyes from injury when using power tools. The goggles must comply with ANSI Z87.1 in the USA, EN 166 in Europe, or AS/NZS 1336 in Australia/New Zealand. In Australia/New Zealand, it is legally required to wear a face shield to protect your face, too.

It is an employer’s responsibility to enforce the use of appropriate safety protective equip-ments by the tool operators and by other per-sons in the immediate working area.
Power tool use and care
- Do not force the power tool. Use the correct power tool for your application. The correct power tool will do the job better and safer at the rate for which it was designed.
- Do not use the power tool if the switch does not turn it on and off. Any power tool that cannot be controlled with the switch is dangerous and must be repaired.
- Disconnect the plug from the power source and/or remove the battery pack, if detachable, from the power tool before making any adjust-ments, changing accessories, or storing power tools. Such preventive safety measures reduce the risk of starting the power tool accidentally.
- Store idle power tools out of the reach of chil-dren and do not allow persons unfamiliar with the power tool or these instructions to operate the power tool. Power tools are dangerous in the hands of untrained users.
- Maintain power tools and accessories. Check for misalignment or binding of moving parts, breakage of parts and any other condition that may affect the power tool’s operation. If dam-aged, have the power tool repaired before use. Many accidents are caused by poorly maintained power tools.
- Keep cutting tools sharp and clean. Properly maintained cutting tools with sharp cutting edges are less likely to bind and are easier to control.
- Use the power tool, accessories and tool bits etc. in accordance with these instructions, tak-ing into account the working conditions and the work to be performed. Use of the power tool for operations different from those intended could result in a hazardous situation.
- Keep handles and grasping surfaces dry, clean and free from oil and grease. Slippery handles and grasping surfaces do not allow for safe handling and control of the tool in unexpected situations.
- When using the tool, do not wear cloth work gloves which may be entangled. The entanglement of cloth work gloves in the moving parts may result in personal injury.
Service
- Have your power tool serviced by a qualified repair person using only identical replacement parts. This will ensure that the safety of the power tool is maintained.
- Follow instructions for lubricating and changing accessories.
Grinder safety warnings
Safety warnings common for grinding, sanding, wire brushing, or cutting-off operations:
- This power tool is intended to function as a grinder, sander, wire brush, hole cutter or cut-off tool. Read all safety warnings, instructions, illustrations and specifications provided with this power tool. Failure to follow all instructions listed below may result in electric shock, fire and/or serious injury.
- Operations such as polishing are not to be performed with this power tool. Operations for which the power tool was not designed may create a hazard and cause personal injury.
- Do not convert this power tool to operate in a way that is not specifically designed and specified by the tool manufacturer. Such a conversion may result in a loss of control and cause serious personal injury.
- Do not use accessories that are not specifically designed and specified by the tool manufacturer. Just because the accessory can be attached to your power tool, it does not assure safe operation.
- The rated speed of the accessory must be at least equal to the maximum speed marked on the power tool. Accessories running faster than their rated speed can break and fly apart.
- The outside diameter and the thickness of your accessory must be within the capacity rating of your power tool. Incorrectly sized accessories cannot be adequately guarded or controlled.
- The dimensions of the accessory mounting must fit the dimensions of the mounting hardware of the power tool. Accessories that do not match the mounting hardware of the power tool will run out of balance, vibrate excessively and may cause loss of control.
- Do not use a damaged accessory. Before each use inspect the accessory such as abrasive wheels for chips and cracks, backing pad for cracks, tear or excess wear, wire brush for loose or cracked wires. If power tool or accessory is dropped, inspect for damage or install an undamaged accessory. After inspecting and installing an accessory, position yourself and bystanders away from the plane of the rotating accessory and run the power tool at maximum no-load speed for one minute. Damaged accessories will normally break apart during this test time.
- Wear personal protective equipment. Depending on the application, use face shield, safety goggles or safety glasses. As appropriate, wear a dust mask, hearing protectors, gloves and a workshop apron capable of stopping small abrasive or workpiece fragments. The eye protection must be capable of stopping flying debris generated by various applications. The dust mask or respirator must be capable of filtrating particles generated by the particular application. Prolonged exposure to high-intensity noise may cause hearing loss.
- Keep bystanders a safe distance away from work area. Anyone entering the work area must wear personal protective equipment. Fragments of workpieces or of a broken accessory may fly away and cause injury beyond the immediate area of operation.
- Hold the power tool by insulated gripping surfaces only, when performing an operation where the cutting accessory may contact hidden wiring or its own cord. Cutting accessory contacting a “live” wire may make exposed metal parts of the power tool “live” and could give the operator an electric shock.
- Position the cord clear of the spinning accessory. If you lose control, the cord may be cut or snagged and your hand or arm may be pulled into the spinning accessory.
- Never lay the power tool down until the accessory has come to a complete stop. The spinning accessory may grab the surface and pull the power tool out of your control.
- Do not run the power tool while carrying it at your side. Accidental contact with the spinning accessory could snag your clothing, pulling the accessory into your body.
- Regularly clean the power tool’s air vents. The motor’s fan will draw dust inside the housing and excessive accumulation of powdered metal may cause electrical hazards.
- Do not operate the power tool near flammable materials. Sparks could ignite these materials.
- Do not use accessories that require liquid coolants. Using water or other liquid coolants may result in electrocution or shock.
Kickback and related warnings:
Kickback is a sudden reaction to a pinched or snagged rotating wheel, backing pad, brush or any other accessory. Pinching or snagging causes rapid stalling of the rotating accessory which in turn causes the uncontrolled power tool to be forced in the direction opposite of the accessory’s rotation at the point of the binding. For example, if an abrasive wheel is snagged or pinched by the workpiece, the edge of the wheel that is entering into the pinch point can dig into the surface of the material causing the wheel to climb out or kick out. The wheel may either jump toward or away from the operator, depending on the direction of the wheel’s movement at the point of pinching. Abrasive wheels may also break under these conditions.
Kickback is the result of power tool misuse and/or incorrect operating procedures or conditions and can be avoided by taking proper precautions as given below.
- Maintain a firm grip with both hands on the power tool and position your body and arms to allow you to resist kickback forces. Always use an auxiliary handle, if provided, for maximum control over kickback or torque reaction during start-up. The operator can control torque reactions or kickback forces if proper precautions are taken.
- Never place your hand near the rotating accessory. The accessory may kick back over your hand.
- Do not position your body in the area where the power tool will move if kickback occurs. Kickback will propel the tool in a direction opposite to the wheel’s movement at the point of snagging.
- Use special care when working corners, sharp edges, etc. Avoid bouncing and snagging the accessory. Corners, sharp edges or bouncing have a tendency to snag the rotating accessory and cause loss of control or kickback.
- Do not attach a saw chain woodcarving blade, segmented diamond wheel with a peripheral gap greater than 10 mm or toothed saw blade. Such blades create frequent kickback and loss of control.
Safety warnings specific for grinding and cut-ting-off operations:
- Use only wheel types that are specified for your power tool and the specific guard designed for the selected wheel. Wheels for which the power tool was not designed cannot be adequately guarded and are unsafe.
- The grinding surface of centre depressed wheels must be mounted below the plane of the guard lip. An improperly mounted wheel that projects through the plane of the guard lip cannot be adequately protected.
- The guard must be securely attached to the power tool and positioned for maximum safety, so the least amount of wheel is exposed towards the operator. The guard helps to protect the operator from broken wheel fragments, acci-dental contact with wheel and sparks that could ignite clothing.
- Wheels must be used only for specified appli-cations. For example: do not grind with the side of cut-off wheel. Abrasive cut-off wheels are intended for peripheral grinding, side forces applied to these wheels may cause them to shatter.
- Always use undamaged wheel flanges that are of correct size and shape for your selected wheel. Proper wheel flanges support the wheel thus reducing the possibility of wheel breakage. Flanges for cut-off wheels may be different from grinding wheel flanges.
- Do not use worn down wheels from larger power tools. A wheel intended for larger power tool is not suitable for the higher speed of a smaller tool and may burst.
- When using dual purpose wheels always use the correct guard for the application being performed. Failure to use the correct guard may not provide the desired level of guarding, which could lead to serious injury.
Additional safety warnings specific for cutting-off operations:
- Do not “jam” the cut-off wheel or apply exces-sive pressure. Do not attempt to make an excessive depth of cut. Overstressing the wheel increases the loading and susceptibility to twisting or binding of the wheel in the cut and the possibil-ity of kickback or wheel breakage.
- Do not position your body in line with and behind the rotating wheel. When the wheel, at the point of operation, is moving away from your body, the possible kickback may propel the spin-ning wheel and the power tool directly at you.
- When the wheel is binding or when interrupt-ing a cut for any reason, switch off the power tool and hold it motionless until the wheel comes to a complete stop. Never attempt to remove the cut-off wheel from the cut while the wheel is in motion otherwise kickback may occur. Investigate and take corrective action to eliminate the cause of wheel binding.
- Do not restart the cutting operation in the work-piece. Let the wheel reach full speed and carefully re-enter the cut. The wheel may bind, walk up or kickback if the power tool is restarted in the workpiece.
- Support panels or any oversized workpiece to minimize the risk of wheel pinching and kick-back. Large workpieces tend to sag under their own weight. Supports must be placed under the workpiece near the line of cut and near the edge of the workpiece on both sides of the wheel.
- Use extra caution when making a “pocket cut” into existing walls or other blind areas. The protruding wheel may cut gas or water pipes, elec-trical wiring or objects that can cause kickback.
- Do not attempt to do curved cutting. Overstressing the wheel increases the loading and susceptibility to twisting or binding of the wheel in the cut and the possibility of kickback or wheel breakage, which can lead to serious injury.
- Before using a segmented diamond wheel, make sure that the diamond wheel has a peripheral gap between segments of 10 mm or less, only with a negative rake angle.
Safety warnings specific for sanding operations:
- Use proper-sized sanding disc paper. Follow the manufacturer’s recommendations, when selecting sanding paper. Larger sanding paper extending too far beyond the sanding pad pres-ents a laceration hazard and may cause snagging, tearing of the disc or kickback.
Safety warnings specific for wire brushing operations:
- 1. Be aware that wire bristles are thrown by the brush even during ordinary operation. Do not overstress the wires by applying excessive load to the brush. The wire bristles can easily penetrate light clothing and/or skin.
2. If the use of a guard is specified for wire brushing, do not allow any interference of the wire wheel or brush with the guard. Wire wheel or brush may expand in diameter due to work load and centrifugal forces.
Additional Safety Warnings:
- When using depressed center grinding wheels, be sure to use only fiberglass-reinforced wheels.
- NEVER USE Stone Cup-type wheels with this grinder. This grinder is not designed for these types of wheels and the use of such a product may result in serious personal injury.
- Be careful not to damage the spindle, the flange (especially the installing surface) or the lock nut. Damage to these parts could result in wheel breakage.
- Make sure the wheel is not contacting the workpiece before the switch is turned on.
- Before using the tool on an actual workpiece, let it run for a while. Watch for vibration or wobbling that could indicate poor installation or a poorly balanced wheel.
- Use the specified surface of the wheel to perform the grinding.
- Do not leave the tool running. Operate the tool only when hand-held.
- Do not touch the workpiece immediately after the operation; it may be extremely hot and could burn your skin.
- Do not touch accessories immediately after the operation; it may be extremely hot and could burn your skin.
- Observe the instructions of the manufacturer for the correct mounting and use of wheels. Handle and store wheels with care.
- Do not use separate reducing bushings or adaptors to adapt large-hole abrasive wheels.
- Use only flanges specified for this tool.
- For tools intended to be fitted with threaded hole wheels, ensure that the thread in the wheel is long enough to accept the spindle length.
- Check that the workpiece is properly supported.
- Pay attention that the wheel continues to rotate after the tool is switched off.
- If the working place is extremely hot and humid, or badly polluted by conductive dust, use a short-circuit breaker (30 mA) to assure operator safety.
- Do not use the tool on any materials containing asbestos.
- When use the cut-off wheel, always work with the dust-collecting wheel guard if required by domestic regulation.
- Cutting discs must not be subjected to any lateral pressure.
- Do not use cloth work gloves during the operation. Fibers from cloth gloves may enter the tool, which causes tool breakage.
- Before the operation, make sure that there is no buried object such as electric pipe, water pipe or gas pipe in the workpiece. Otherwise, it may cause an electric shock, electrical leakage or gas leak.
- If a blotter is attached to the wheel, do not remove it. The diameter of the blotter must be larger than the lock nut, outer flange, and inner flange.
- Before installing a grinding wheel, always check that the blotter part does not have any abnormalities such as chips or cracks.
- Tighten the lock nut properly. Overtightening the wheel can cause breakage and insufficient tightening can cause fluttering.
SAVE THESE INSTRUCTIONS.
WARNING:
DO NOT let comfort or familiarity with product (gained from repeated use) replace strict adherence to safety rules for the subject product. MISUSE or failure to follow the safety rules stated in this instruction manual may cause serious personal injury.
FUNCTIONAL DESCRIPTION
CAUTION:
Always be sure that the tool is switched off and unplugged before adjusting or checking function on the tool.
Tool protection system
The tool is equipped with a tool protection system. This system automatically reduces or cuts off power to the motor to extend tool life. The tool will automatically reduce power or stop during operation if the tool is placed under one of the following conditions:
Overload protection
When the tool is operated in a manner that causes it to draw an abnormally high current, the tool reduces power automatically without any indication. In this situation, remove the cause of the overload so that the rotation speed recovered.
Overheat protection
Country specific
When the tool is overheated, the tool stops automatically and the indication lamp blinks in red. In this situation, let the tool cool down. You can turn the tool on again after the lamp changes the color from red to green.
Indication lamp

- Indication lamp
The indication lamp lights up green when the tool is plugged. If the indicator lamp blinks in red, the overheat protection, Active Feedback sensing Technology, or the accidental re-start preventive function stops operation. In this situation, switch off the tool. Then, turn the tool on to restart. If the indicator lamp lights up in red after switching off the tool, the tool is overheated. In this situation, cool down the tool and wait until the indicator lamp lights up in green.
Speed adjusting dial
Only for model GA4590 / GA4591 / GA5090 / GA5091
- CAUTION: If the tool is operated continuously at low speeds for a long time, the motor will get overloaded and heated up.
- CAUTION: The speed-adjusting dial can be turned only as far as 5 and back to 1. Do not force it past 5 or 1, or the speed-adjusting function may no longer work.
The rotating speed can be changed by turning the speed-adjusting dial to a given number setting from 1 to 5. Higher speed is obtained when the dial is turned in the direction of number 5. And lower speed is obtained when it is turned in the direction of number 1. Refer to the below table for the relationship between the number settings on the dial and the approximate rotating speed.
| Number | Rated speed |
| 1 | 2,800 min-1 (/min) |
| 2 | 4,500 min-1 (/min) |
| 3 | 6,500 min-1 (/min) |
| 4 | 8,000 min-1 (/min) |
| 5 | 11,500 min-1 (/min) |

- Speed adjusting dial
Shaft lock
WARNING:
Never actuate the shaft lock when the spindle is moving. It may cause serious injury or tool damage.
Press the shaft lock to prevent spindle rotation when installing or removing accessories.
- Shaft lock
Switch action
- CAUTION: Before plugging in the tool, always check to see that the slide switch actuates prop-erly and returns to the “OFF” position when the rear end of the slide switch is depressed.
- CAUTION: The switch can be locked in the “ON” position for ease of operator comfort during extended use. Apply caution when locking tool in the “ON” position and maintain firm grasp on tool.
To start the tool, press down the rear end of the slide switch and then slide it toward the “I (ON)” position. For continuous operation, press down the front end of the slide switch to lock it.
- Slide switch
To stop the tool, press down the rear end of the slide switch so that it returns to the “O (OFF)” position.
- Slide switch
Electronic function
Active Feedback Sensing Technology
CAUTION: Hold the tool firmly until the rotation stops.
The tool electronically detects situations where the wheel or accessory may be at risk to be bound. In such a situation, the tool automatically shuts off the power to prevent further rotation of the spindle (this does not prevent kickback). At this time, the indication lamp blinks in red and shows the Active Feedback sensing Technology is working. To restart the tool, switch off the tool first, remove the cause of sudden drop in the rotation speed, and then turn the tool on.
Accidental re-start preventive function
When plugging in the tool while the switch is ON, the tool does not start.
At this time, the indication lamp blinks in red and shows that the accidental re-start preventive function works. To start the tool, turn off the switch, and turn it on again.
Constant speed control
Possible to get fine finish, because the rotating speed is kept constant even under the loaded condition.
Soft start feature
Soft start feature reduces starting reaction.
Mechanical brake
Only for model GA4591 / GA5091
- Mechanical brake is activated after the tool is switched off.
- The brake does not work when the power supply is shut down with the switch still on.
ASSEMBLY
CAUTION:
Always be sure that the tool is switched off and unplugged before carrying out any work on the tool.
Installing side grip (handle)
CAUTION:
Always be sure that the side grip is installed securely before operation.
Screw the side grip securely on the position of the tool as shown in the figure.
Installing or removing wheel guard
- WARNING: When using a depressed center wheel, flap disc, flex wheel or wire wheel brush, the wheel guard must be fitted on the tool so that the closed side of the guard always points toward the operator.
- WARNING: Make sure that the wheel guard is securely locked by the lock lever with one of the holes on the wheel guard.
- WARNING: When using an abrasive cut-off/diamond wheel, be sure to use only the special wheel guard designed for use with cut-off wheels.
For depressed center wheel, flap disc, flex wheel, wire wheel brush / abrasive cut-off wheel, diamond wheel
- While pushing the lock lever, mount the wheel guard with the protrusions on the wheel guard aligned with the notches on the bearing box.

- Lock lever
- Notch
- Protrusion
- While pushing the lock lever toward A, hold down the portion B of the wheel guard as shown in the figure.

- Wheel guard
- Hole
NOTE: Push down the wheel guard straight. Otherwise, you cannot secure the wheel guard.
- While pushing the lock lever toward A, rotate the wheel guard toward C, and then, change the angle of the wheel guard according to the work so that the oper-ator can be protected. Align the lock lever with one of the holes in the wheel guard, and then release the lock lever to lock the wheel guard.

- Wheel guard
- Hole
To remove the wheel guard, follow the installation proce-dure in reverse.
Clip-on cutting wheel guard attachment
Optional accessory
NOTE:
For cutting-off operations, a clip-on cutting wheel guard attachment can be used with the wheel guard (for grinding wheel).
Not available in some countries.
Installing or removing the depressed center wheel or flap disc
Optional accessory
- WARNING: When using a depressed center wheel or flap disc, the wheel guard must be fitted on the tool so that the closed side of the guard always points toward the operator.
- WARNING: Make sure that the mounting part of the inner flange fits into the inner diameter of the depressed center wheel/flap disc perfectly. Mounting the inner flange on the wrong side may result in a dangerous vibration.
Mount the inner flange onto the spindle.
- Make sure to fit the dented part of the inner flange onto the straight part at the bottom of the spindle.
- Fit the depressed center wheel/flap disc on the inner flange and screw the lock nut onto the spindle.

- Lock nut
- Depressed center wheel
- Inner flange
- Mounting part
To tighten the lock nut, press the shaft lock firmly so that the spindle cannot revolve, then use the lock nut wrench and securely tighten clockwise.
- Lock nut wrench
- Shaft lock
To remove the wheel, follow the installation procedure in reverse.
Installing or removing flex wheel
Optional accessory
WARNING:
Always use a supplied guard when flex wheel is on the tool. Wheel can shatter during use and guard helps to reduce chances of personal injury.
- Lock nut
- Flex wheel
- Back up pad
- Inner flange
Follow instructions for the depressed center wheel but also use back up pad over wheel.
Installing or removing abrasive disc
Optional accessory

- Sanding lock nut
- Abrasive disc
- Rubber pad
- Mount the rubber pad onto the spindle.
- Fit the disc on the rubber pad and screw the sand-ing lock nut onto the spindle.
- Hold the spindle with the shaft lock, and securely tighten the sanding lock nut clockwise with the lock nut wrench.
To remove the disc, follow the installation procedure in reverse.
NOTE:
Use sander accessories specified in this manual. These must be purchased separately.
Super flange
Optional accessory
Only for model GA4590 / GA4592 / GA5090 / GA5092
Super flange is a special accessory for a model that is NOT equipped with a brake function. Only 1/3 of efforts needed to undo lock nut, compared with conventional type.
Optional accessory
Only for tools with M14 spindle thread.
CAUTION:
Do not use Ezynut with Super Flange. Those flanges are so thick that the entire thread cannot be retained by the spindle.
Mount inner flange, abrasive wheel and Ezynut onto the spindle so that Makita Logo on Ezynut faces outside.

- Ezynut
- Abrasive wheel
- Inner flange
- Spindle
Press shaft lock firmly and tighten Ezynut by turning the abrasive wheel clockwise as far as it turns.
- Shaft lock
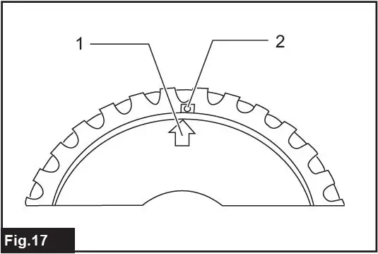
To loosen the Ezynut, turn the outside ring of Ezynut counterclockwise.
NOTE:
Ezynut can be loosened by hand as long as the arrow points the notch. Otherwise a lock nut wrench is required to loosen it. Insert one pin of the wrench into a hole and turn Ezynut counterclockwise.
- Arrow
- Notch

Installing abrasive cut-off/diamond wheel
Optional accessory
- WARNING: When using an abrasive cut-off/diamond wheel, be sure to use only the special wheel guard designed for use with cut-off wheels.
- WARNING: NEVER use the cut-off wheel for side grinding.

- Lock nut
- Abrasive cut-off wheel/diamond wheel
- Inner flange
- Wheel guard for abrasive cut-off wheel/diamond wheel
As for the installation, follow the instructions for the depressed center wheel. The direction for mounting the lock nut and the inner flange varies by wheel type and thickness. Refer to the following figures.
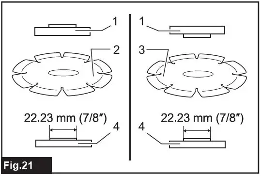
When installing the abrasive cut-off wheel:

- Lock nut
- Abrasive cut-off wheel (Thinner than 4 mm (5/32″))
- Abrasive cut-off wheel (4 mm (5/32″) or thicker)
- Inner flange
When installing the diamond wheel:

- Lock nut
- Diamond wheel (Thinner than 4 mm (5/32″))
- Diamond wheel (4 mm (5/32″) or thicker)
- Inner flange
Installing wire cup brush
Optional accessory
CAUTION:
Do not use brush that is damaged, or which is out of balance. Use of damaged brush could increase potential for injury from contact with broken brush wires.
Place the tool upside down to allow easy access to the spindle. Remove any accessories on spindle. Thread wire cup brush onto spindle and tighten with supplied wrench.
- Wire cup brush
Installing wire wheel brush
Optional accessory
- CAUTION: Do not use wire wheel brush that is damaged, or which is out of balance. Use of damaged wire wheel brush could increase potential for injury from contact with broken wires.
- CAUTION: ALWAYS use guard with wire wheel brushes, assuring diameter of wheel fits inside guard. Wheel can shatter during use and guard helps to reduce chances of personal injury.
Place the tool upside down to allow easy access to the spindle. Remove any accessories on spindle. Thread wire wheel brush onto spindle and tighten with the wrenches.
- Wire wheel brush
Installing hole cutter
Optional accessory
Place the tool upside down to allow easy access to the spindle. Remove any accessories on the spindle. Thread the hole cutter onto the spindle, and tighten it with the supplied wrench.
- Hole cutter
Installing dust collecting wheel guard for grinding
Optional accessory
With optional accessories, you can use this tool for planing concrete surface.
- CAUTION: Dust collecting wheel guard for grinding is only for use in planing concrete surface with a cup-type diamond wheel. Do not use this guard with any other cutting accessory or for any other purpose.
- CAUTION: Before operation, make sure that a vacuum cleaner is connected to the tool and turned on.
Place the tool upside down and install the dust collecting wheel guard. Mount the inner flange onto the spindle. Fit the cup-type diamond wheel on the inner flange and tighten the lock nut onto the spindle.
- Lock nut
- Cup-type diamond wheel
- Hubbed cup-type diamond wheel
- Inner flange
- Dust-collecting wheel guard
- Bearing box
NOTE:
For information how to install the dust-collecting wheel guard, refer to the manual of the dust collecting wheel guard.
Installing dust collecting wheel guard for cutting-off
Optional accessory
With optional accessories, you can use this tool for cutting stone materials.
NOTE:
For information how to install the dust-collecting wheel guard, refer to the manual of the dust-collecting wheel guard.
Connecting a vacuum cleaner
Optional accessory
WARNING:
Never vacuum metal particles created by grinding/cutting/sanding operation. Metal particles created by such operation are so hot that they ignite dust and the filter inside the vacuum cleaner.
To avoid dusty environment caused by masonry cutting, use a dust-collecting wheel guard and a vacuum cleaner. Refer to the instruction manual attached to the dust-collecting wheel guard for assembling and using it.

- Dust-collecting wheel guard
- Hose of the vacuum cleaner
Installing or removing dust cover attachment
Optional accessory
CAUTION:
Always be sure that the tool is switched off and unplugged before installing or removing the dust cover attachment. Failure to do so causes damage to the tool or a personal injury.
Install the dust cover attachment to each specified position. For details, refer to the instruction manual of the dust cover attachment.
NOTICE:
Clean out the dust cover attachment when it is clogged with dust or foreign matters. Continuing operation with a clogged dust cover attachment will damage the tool.
OPERATION
- WARNING: It should never be necessary to force the tool. The weight of the tool applies ade-quate pressure. Forcing and excessive pressure could cause dangerous wheel breakage.
- WARNING: ALWAYS replace wheel if tool is dropped while grinding.
- WARNING: NEVER hit the workpiece with the wheel.
- WARNING: Avoid bouncing and snagging the wheel, especially when working corners, sharp edges etc. This can cause loss of control and kickback.
- WARNING: NEVER use tool with wood cutting blades and other saw blades. Such blades when used on a grinder frequently kick and cause loss of control leading to personal injury.
- WARNING: Continued use of a worn-out wheel may result in wheel explosion and serious personal injury.
- CAUTION: Never switch on the tool when it is in contact with the workpiece, it may cause an injury to operator.
- CAUTION: Always wear safety goggles or a face shield during operation.
- CAUTION: After the operation, always switch off the tool and wait until the wheel has come to a complete stop before putting the tool down.
- CAUTION: ALWAYS hold the tool firmly with one hand on housing and the other on the side grip (handle).
NOTE:
A dual-purpose wheel can be used for both grinding and cutting-off operations. Refer to the “Operation with wheel/disc” for grinding operation, and refer to the “Operation with abrasive cut-off/diamond wheel” for cutting-off operation.
Operation with wheel/disc

Turn the tool on and then apply the wheel or disc to the workpiece. In general, keep the edge of the wheel or disc at an angle of about 15° to the workpiece surface. During the break-in period with a new wheel, do not work the grinder in a forward direction or it may cut into the workpiece. Once the edge of the wheel has been rounded off by use, the wheel may be worked in both forward and backward directions.
Operation with abrasive cut-off/diamond wheel
Optional accessory
- WARNING: Do not “jam” the wheel or apply excessive pressure. Do not attempt to make an excessive depth of cut. Overstressing the wheel increases the loading and susceptibility to twisting or binding of the wheel in the cut and the possibility of kickback, wheel breakage and overheating of the motor may occur.
- WARNING: Do not start the cutting operation in the workpiece. Let the wheel reach full speed and carefully enter into the cut moving the tool forward over the workpiece surface. The wheel may bind, walk up or kick back if the power tool is started in the workpiece.
- WARNING: During cutting operations, never change the angle of the wheel. Placing side pressure on the cut-off wheel (as in grinding) will cause the wheel to crack and break, causing serious per-sonal injury.
- WARNING: A diamond wheel shall be oper-ated perpendicular to the material being cut.
Usage example: operation with abrasive cut-off wheel

Usage example: operation with diamond wheel

Operation with wire cup brush
Optional accessory
CAUTION:
Check the operation of the brush by running tool with no load, ensuring that no one is in front of or in line with brush.
Usage example: operation with wire cup brush

NOTICE:
Avoid applying too much pressure which causes over bending of wires when using brush. It may lead to premature breakage.
Operation with wire wheel brush
Optional accessory
CAUTION:
Check the operation of wire wheel brush by running tool with no load, ensuring that no one is in front of or in line with the wire wheel brush.
Usage example: operation with wire wheel brush

NOTICE:
Avoid applying too much pressure which causes over bending of wires when using wire wheel brush. It may lead to premature breakage.
Operation with hole cutter
Optional accessory
- CAUTION: Check operation of the hole cutter by running the tool with no load, insuring that no one is in front of the hole cutter.
- NOTICE: Do not tilt the tool during operation. It may lead to premature breakage.
Usage example: operation with hole cutter

MAINTENANCE
- CAUTION: Always be sure that the tool is switched off and unplugged before attempting to perform inspection or maintenance.
- NOTICE: Never use gasoline, benzine, thinner, alcohol or the like. Discoloration, deformation or cracks may result.
To maintain product SAFETY and RELIABILITY, repairs, any other maintenance or adjustment should be performed by Makita Authorized or Factory Service Centers, always using Makita replacement parts.
Air vent cleaning
The tool and its air vents have to be kept clean. Regularly clean the tool’s air vents or whenever the vents start to become obstructed.
- Exhaust vent
- Inhalation vent
COMBINATION OF APPLICATIONS AND ACCESSORIES
Optional accessory
CAUTION:
Using the tool with incorrect guards can cause risks as follows.
- When using a cut-off wheel guard for facial grinding, the wheel guard may interfere with the workpiece causing poor control.
- When using a grinding wheel guard for cutting-off operations with bonded abrasive wheels and diamond wheels, there is an increased risk of exposure to rotating wheels, emitted sparks and particles, as well as exposure to wheel fragments in the event of a wheel burst.
- When using a cut-off wheel guard or grinding wheel guard for facial operations with cup-type diamond wheels, the wheel guard may interfere with the workpiece causing poor control.
- When using a cut-off wheel guard or grinding wheel guard with a wheel-type wire brush with a thickness greater than the maximum thickness as specified in “SPECIFICATIONS”, the wires may catch on the guard leading to the breaking of wires.
- The use of dust-collecting wheel guards for cutting-off and facial operations in concrete or masonry reduces the risk of exposure to dust.
- When using dual-purpose (combined grinding and cutting-off abrasive) flange-mounted wheels, only use a cut-off wheel guard.

Only for model GA4590/GA4592/GA5090/GA5092
| – | Application | 115 mm (4-1/2″) model | 125 mm (5″) model |
| 1 | – | Side grip | |
| 2 | – | Wheel Guard (for grinding wheel) | |
| 3 | – | Inner flange / Super flange *1*2 | |
| 4 | Grinding / Sanding | Depressed center wheel / Flap disc | |
| 5 | – | Lock nut | |
| 6 | – | Ezynut *1*2 | |
| 7 | – | Back up pad | |
| 8 | Grinding / Sanding | Flex wheel | |
| 9 | – | Rubber pad 100 | Rubber pad 115 |
| 10 | Sanding | Abrasive disc | |
| 11 | – | Sanding lock nut | |
| 12 | Wire brushing | Wire wheel brush | |
| – | Application | 115 mm (4-1/2″) model | 125 mm (5″) model |
| 13 | Wire brushing | Wire cup brush | |
| 14 | Hole cutting | Hole cutter | |
| 15 | – | Wheel Guard (for cut-off wheel) | |
| 16 | Cutting-off | Abrasive cut-off wheel / Diamond wheel | |
| 17 | Grinding / Cutting-off | Dual purpose wheel | |
| 18 | – | Clip-on cutting wheel guard attachment *3 | |
| 19 | – | Dust collecting wheel guard for cutting-off | |
| 20 | Cutting-off | Diamond wheel | |
| 21 | – | Dust collecting wheel guard for grinding | |
| 22 | Grinding | Cup-type diamond wheel | |
| – | – | Lock nut wrench | |
| – | – | Dust cover attachment | |
Only for model GA4591/GA5091
| – | Application | 115 mm (4-1/2″) model | 125 mm (5″) model |
| 1 | – | Side grip | |
| 2 | – | Wheel Guard (for grinding wheel) | |
| 3 | – | Inner flange | |
| 4 | Grinding / Sanding | Depressed center wheel / Flap disc | |
| 5 | – | Lock nut | |
| 6 | – | Ezynut *1*2 | |
| 7 | – | Back up pad | |
| 8 | Grinding / Sanding | Flex wheel | |
| 9 | – | Rubber pad 100 | Rubber pad 115 |
| 10 | Sanding | Abrasive disc | |
| 11 | – | Sanding lock nut | |
| 12 | Wire brushing | Wire wheel brush | |
| 13 | Wire brushing | Wire cup brush | |
| 14 | Hole cutting | Hole cutter | |
| 15 | – | Wheel Guard (for cut-off wheel) | |
| 16 | Cutting-off | Abrasive cut-off wheel / Diamond wheel | |
| 17 | Grinding / Cutting-off | Dual purpose wheel | |
| 18 | – | Clip-on cutting wheel guard attachment *3 | |
| 19 | – | Dust collecting wheel guard for cutting-off | |
| 20 | Cutting-off | Diamond wheel | |
| 21 | – | Dust collecting wheel guard for grinding | |
| 22 | Grinding | Cup-type diamond wheel | |
| – | – | Lock nut wrench | |
| – | – | Dust cover attachment | |
- NOTE: Do not use Super Flange and Ezynut together.
- NOTE: Only for tools with M14 spindle thread.
- NOTE: Clip-on cutting wheel guard attachment is not available in some countries. For more details, refer to the instruction manual of the clip-on cutting wheel guard attachment.
- NOTE: Do not use a Super flange with a grinder equipped with a brake function.
OPTIONAL ACCESSORIES
CAUTION:
These accessories or attachments are recommended for use with your Makita tool specified in this manual. The use of any other accessories or attachments might present a risk of injury to persons. Only use accessory or attachment for its stated purpose.
If you need any assistance with more details regarding these accessories, ask your local Makita Service Center.
- Accessories listed in “COMBINATION OF APPLICATIONS AND ACCESSORIES”
NOTE:
Some items in the list may be included in the tool package as standard accessories. They may differ from country to country.
Makita Europe N.V.
Jan-Baptist Vinkstraat 2, 3070 Kortenberg, Belgium
Makita Corporation
3-11-8, Sumiyoshi-cho, Anjo, Aichi 446-8502 Japan
www.makita.com.



























