1046/3146 Universal Pump
Instructions Manual


IMPORTANT SAFETY INSTRUCTIONS
WARNING – To guard against injury, basic safety precautions should be observed, including the following.
FOR HOUSEHOLD USE ONLY
WARNING! RISK OF ELECTRIC SHOCK!
This pump has not been investigated for use in swimming pool areas!
DO NOT RUN DRY!
a) READ AND FOLLOW ALL SAFETY INSTRUCTIONS
b) DANGER – To avoid possible electric shock, special care should be taken since water is employed in the use of aquarium equipment. For each of the following situations, do not attempt repairs by yourself; return the appliance to an authorized service facility for service or discard the appliance.
1) If the appliance falls into the water, DON’T reach for it! First, unplug it and then retrieve it. If electrical components of the appliance get wet, unplug the appliance immediately. (Non-immersible equipment only)
2) If the appliance shows any sign of abnormal water leakage, immediately unplug it from the power source. (Immersible equipment only).
3) Carefully examine the appliance after installation. It should not be plugged in if there is water on parts not intended to be wet.
4) Do not operate any appliance if it has a damaged cord or plug, or if it is malfunctioning or has been dropped or damaged in any manner.
5) To avoid the possibility of the appliance plug or receptacle getting wet, position the aquarium stands and tank to one side of a wall-mounted receptacle to prevent water from dripping onto the receptacle or plug.
A ”drip-loop”, shown in the figure, should be arranged by the user for each cord connecting an aquarium appliance to a receptacle.
The ”drip-loop” is that part of the cord below the level of the receptacle, or the connector if an extension cord is used, to prevent water from traveling along the cord and coming in contact with the receptacle.
If the plug or socket does get wet, DON’T unplugs the cord. Disconnect the fuse or circuit breaker that supplies power to the appliance. Then unplug and examine for the presence of water in the receptacle.
c) Close supervision is necessary when any appliance is used by or near children.
d) To avoid injury, do not contact moving parts or hot parts such as heaters, reflectors, lamp bulbs, and the like.
e) Always unplug an appliance from an outlet when not in use, before putting on or taking off parts, and before cleaning. Never yank the cord to pull the plug from the outlet. Grasp the plug and pull to disconnect.
f) Do not use an appliance for other than intended use. The use of attachments not recommended or sold by the appliance manufacturer may cause an unsafe condition.
g) Do not install or store the appliances where they will be exposed to the weather or to temperatures below freezing.
h) Make sure an appliance mounted on a tank is securely installed before operating it.
i) Read and observe all the important notices on the appliance.
j) If an extension cord is necessary, a cord with a proper rating should be used. A cord rated for fewer amperes or watts than the appliance rating may overheat. Care should be taken to arrange the cord so that it will not be tripped over or pulled.
k) This appliance has a polarized plug (one blade is wider than the other). As a safety feature, this plug will fit in a polarized outlet only one way. If the plug does not fit fully in the outlet, reverse the plug. If it still does not fit, contact a qualified electrician.
Never use an extension cord unless the plug can be fully inserted. Do not attempt to defeat this safety feature.
Exception: This instruction may be omitted for an appliance that is not provided with a polarized attachment plug.
l) ”SAVE THESE INSTRUCTIONS”.
WARNING! Risk of electric shock.
This pump is supplied with a grounding conductor and grounding-type attachment plug. To reduce the risk of electric shock, be certain that it is connected only to a properly grounded, grounding-type receptacle, in a circuit protected by a ground fault circuit interrupter.
GROUNDING INSTRUCTIONS
This appliance should be grounded to minimize the possibility of electric shock. This appliance is equipped with an electric cord having an equipment-grounding conductor and a grounding-type plug. The plug must be plugged into an outlet that is properly installed and grounded in accordance with all appropriate codes and ordinances.
This appliance is for use on a nominal 120 V circuit and has a grounding plug that looks like the plug illustrated in Sketch A. A temporary adapter that looks like the adapter illustrated in Sketches B and C may be used to connect this plug to a two-pole receptacle as shown in Sketch B if a properly grounded outlet is not available. The temporary adapter should be used only until a properly grounded outlet can be installed by a qualified electrician. The green-colored rigid ear (lug, etc.) extending from the adapter must be fastened to a permanent ground such as a properly grounded outlet box.
Thank you
for purchasing your new EHEIM pump that provides optimum performance with maximum safety and reliability.
Safety instructions
Read the operating and safety instructions carefully and comply with all instructions prior to operating this device. Keep these operating instructions in a safe place.
All electrical equipment in the water must be disconnected from the mains during care and maintenance work.
The connecting line of this device can not be replaced. When the line is damaged, the device must no longer be used. Never carry the pump by the cable; do not bend the cable.
The pumps may only be used in garden ponds and their area of protection if installed according to prevailing regulations. As a means of protection against overly high shock hazard voltage, the installation must show a leakage current safety guard with a rated residual current of no more than 30 mA. Please consult your electrician.
This equipment can be used by children above the age of 8 or by persons with reduced physical, mental or sensory capacities or a lack of experience or knowledge, provided they are supervised or have received instruction in the safe use of the equipment and therefore understand the risks involved. Do not allow children to play with this equipment. Do not allow children to clean or conduct user maintenance without supervision.
For your own safety, we recommend that you make a drip loop with the power cord. This drip loop prevents any water running along the cord from reaching the electrical socket. If an extension lead with several sockets or an external power supply is used, place it above the pump power connection.
Ι 20 cm Ι
Notice: These devices produce magnetic fields which might cause electronic and mechanical disturbances or damage. This also refers to pacemakers. Please consult the manuals of medical equipment for the required safety margins.
Attention: Maintenance work presents the risk of crushing the fingers due to high magnetic forces.
Do not clean the unit – or parts of it – in the dishwater. Not dishwater resistant.
Do not dispose of this product as normal household waste. Take it to your local refuse collection site.
The product is qualified in accordance with the respective national regulations and guidelines and meets EC standards.
Universal Pump 1046019 – 1046209
– suitable for outdoor use –
Model: see the type plate on the pump housing
Function
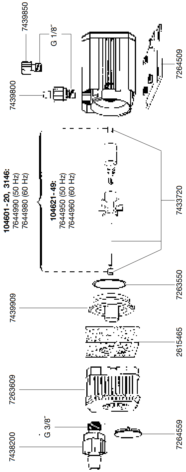
A
- Motor body
- fixing plate
- threaded adaptor, pressure side
- impeller-set
- pump cover with O-ring
- coarse filter
- suction grille
- threaded adaptor, suction side
- cap.
The pump can be used both in and out of the water. It is not self-priming and to operate, must therefore be positioned on the outside of the tank – below the water level. Putting into operation
To make it operate, suck briefly at the end of the pressure hose until water flows to the pump. Do not insert the power supply plug until you have done this.
A brief noise when the pump starts up is normal.
There are several alternatives for using the hobby pump; when used out of the water it is preferable to work through the suction nozzle with a hose. If the pump is used in the water, it may be operated only through the incorporated prefilter. For this purpose remove the suction nozzle and cover the suction aperture with the attached cap.
There are two optional connection variations on the pressure side: the threaded adaptor for the assembly of a pressure hose or an adaptor for the ascending pipe.
B/C The fixing plate can be transposed for universal pump assembly.
Servicing and maintenance
D/E Remove the power supply plug. Remove the suction grille (squeeze sides lightly) and rinse the coarse filter under running water.
If water is badly contaminated, clean the filter more frequently. If the pump is badly contaminated on the suction or pressure side, this will simply lead to noise – time for a thorough cleaning.
Release pump cover (D) and remove pump parts as per drawing (A). Clean pump vigorously with a set of EHEIM cleaning brushes (order no. 4009570) as shown in fig. E: Clean pump parts under running water and reassemble in the same sequence.
Fountain pumps 3146010 – 3146200
Model: see type plate on the pump housing
Function
F
- Pump complete with coarse filter
- cap
- adaptor piece
- rising pipe
- nozzle head.
The water intake of the pump occurs through the incorporated prefilter. Slip regulating clip over the hole of pipe. Place the riser pipe into the adaptor and attach the nozzle head.
Universal centrifugal pumps 1046219 – 1046499
– not suitable for outdoor use –
Model: see the type plate on the pump housing
Similar to 1046019, but with 1.7 m PVC-cable. Not suitable for outdoor use, neither in swimming pools nor garden ponds.
| Typ | 1046 | 1046 | 3146 | ||||
| No. | 1046019 – 1046209 | 1046219 – 1046499 | 3146010 – 3146200 | ||||
| No. | No. | No. | |||||
| 230V/50Hz | EU D | 1046019 | 10 m | 1046219 | 1,5 m | 3146010 | 10 m |
| CH | – | – | 1046249 | 1,5 m | – | – | |
| 100V/50Hz | J | – | – | 1046289 | 2,0 m | – | – |
| 100V/60Hz | – | – | 1046329 | 2,0 m | – | – | |
| 120V/60Hz | USA | – | – | 1046319 | 2,0 m | 3146090 | 5 m |
| 240V/50Hz | GB | 1046119 | 3 m | – | – | – | – |
| AUS | 1046129 | 5 m | – | – | – | – | |
| Dimensions: | h x l x w | 103 x 146 x 75 mm 4.1 x 5.7 x 3.0 in. | 321 x 112 x 75 mm 12.6 x 4.4 x 3.0 in. | ||||
| Threaded adaptor, suction side | Ø 13 mm / G 3/8 Ø 0.5 in. / G 3/8 | G 3/8 | |||||
| Threaded adaptor, pressure side | Ø 11 mm / G 1/8 Ø 0.4 in. / G 1/8 | G 1/8 | |||||
| Pump output | 300 l/h 66 Imp. gal./h 79 U.S. gal./h | ||||||
| Delivery head | wat. col. | 1,2 m 3 ft. / 11 in. | |||||
| Power consumption | 5 W | ||||||

EHEIM GmbH & Co. KG
Plochinger Str. 54
73779 Deizisau
Germany
Tel. +49 7153/70 02-01
Fax +49 7153/70 02-174
www.eheim.com
© EHEIM. Printed in Germany. Imprimé en Allemagne.
72 63 980 / 08.15 – avw



















