Wellis VW00021 Plastic Flexible Drain Hose To 102mm Soil Pipe Toilet Pan Connector

Note: this installation instruction is made for the final user. In order to use the product well. please install it correctly.
Block diagram
Step of Installation
The installation way on tunnel distance 220mm.
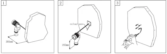
- As the picture: Set the pop-up waste bend pipe (D on the exculding entrance, and finish the installation of the Screw pole ®, Locating board ®· (suggest saw the screw pole about 130mm shorter). in order to ensure the dimension (kindly please measure on the spot practically).
- Attention:the distance between the center of the pop-up waste bend pipe G) and the floor should be 185mm, and find out the position on the wall with colour pen.
- As the picture:Drill a hole for diameter 6, deep 30mm on the mark with the impact driller. Finally install the expand rubber nail (7).

- As the picture:Install the screw 8 together with the locating board 2 on the expand rubber nail 7, and tighten with the screw 8 with the screwdriver.
- Lightly set the W. C Bowl @ with the pop-up waste bend pipe (D from up to down, and put it down slowly.
- As the picture:Move forward the W. C Bowl 6 , make much room between the back of the W. C bowl and wall for the installation of the Screw pole 3.

- Install the screw pole 8 according to the picture 8 and picture 9.
- Put the A into the proper clip location as the picture, and loose the two nuts 4, finally complete the connection between the screw pole 3 and the locating board 2 in vertical way.
- In order to fix up the pop-up waste bend pipe (1, please tighten the screw 8 with the spanner, and then connect the inlet pipe.

- Move the W. C Bowl to the wall slowly as picture in order to make it close to the pop-up waste bend pipe G), without any leaking.
- As the picture, test-water after complete the installation so that to check up whether water leaks out from the bottom of the W. C bowl or not.
- Finally, attach the bottom of the W. C bowl and the floor with glass-glue.























