Fire Cam 1080
User Manual


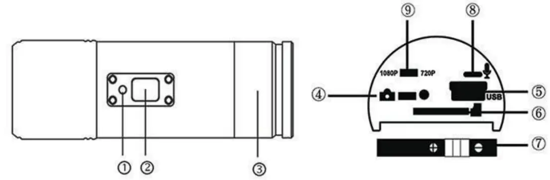
OVERVIEW

- LED
- Power / Shutter
- Rear Cap
- Mode Switch
- USB
- Micro SD Card Slot
- Battery
- Microphone
- 1080P / 720P Mode Switch
INITIAL SET UP
Unscrew the rear audio cap ③. Insert battery into battery slot ⑦. Make sure the camera is OFF before adding or removing the micro SD memory card. Insert the card, label facing down, into the rear card slot ⑥ until it clicks to hold it. Plug the USB cable and charger into the camera ⑤. LED ① is green while charging. It will go off when the battery is fully charged. Allow at least 2-3 hours on the first charge. Recording time averages around 110 minutes on a fully charged battery.
Micro SD Card Requirements
The camera will only operate a FAT32 formatted micro SD memory card, up to 128GB. A minimum speed of Class 10 / U1 is required. Upon startup, the camera will automatically convert 64gb and 128gb exFAT cards to the FAT32 format.
DO NOT store any other data on the micro SD memory card being used in the camera.
Memory cards should be formatted for the trouble-free performance of the camera on first use and after transferring video files. All data will be erased when formatting so make sure all important video files are transferred first.
Fire Cam recommends SD Card Formatter at:
https://www.sdcard.org/downloads/formatter_4/
Rear Cap Options
WATER RESISTANT AUDIO CAP (WITH HOLE) is used for standard firefighting conditions and enables the camera to be water-resistant but NOT waterproof underwater. The hole allows audio to enter the unit for recording.
WATERPROOF CAP (WITH NO HOLE / NO AUDIO) is used for heavy water conditions which can submerge the camera. You will need to use 2 O-rings and add some silicon grease from time to time, especially before using underwater. Make sure the rear WATERPROOF CAP (no hole) is firmly closed.

Take Video with Fire Cam 1080
Make sure the Mode Switch on the back of the camera is set to the right for Video mode and the 1080p/720p Mode Switch is selected to the desired resolution. Turn on the Fire Cam 1080 by pressing the Power/Shutter button once. The BLUE LED will come on and the RED LED will flash. The camera will vibrate, beep, and start recording
automatically.
To STOP recording and save a file, simply press the button once. This will save the file to the SD card. The BLUE LED will remain on and in standby mode. In stand-by
mode, recording can be started again by pressing the button. During operation, video files will automatically be saved every 5 minutes. You may choose to have files saved every 5, 10, 15, 20, or 30 minutes in the Setting.txt file.
Turn OFF the Fire Cam 1080 by holding the button down for more than 2 seconds. The RED LED flashes and the unit will beep 6 times and turn OFF.
720p resolution records approx.. 480 minutes of video on a 32gb card. 1080p resolution records approx.. 400 minutes of video on a 32gb card.
* If no micro SD card is installed, the LED will flash red and blue.
* If the battery is not charged, the camera will turn on and shut off immediately.
* Format micro SD memory card if LED remains a solid light after power on.
**For smooth playback of your videos recorded by Fire Cam cameras, download
VLC Media Player at:
https://www.videolan.org/vlc/index.html
SETTING.TXT FILE

**When making changes in SETTING.TXT, click ‘File>Save’ and restart camera for settings to take effect.
VIDEO_TIME (Segmentation)
Default = 5min. You may choose 10min/15min/20min 30min
LOOP_RECORD
If turned on, the camera will record the oldest video files when the sd card is full.
DATE_STAMP
Y = show the date & time stamp on videos and photos
N = do not show the date & time stamp on videos and photos
AUDIO_RECORD
Turning it off will eliminate audio from recorded video.
AUTO_RECORD
Turning off will prevent auto recording when the camera is powered on.
Recording can be started manually by pressing the button again after pwr on.
AUTO_POWER_OFF
Set time for camera to power off automatically after 3min/5min/10min when in standby mode (not recording). 0 = no auto power off
TIME_SET
YYYY.MM.DD hh:mm:ss
Y = year
h = hour
M = month
m = minutes
D = day
s = second
The “N” must be changed to a “Y” when updating the time/date.
DEFAULT_SETTING
Changing “0” to “1” will restore all settings to factory defaults.
Take Still Pictures
To take still pictures with the Fire Cam 1080, make sure that the Video/Photoswitch is set to the left for Photo mode. Turn on the Fire Cam 1080 by pressing the Power button. The camera will start taking photos automatically, the red LED will blink. Press the Power/ Shutter button again to stop taking photos and to go back to standby mode. In photo mode, the Fire Cam 1080 will take photos every 3 seconds. It stops automatically if the battery is empty or if the micro SD card is full. A 32gb card can hold approx.. 10000 photos.
Transfer files on your computer
Unscrew the rear cap, switch to the right for video mode, connect with your computer via USB cable from the USB port, then turn on the camera. The camera will recognize automatically a USB device. Or you can take out the micro SD card and use your own card reader to connect with your computer.
The camera must be powered on while connected to the computer for data download. Don’t remove the battery! When you remove the battery while the video is playing, damage to your video data will occur!
Do not remove the USB cable under “Mass Storage” status! Please switch off the camera before removing the USB cable!
Caution
On a MAC
Simply plug the Fire Cam 1080 into your MAC with the included USB cable, turn the camera on and the MAC OS will recognize the Fire Cam 1080 as an external hard drive.
IMPORTANT TIP FOR MAC USERS
When deleting files from your Micro SD card, you must empty the trash before removing it or unplugging the Fire Cam 1080. If you do not empty your trash, the photos and video files will not be erased from your card.
| Status Table | Green LED | Red LED | Blue LED |
| Standby | Off | Off | On |
| Battery Charging | On | Off | Off |
| Taking Video | Off | Flashing | On |
| Taking Photo | Off | Flashing | On |
| Low Battery | Off | Speedy Flashing | On |
| No micro SD Card | Off | On | |
| Micro SD Card Fill Up | Off | On | |
| Data Transfer | Off | On |
Technical Specifications – subject to change without notice
Optics:
- FISHEYE view @1080p
- Ultra Wide Angle view @720p Mode
- f/1.8, fixed focus glass lens
- optical lens: 15mm FISHEYE Lens
- Lens Construction: 5 Elements
Video:
- Full HD Resolution Settings: 1080p: 1920x 1080 @ 30fps
- HD Resolution Settings: 720p: 1280x 720 @ 60fps
- Video Format: MOV
- Exposure Control: Auto
- White Balance: Auto
Audio:
- Built-in microphone
Photo:
- Resolution: 4032 x 3024
- Camera: 12.0 Mega Pixels
- Format: JPEG
- Capture mode: Auto snapshot every 3 seconds
Storage:
- Memory: Micro SDHC SD card up to 64GB(Fat32) capacity (required Class 6 or 10)
- Avg. Record Time: 5~10min/GB
Product size: 110 x 32 x 32 mm Weight: 110g
Glass Lens Replacement
The protective glass lens in the cap is replaceable if cracked by an impact. Unscrew the lens cap from the camera body. On the inside of the cap is a thick washer to remove. Insert small needle-nose or snap ring pliers or similar tools into the 2 holes in the washer and unscrew. Remove the glass lens and reuse the o-ring that goes between the cap and glass for a waterproof seal. Insert new glass lens onto o-ring and screw washer on. Do not overtighten the washer.
Mounting Fire Cam BlackJack Holder

With set screws loose, fit the BlackJack mount on the right or left brim of the fire helmet. It can be installed above the brim or below the brim depending on the view from your camera. If under the brim, the camera can be installed upside down to expose the power button. The video player can flip the image upright for playback.
Snug the 2 set screws on the brim BEING CAREFUL NOT TO OVERTIGHTEN. Place the camera inside of the BlackJack mount making sure the button is on the top and the camera is level. Tighten down the set screw to hold the camera BEING CAREFUL NOT TO OVERTIGHTEN. If the nylon tip set screw starts to make marks on the camera, this will not damage the integrity of the unit. A small piece of black tape can help limit the marks.
**Replacement screws and wrench are available on the website to purchase
Battery Notes:
*Average cycle life of the battery is between 1-2 years depending on use and will need replacement. Replace when operating time is reduced.
*Batteries may need to be recharged if the camera is not used regularly.
Additional batteries, external battery charger, and mounting options are available at
www.firecam.com.
Contact Fire Cam Support at 618-416-8390, M-F Central, or [email protected] for assistance or replacement parts.
WARRANTY / DISCLAIMER:
Abuse of Camera IS NOT covered under warranty. Fire Cam warrants its products against defects in material or workmanship for 12 months from the date of purchase unless otherwise specified. The Fire Cam Mini HD and the Fire Cam 1080 Fire Helmet Cameras warranty are limited to the replacement or repair of the defective item at no charge if we determine the item to be defective. This warranty shall not apply to any item subject to misuse including such as failure by the buyer to follow instructions, product modification, ordinary wear and tear, negligent or improper operation. Abuse of camera, cable, or accessories IS NOT covered under the warranty. Fire Cam products are not recommended for concrete training towers or flashover chambers where they could sustain high temps for long periods of time. Electronic damage due to over-voltage, incorrect polarity from product power supplies, or incorrect MAINS voltage is not covered under the warranty. DO NOT USE ANY AFTERMARKET CHARGERS FOR YOUR CAMERAS. Fire Cam chargers are designed specifically for Fire Cam only. Modification, repair, or attempted repair by anyone other than Fire Cam or without the written permission of Fire Cam will void this warranty. This warranty covers the cost of factory repair, labor, and parts on eligible equipment which is returned. Equipment, which is repaired under this warranty will be returned freight prepaid. If it is determined that the Fire Cam does not need repair, the purchaser shall pay for return shipping charges. Disclaimer: Fire Cam does not assume any responsibility for any accidents or injuries incurred to the user of the Fire Cam Fire Helmet Camera.
WARNING!
Firefighting is a dangerous activity and should only be performed by a trained professional. The end-user of Fire Cam products assumes all responsibility connected with the use of this product including but not limited to continuing education, and activity that conforms to local Standard Operating Procedures. Neither the manufacturer nor any distributor assumes any liability for injuries sustained while using Fire Cam products. The Fire Cam® Fire Helmet Cameras™ are manufactured of anodized aluminum and may retain heat for several minutes after being exposed to a heated environment such as a structure re or training re so it needs to be handled with care. The end-user is responsible for installation consistent with the mounting instructions, as well as regular safety inspections of the BlackJack Holder and Fire Cam Fire Helmet Cameras. For further questions, please go to www.FireCam.com under the “contact us” page.
Returns:
3 REASONS FOR RETURNS:
- Defective item.
- Wrong item received.
- Departmental policy that prevents the use of the camera.
*All returns must be authorized. *
To receive authorization for a return, you must contact customer service at www.FireCam.com under the Contact Us page to obtain a Return Authorization number known as an RA #. Upon approval, an RA form will be emailed which must be completed in full and returned with item(s). All returns that are not exchanged for another item can be refunded only within 14 days of the original purchase date and refund is subject to a 15% restocking fee the item MUST be UNUSED / NOT DAMAGED and in the ORIGINAL box. If the requested items are not in stock by the time we process your RA, your credit card will be refunded for the value of the items returned to our warehouse to avoid further delay on your request. (in which case the 15% restocking fee will be waived). Once you receive your RA #, you must ship the item(s) back within 7 business days to receive an exchange or the RA # will become null and void. You will be responsible for the return shipping costs. We do not refund shipping costs on returns and or exchanges. Pack your item(s) in the original shipping box if possible and insure your package for the full value of the merchandise and return it to us using the delivery service of your choice. We are not responsible for lost or damaged return packages. We will notify you via e-mail once your return has been processed.
Depending on where you purchased your Fire Cam®, some cameras may be covered under the “Fire Cam Damage” warranty throughout the warranty period. If your camera’s components accidentally get damaged in a fire, you are covered for one FREE replacement. This warranty ONLY applies to customers who purchase directly from Fire Cam unless a distributor of Fire Cam otherwise specifies. Fire Cam products are not recommended for concrete training towers or flashover chambers where it could sustain high temps for long periods of time and this warranty will not apply to repeated abuse of the product. We are the ONLY Fire Helmet Camera™ manufacturer and the ONLY company that offers this type of warranty. Please go to www.FireCam.com for more information.


















