hama 00118077 TV Wall Bracket Instruction Manual
Thank you for choosing a Hama product.
Take your time and read the following instructions and information completely. Please keep these instructions in a safe place for future reference. If you sell the device, please pass these operating instructions on to the new owner.
Required Tools
Installations tools
- (A1) 6×55 (x4)

- (A2) Ø10×50 (x4)


- (A3) M6 (x4)

- (B1) M6 (x4)

- (B2) Ø8×10 (x4)

- (B3) Ø8×20 (x4)

- (C1) M6x12 (x4)

- (C2) M6x20 (x4)

- (D1) M8x12 (x4)

- (D2) M8x20 (x4)

- (D3) M8x30 (x4)

- (E1) M4x12 (x4)

- (E2) M4x20 (x4)

- (E3) M4x45 (x4)

- (F1) (x2)

- (F2) (x1)

- (F3) (x1)

Assembling Instructions
Explanation of Warning Symbols and Notes
Warning
This symbol is used to indicate safety instructions or to draw your attention to specific hazards and risks.
Note
This symbol is used to indicate additional information or important notes.
Package Contents
- TV wall bracket
- Installation kit (see contents, Fig. 1)

- These operating instructions
Note
Please check that the installation kit is complete before installing the bracket and ensure that none of the parts are faulty or damaged.
Safety Notes
Warning
- Given the multitude of terminal devices and wall structures available on the market, the supplied mounting kit is unable to cover every option.
- It occasionally happens that the screws for attaching the terminal device to the wall bracket are too long.
- Please note that the supplied wall plugs are for use with concrete brick and solid brick walls only.
- Read the operating instructions for your terminal device before attempting to mount it. The instructions provide information about the type and measurements of suitable fastening materials.
- If the supplied mounting kit does not contain suitable fastening materials for mounting the terminal device, purchase these from a specialized dealer.
- If the wall on which the bracket is to be mounted is made of different material types and construction types to those specified, purchase suitable mounting materials from a specialized dealer.
- Never apply force during mounting. This can damage your end device or wall bracket.
- If in doubt, have this product mounted by a qualified technician – do not attempt to mount it yourself!
Note – Commercial use
- If the device is used commercially, increased duty of care requirements apply.
- Therefore, please observe the accident prevention regulations of the German employer’s liability insurance association for electrical systems and equipment. Please also observe all accident prevention regulations from other applicable employer’s liability insurance associations and accident insurance companies, as well as any legal regulations applicable to the particular industry and/or location.
- The wall bracket must be installed by trained personnel or by a special technician, especially when installed in schools, educational institutions, hobby/self-service workshops or other publicly accessible institutions.
- Secure the product and the attached load against falling using suitable equipment (e.g. an arresting cable) and in accordance with locally applicable regulations. We strongly recommend these additional safeguards even if they are not legally required.
- Have trained personnel carry out regular inspections to ensure that the product is securely installed, properly functioning and in acceptable condition (we recommend inspections at least every 6 months, or more frequently if required for the particular location) and then document these inspections.
- Do not mount the product above locations where persons might linger.
- Once you have mounted the product and the attached load, check that they are sufficiently secure and safe to use.
- You should repeat this check at regular intervals (at least every three months).
- When doing so, ensure that the product does not exceed its maximum permitted carrying capacity and that no load exceeding the maximum permitted dimensions is attached.
- Make sure that the product is loaded symmetrically.
- During adjustment, ensure that the product is loaded symmetrically and that the maximum permitted carrying capacity is not exceeded.
- Maintain the necessary safety clearance around the attached load (depending on the model).
- In the event of damage to the product, remove the attached load and stop using the product.
Intended use and specifications
- The bracket is only intended for use within buildings.
- Use the bracket only for the intended purpose.
Maximum load bearing capacity: | 25 kg |
Screen size: | 48.0 – 122.0 cm (US: 19″ – 48″) |
Depth: | 4.5 – 51.0 cm |
Angle: | –15°/+ 5° |
Pivoting range: | up to 180° on 3 joints (depends on the device) |
Wall mounting plate dimensions: | 7.2 x 29.2 cm |
Mounting holes: | according to the VESA standard until 75×75 – 200×200 |
Installation requirements and installation
Note
- Only mount the TV wall bracket with the help of a second person. Get the support and help you need.
- Different end devices have different options for connecting cables and other devices. Before installation, ensure that the necessary connections will still be accessible after installation.
- The same mounting kit is included with all of our TV wall brackets. Depending on the product and mounting type, you may not need to use the entire mounting kit. Unneeded screws and other small parts may be left over, even if the wall bracket is properly mounted. Keep these leftover parts with the operating instructions in a safe place, just in case you might need them later on (e.g. should you move, sell the product, mount the wall bracket in a different location, buy a new TV, etc).
Warning
- This product is suitable for wall mounting only.
- Before installing the bracket, ensure that the wall on which the television is to be mounted is suitable for the weight and make sure that no electrical wires, water, gas or other lines are located at the installation location.
- Please note that the provided wall anchors are only approved for concrete and solid brick walls.
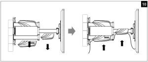
Observe the other warnings and safety instructions. - Proceed step-for-step in accordance with the illustrated installation instructions (Fig. 1 ff.).

- The shackle diameter of the padlock must be 4 mm or less. (Padlock not included in the extent of delivery)
Note
- Given the multitude of terminal devices available on the market, we cannot describe all possible mounting options here.
- Please ensure that the bracket lays flat and evenly on the back of the television.
- Use the enclosed spacer to even out any unevenness on the back of the television.
- Ensure that all screws have the proper length and can be mounted until they are hand-tight (see Fig. 3).

Setting and maintenance
Note
Only adjust the TV wall bracket with the help of a second person. Get the support and help you need.
- To secure, hang the TV plate and tighten the nuts.
- Screws do not have to be loosened for lateral movement.
- The resistance for the tilt adjustment and lateral movement can be adjusted using the corresponding screws.
- Check that the bracket is secure and safe to use at regular intervals (at least every three months). Only use water or standard household cleaners for cleaning.
Warranty Disclaimer
Hama GmbH & Co KG assumes no liability and provides no warranty for damage resulting from improper installation/mounting, improper use of the product or from failure to observe the operating instructions and/or safety notes.
Terms of warranty
HAMA GmbH & Co KG grants you an extended manufacturer’s warranty for this product that covers the freedom from defects, usability, workmanship and durability of the materials used for the specified period of 10 years. Compatibility of the product with future standards for further developed hardware is also excluded.
At the discretion of Hama GmbH & Co KG, valid warranty claims in this period will be resolved at no cost either by repair or replacement. The warranty period begins on the date of purchase of this product and is valid throughout the EU.
The warranty you are entitled to is in addition to your statutory rights and does not affect them. The warranty does not cover damage caused by improper use, normal wear and tear, exposure to chemicals, force majeure, or modifications or repairs performed by yourself or third parties.
Furthermore, this warranty does not cover accessories that are not included with the product as standard (promotional parts).
In the event of a warranty claim please write to us, enclosing proof of purchase, at Hama GmbH & Co KG, Dresdner Str. 9, 86653 Monheim, Germany. You are also free to contact us at www.hama.de or by telephone on +49 (0)9091/502-0.

Hama GmbH & Co KG
86652 Monheim/ Germany
Service & Support
www.hama.com
+49 9091 502-0
All listed brands are trademarks of the corresponding companies. Errors and omissions excepted, and subject to technical changes. Our general terms of delivery and payment are applied.





















































