MINKA LAVERY 2532-695 Spyglass Terrace 5 Light 26 Inch Pendant Ceiling Light

Product Information
The product is a light fixture with item number 2532-695 manufactured on May 20, 2022. The fixture includes a mounting plate, screws, ground wire, and can accommodate two candelabra base bulbs up to 60 watts each or CFL or LED equivalents. The fixture also includes wires for connecting to the house’s electrical system.
Product Usage Instructions
- Turn off power at the fuse box or circuit breaker box and remove the old fixture, including the mounting hardware.
- Unpack the new fixture and lay out all the parts in a clear area, being careful not to misplace any small parts necessary for installation.
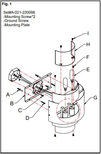
- Loosen screws (F) to remove the mounting plate (B) from fixture body (G). Position mounting plate (B) on the wall and mark the location of two drywall anchors (A). Pre-drill the holes for the drywall anchors (A) and insert them into the wall.
- Attach mounting plate (B) to the junction box using the mounting screws (C), ensuring that the side marked GND faces out. Screw wood screws (D) into the drywall anchor (A) to secure mounting plate (B).
- Install two candelabra base bulb (E) up to 60 watts each or CFL or LED equivalent (not included) in accordance with the fixture specification. Do not exceed the maximum wattage rating.
- Place metal plate (H) onto fixture body (G) and secure with screws (I).
- Connect the electrical wires as shown in Fig. 2, making sure that all wire connectors are secured. If your junction box has a ground wire (green or bare copper), connect the fixture’s ground wire to it. Otherwise, connect the fixture’s ground wire directly to the mounting plate (B) using the green screw provided. After the wires are connected, tuck them carefully inside the junction box.
- Place fixture body (G) over mounting plate (B) and fasten with screws (F).
- Turn power back on and test the fixture.
INSTALLATION INSTRUCTIONS
READ AND SAVE THESE INSTRUCTIONS
WARNING ! SHUT POWER OF FATF USE OR CIRCUIT BREAKER .
AVERTISSEMENT! COUPER LE COURANT AU NIVEAU DES FUSIBLES OU DU DISJONCTEUR.
MOUNTING THE FIXTURE (Fig.1)

- Shut off power at the fuse box or circuit breaker box and remove the old fixture including the mounting hardware.
- Carefully unpack your new fixture and lay out all the parts in a clear area. Take care not to misplace any small parts necessary for installation.
- Loosening screws (F) to remove the mounting plate (B) from fixture body (G). Position mounting plate (B) on the wall and mark the location of two drywall anchors (A). Pre-drill the holes for the drywall anchors (A). Insert the drywall anchors (A) into the wall.
- Attach mounting plate (B) to the junction box using the mounting screws (C). The side of the mounting plate
(B) marked “GND” must face out. - Screw wood screws (D) into the drywall anchor (A) to secure mounting plate (B) as shown in Fig.1.
- Loosen screws (I) to remove metal plate (H) from fixture body (G).
- Install (2) two candelabra base bulb (E) up to 60 watts each or CFL or LED equivalent (not included) in accordance with the fixture specification.
- DO NOT EXCEED THE MAXIMUM WATTAGE RATING!
- (NE PAS DEPASSER LA PUISSANCE NOMINALE MAXIMALE!)
- Place metal plate (H) onto fixture body (G) and secure with screws (I).
CONNECTING THE WIRES (Fig. 2) - Connect the electrical wires as shown in Fig. 2, making sure that all wire connectors are secured. If your junction box has a ground wire (green or bare copper), connect the fixture’s ground wire to it. Otherwise, connect the fixture’s ground wire directly to the mounting plate (B) using the green screw provided. After the wires are connected, tuck them carefully inside the junction box.
FINISHING THE INSTALLATION (Fig.1) - Place fixture body (G) over mounting plate (B) and fasten with screws (F).
Your installation is now complete. Return power and test the fixture.
Note: Illustration (Fig.1) on this manual is for installation purposes only. It may or may not be identical to the fixture purchased.
MIN 75℃ SUPPLY CONDUCTORS


CONNECTING THE WIRES (Fig. 2)











