
Instruction Sheet
408-9603
30 JUL 07 Rev C
Feed-Through Head Assembly 58442-1
For Discrete Wire MTA-100 Receptacles

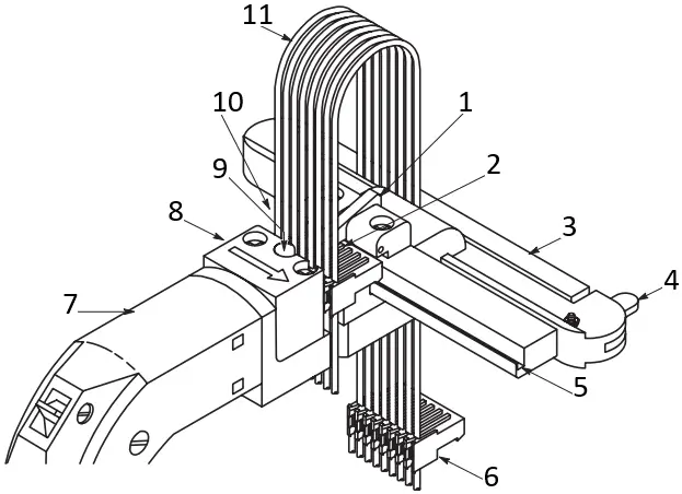
Figure 1
- Locating Pawl
- Feed Slide
- Rod Inserter Adjuster
- Wire Inserter (Hidden)
- Wire Subassembly Retainer
- Insert Housing
1. INTRODUCTION
Feed-Through Head Assembly 58442-1 is used to terminate discrete wires onto MTA-100 Receptacles 640620-[ ] (for wire size 22 AWG) and Receptacles 640623-[ ] (for wire size 28 AWG) with a maximum insulation diameter of 1.52 mm [.060 in.]. Read these instructions thoroughly before using the head.
The head must be mounted onto one of the following tools (for operating procedure for the tool, refer to the instructions packaged with the tool):
— Pistol Grip Manual Handle Assembly 58074-1 (408-6790)
— Electric Power Unit 931800-1 (409-5746)
— Pistol Grip Pneumatic Handle Assembly 58075-1 (408-6789)
— Pneumatic Power Bench Assembly 58338-1 (408-9393)
Dimensions in this instruction sheet are in metric units [with U.S. customary units in brackets]. Figures are not drawn to scale.
Reasons for reissue of this instruction sheet are provided in Section 8, REVISION SUMMARY.
2. DESCRIPTION
The head serves as a guide and support for the receptacle during termination.
Features of the head (shown in Figure 1) and functions are as follows:
Wire inserter–forces the wire into the two slotted beams of the contact. Note that it provides support for the contact beams when applying insertion force on the wire.
Rod inserter adjuster–is a piston for the wire inserter and regulates wire inserter travel.
Feed slide–automatically positions the receptacle after each termination.
Locating pawl–aligns the receptacle for insertion, and retains it during termination. The locating pawl is sometimes referred to as the “anti backup pawl.”
Insert housing–holds the receptacle in place in relation to the wires.
Wire subassembly retainer–holds the wires in place in relation to the receptacle.
3. TEST CRIMP AND HEAD ADJUSTMENTS
3.1. Test Crimp
- Make a termination according to Section 4, Steps 1 through 6. If the receptacle cannot be inserted into the head, or if the receptacle is too loose in the head, adjust the insert housing according to Paragraph 3.2.
- After making the test crimp, depress the locating pawl and push the receptacle out of the RIGHT side of the head.
- Inspect the termination according to Section 5. If necessary, make the following adjustment:
— For the manual handle assembly or electric power unit, if the wire is inserted too deep or not deep enough in the contact slot, adjust the wire insertion depth according to Paragraph 3.3. Then, repeat the termination procedure and inspection.
— For the pistol grip pneumatic handle assembly or pneumatic power bench assembly, if the wire is inserted too deep in the contact slot, adjust the wire insertion depth according to Paragraph 3.3. If the wire is not inserted deep enough in the contact slot, increase the air pressure by 69 kPa [10 psi], and repeat the termination and inspection procedure until either the proper insertion depth is obtained or the air pressure is set to 483 kPa [70 psi]. If the proper insertion depth is not reached at 483 kPa [70 psi], return the air pressure to 276 kPa [40 psi], and adjust the wire insertion depth according to Paragraph 3.3. Then, repeat the termination procedure and inspection.
3.2. Insert Housing Adjustment
If the receptacle cannot be inserted into the head, or if the receptacle is too loose in the head, loosen the two screws on the insert housing, and adjust the insert housing until the receptacle fits properly in the head.
3.3. Wire Insertion Depth Adjustment
- Remove the head from the tool.
- If the wire is inserted too deep, turn the rod inserter adjuster clockwise one-sixth of a revolution (the wire insertion depth will be decreased by approximately 0.20 mm [.008 in.]). If the wire is not inserted deep enough, turn the rod inserter adjuster counterclockwise one sixth of a revolution (the wire insertion depth will be increased by approximately 0.20 mm [.008 in.]). Refer to Figure 4.
4. TERMINATION PROCEDURE
1. Determine the wire size and select the appropriate receptacle (receptacles are color coded according to wire size).
2. Install the head onto the tool according to the instructions packaged with the tool.
3. Refer to Figure 2, and:
— for the electric power unit, insert the receptacle into the LEFT side of head (in the direction of the arrow) until the first contact aligns with the wire inserter.
— for the manual handle assembly, pistol grip pneumatic handle assembly, and pneumatic power bench assembly, depress and hold the trigger or foot pedal (the wire inserter should extend), and insert the receptacle into the LEFT side of head (in the direction of the arrow) until it stops, then release the trigger or foot pedal (the receptacle should advance so that the first contact aligns with the wire inserter).

Figure 2
- Locating Pawl
- Index Ribs of Receptacle
- Wire Sub-Assembly Retainer
- Retainer Latch
- Feed Slide
- Receptacle
- Pistol Grip Manual Handle Assembly (Ref)
- Left Side of Head
- Funnel Area
- Wire Inserter (Hidden)
- Discrete Wires
4. Check that the locating pawl is resting between the index ribs of the receptacle. See Figure 2. If not, push the receptacle out of the RIGHT side of the head, and re-insert it.
After making the test crimp, the wire sub-assembly retainer can be used (as shown in Figure 2) to hold and locate the wires during terminations. Pivot the retainer latch to open the retainer.
5. Insert an unstripped wire into the funnel area between the contact and the wire inserter until it is in the desired location to be terminated.
6. Actuate the tool according to the instructions included with the tool. When the cycle is completed, the wire inserter will retract, and the feed slide will automatically advance the receptacle to the next contact position.
The locating pawl will move up and down as the receptacle is automatically advanced through the head. However, if movement is obstructed, or if desired, depress the locating pawl and push the receptacle out of the RIGHT side of the head.
7. Repeat Steps 4 through 6 until all contacts have been terminated.
8. Inspect each termination according to Section 5.
5. TERMINATION INSPECTION
Refer to Figure 3, and inspect each termination to ensure the following:
— the wire is terminated past the lead in transition and is about halfway in the contact slot
— the wire is from 1.78 to 2.16 mm [.070 to .085 in.] beyond the front of the contact beam
— the wire is NOT bottomed in the contact slot
— the contact beams are NOT deformed (if damage is apparent, replace the contacts in accordance with the instructions packaged with the receptacle)
— the wire is NOT nicked or cut in any area other than the contact slot
— the wires extend beyond the strain reliefs of the receptacle
Refer to 114-1031 for detailed application requirements.
Inspection of Properly Terminated Wire
Figure 3
A: Correct
B: Incorrect
- Wire
- Lead-In Transition
- Cut in Wire
- Deformation
- Strain Relief
- Front of Contact Beam
- Contact Slot
Wire Insertion Depth Adjustment

Figure 4
- Turn Clockwise to Decrease Wire Insertion Depth
- Turn Counterclockwise to Increase Wire Insertion Depth
- Rod Inserter Adjuster
6. MAINTENANCE AND INSPECTION
The following procedures have been established to ensure the quality and reliability of the head. The head should be checked daily, and a more detailed inspection should be performed by your quality control group on a regular basis.
6.1. Daily Maintenance
Each operator should be aware of, and responsible for, the following steps of maintenance.
- Remove dust, moisture, and other contaminants with a clean brush, or soft, lint-free cloth. DO NOT use objects that could damage the head.
- Make sure all components are in place and properly secured.
- Actuate the tool to ensure mechanisms inside the head move smoothly.
6.2. Quality Control Maintenance
Regular inspections should be performed by your quality control personnel. A record of quality control inspections should remain with the personnel responsible for the head. One inspection a month is recommended; however, operator skill, amount of use, ambient working conditions, and your company’s established standards are all factors in establishing frequency of inspections.
- Remove any accumulated film with a suitable cleaning agent that will NOT affect plastic material.
- Make sure all components are in place and are properly secured.
- Make a few test terminations, and inspect the termination in accordance with Section 5.
- Check for chipped, cracked, worn, or broken areas. If damage is evident, repair is necessary. See Section 7.
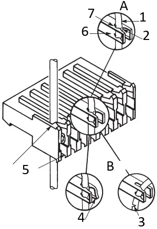
7. REPLACEMENT AND REPAIR
Customer-replaceable parts are listed in Figure 5. A complete inventory should be stocked and controlled to prevent lost time when replacement of parts is necessary. Parts other than those listed should be replaced by Tyco Electronics to ensure quality and reliability. Order replacement parts
Section A-A

Figure 5 (Cont’d)
REPLACEMENT PARTS | |||
ITEM | PART NUMBER | DESCRIPTION | QTY PER HEAD |
1 | 314487-1 | HEAD, Finished | 1 |
2 | 6-22278-5 | SPRING, Compression | 1 |
3 | 312161-1 | PAWL, Locating | 1 |
4 | 21041-7 | PIN, Spiral Spring | 1 |
5 | 312192-1 | PAWL, Finished Feed | 1 |
6 | 1-23147-2 | SPRING, Compression | 1 |
7 | 312151-1 | SLIDE, Feed | 1 |
8 | 314490-1 | CAM, Traverse Slide | 1 |
9 | 312160-1 | INSERTER, Wire | 1 |
10 | 3-21028-2 | PIN, Slotted Spring | 1 |
11 | 312148-1 | ROD, Inserter | 1 |
12 | 312149-1 | ADJUSTER, Rod Inserter | 1 |
13 | 22488-5 | SPRING, Compression | 1 |
14 | 314488-1 | HOUSING, Insert | 1 |
15 | 4-22430-8 | SCREW, Machine 4-40x.88 | 4 |
16 | 845053-1 | GUIDE, Terminal | 1 |
17 | 854178-1 | HOUSING, Insert | 1 |
18 | 314500-1 | WIRE RETAINER, Subassembly | 1 |
Figure 5 (End)
through your representative, or call 1-800-526-5142, or send a facsimile of your purchase order to 717-9867605, or write to:
CUSTOMER SERVICE (038-035)
TYCO ELECTRONICS CORPORATION
PO BOX 3608
HARRISBURG PA 17105-3608
For customer repair service, call 1-800-526-5136.
8. REVISION SUMMARY
- Updated document to corporate requirements
- Corrected Section 1
- Corrected part number for item 17 and switched bubbles 17 and 18 in Figure 5
©2007 Tyco Electronics Corporation, Harrisburg, PA
All International Rights Reserved
TE logo and Tyco Electronics are trademarks.
*Trademark. Other products, logos, and company names used are the property of their respective owners.
TOOLING ASSISTANCE CENTER 1-800-722-1111
PRODUCT INFORMATION 1-800-522-6752
This controlled document is subject to change.
For latest revision and Regional Customer Service, visit our website at www.tycoelectronics.com
C Rev Tyco Electronics Corporation
Downloaded from Arrow.com.


















