RHINO-RACK RGBH4 Gas Bottle Holder

Product Information
The Rhino Gas Bottle Holder (RGBH4) is designed to securely hold 4.0kg gas cylinders on Rhino Alloy Trays and Rhino Pioneer Racks. It comes with a strap kit, M8 x 25mm Hex Bolts, M8 Internal Shakeproof Washers, M8 x 21mm Heavy Steel Washers, Gas Bottle Holder Top and Bottom, Eye Hole Bracket, M8 Locking Tab, 60mm x 250mm Bumpon Strips and Fitting Instructions. The holder has a maximum load rating of 4.0kg and is not recommended for use with cylinders greater than 4.0kg. It is important to exercise caution when driving off-road as the vehicle roof height has been increased.
Product Usage Instructions
- Read the instructions carefully prior to installation and ensure the bike rack is installed in the correct locations as per your fitting instruction.
- Check the contents of the kit before commencing fitment and report any discrepancies.
- Decide where you would like the gas bottle to be located on the alloy tray.
- Stick the Bumpon strips parallel with the tray, making sure not to cover the channel. The bumpon strips will protect the tray from wear and will reduce movement of the gas bottle.
- Assemble the holder on the plank as shown in the diagram.
- Pay extra attention to the way the locking tabs (A104) sit on the plank extrusion. Centre the holder over the Bumpon Strips. Tighten the bolts when you are satisfied with the positioning of the holder.
- Use only non-stretch fastening ropes or straps to secure the gas cylinder.
- Transport the gas cylinder in an upright position and do not transport with regulators attached. Do not use the holder for lifting purposes.
- Always inspect the holder prior to use and protect it from friction and abrasion. Do not tie knots in webbing and do not use the strap if it is damaged.
- After installation is complete, place these instructions in the vehicle’s glove box.
Important
- Please read these instructions carefully prior to installation.
- Please refer to your fitting instruction to ensure that the bike rack is installed in the correct locations.
- Check the contents of kit before commencing fitment and report any discrepancies.
- Place these instructions in the vehicle’s glove box after installation is complete.
To suit Rhino Alloy Trays and Rhino Pioneer Racks
Layout
Note: Ensure that the holder is mounted as per diagram

Important Information
- Recommendations
Use only non-stretch fastening ropes or straps. Do not overload your Rhino-Rack Alloy Tray and roof bars. Check your vehicle’s roof carrying capacity. Exercise caution when driving off road as vehicle roof height has been increased. - Load Rating
To be used with 4.0kg gas cylinders. Do not use on cylinders greater than 4.0kg. - Caution
The handling characteristics of the vehicle change when you transport a load on the roof. For safety reasons, we recommend exercising extreme care when transporting large wind-resisting loads; special consideration must be taken into account when negotiating corners and under braking. - Note for Dealers and Fitters
It is your responsibility to ensure instructions are given to the end user or client.
These instructions remain the property of Rhino-Rack Australia Pty. Ltd. and may not be used or changed for any other purpose than intended
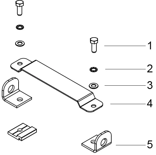
Parts List
| Item | Component Name | Qty | Part No |
| 1 | M8 X 25mm Hex Bolt | 2 | B101 |
| 2 | M8 Internal Shakeproof Washer | 2 | W033 |
| 3 | M8 x 21mm Heavy Steel Washer | 2 | W036 |
| 4 | Gas Bottle Holder Top | 1 | C599 |
| 5 | Eye Hole Bracket | 2 | C663 |
| 6 | M8 Locking Tab | 2 | A104 |
| 7 | Gas Bottle Holder Bottom | 1 | C598 |
| 8 | 60mm x 250mm Bumpon Strips | 2 | Z012 |
| 9 | Gas Bottle Holder Strap Kit | 1 | CA1159 |
| 10 | Fitting Instructions | 1 | RR184 |



4.0 KG Gas Bottle Maximum
- Gas cylinder not included

- Do not transport gas in an unapproved cylinder. Gas bottles must be stored in an upright position. Do not transport with regulators attached. Must not be used for lifting. Always inspect prior to use. Protect from friction and abrasion.
- Do not tie knots in webbing. Do not use strap if it is damaged.
Warning
- It is important that all roof racks and accessories are installed and attached correctly. Failure to follow the correct attachments could result in an accident, serious injury or death to others. The driver of the vehicle is responsible for securing the roof racks and accessories, checking the attachments, periodically checking bolt torque and visual inspection of all components for wear and damage. Do not attempt to fit the roof rack system or accessory to your vehicle unless you fully understand these fitting instructions. Please direct any questions regarding fitting to the dealer or retailer from where they were purchased.
- Use only non-stretch fastening ropes or straps.
Fitting Instructions
- Decide where you would like the gas bottle to be located on the alloy tray. The holder will be placed across the width of one plank on the alloy tray.

- Stick the Bumpon strips parallel with the tray, making sure not to cover the channel. The bumpon strips will protect the tray from wear and will reduce movement of the gas bottle

- Assemble the holder on the plank as shown. Pay extra attention to the way the locking tabs (A104) sit on the plank extrusion. (see below). Centre the holder over the Bumpon Strips. Tighten the bolts when you are satisfied with the positioning of the holder.
Locking tab must engage on the lip of the alloy tray plank
- Stick the Bumpon strips parallel with the tray, making sure not to cover the channel. The bumpon strips will protect the tray from wear and will reduce movement of the gas bottle
- Place the gas bottle on top of the assembly. Place the webbing strap as shown over the neck of the gas bottle.

- Place the metal hook from each strap through the eye hole brackets.

- Insert strap into cam buckle. Pull until the ring is skewed to one side as shown

- Insert strap into rachet as shown (1). Pull strap tightly (2). Tighten the ratchet lever till the gas bottle is secured to the alloy tray (3 & 4). Repeat steps 3 and 4 till tight. Ensure that the ring is concentrically aligned as shown.


- To undo the straps, first undo the ratchet lever as shown. Then undo the cam buckle as shown in step 4 in reverse.

Rhino-Rack
3 Pike Street, Rydalmere, NSW 2116, Australia.
(Ph) (02) 9638 4744
(Fax) (02) 9638 4822
Document No: RR184
Prepared By: Will Davis
Authorised By: Chris Murty
Issue No: 03
Issue Date: 13/03/2012




Locking tab must engage on the lip of the alloy tray plank





















