ST-M10002T Elyse Elevated Wooden Cat Litter Box Enclosure Side Table

Product Information
The Staart Teamson Pets Daisy Elevated Wooden Cat Litter Box Enclosure & Side Table with Vent Holes ST-M10002M/T is a stylish and functional piece of furniture that serves as a litter box enclosure and a side table. It is made of durable wood and features vent holes for proper air circulation. The product code for this item can be found on the first page of the instruction manual.
The product comes with a 3D interactive instruction manual, which can be accessed at www.teamsonhome.com. Customer care support is available via phone and email in the USA, EU/UK, and Asia.
Product Usage Instructions
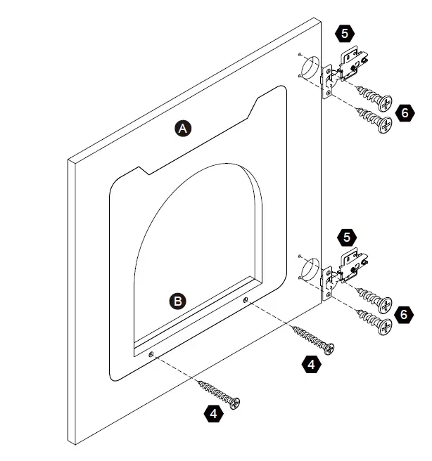
- Step 1: Assemble the base frame using 4 pieces marked A and B, and connect them using 2 pieces marked 5 and 2 pieces marked 6.
- Step 2: Attach 8 pieces marked C to the base frame using screws. Then, attach 4 pieces marked D to the sides of the base frame using screws.
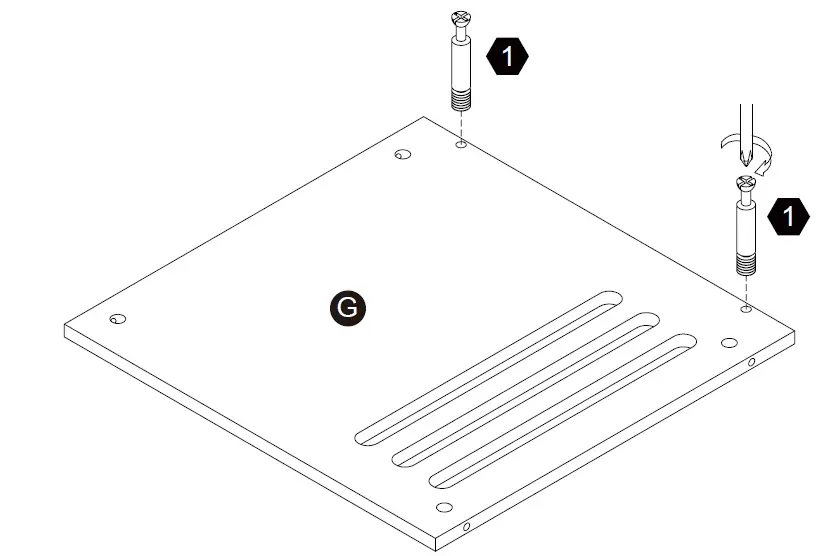
- Step 3: Attach 4 pieces marked E to the top of the base frame using screws. Then, attach 1 piece marked G to the top of each side piece using screws, and attach 1 piece marked F to the front of each side piece using screws.
- Step 4: Attach 2 pieces marked H to the back of the enclosure using screws, and attach 4 pieces marked D to the top of the enclosure using screws.
- Step 5: Attach 6 pieces marked C to the sides of the enclosure using screws.
- Step 6: Attach 2 pieces marked E to the top of the enclosure using screws, and attach 6 pieces marked C to the front of the enclosure using screws.
- Step 7: Attach 6 pieces marked A to the top of the enclosure using screws.
- Step 8: Attach 1 piece marked D to the front of the enclosure using screws.
Once assembled, place a litter box inside the enclosure and use the top surface as a side table.
TOOL INCLUDED


** Got questions? Please have your product code (on the first page of this instruction, e.g. TD-12345A) and the order number ready, give us a call or email us through our customer care support! We are always ready to assist you!
3D Interactive Instruction
www.teamsonhome.com
Serving you well gives us great joy!
USA +1(800)935-3959
Mon – Fri 10:00am ~ 2:00pm EST
Email: [email protected]
EU/UK
+44(0)1952-916-050
Mon – Thu 9:00am ~ 5:00pm GMT Friday 9:00am ~ 4:00pm GMT
Email: [email protected]
ASIA
+86(0755)8885-3558.分机号331
Mon – Sat 9:00am ~ 5:00pm GMT+8
Email: [email protected]
+886(2)2556-6268
Mon – Fri 9:00am ~ 5:00pm GMT+8
Email: [email protected]
Exploded Drawing

Product Parts 
Hardware 
WARNING:
- Do not let any sharp objects touch or rub the surface of the product.
- When assembling, do not let children play around the working area.
- Please confirm all parts are correct before starting the assembly process.
- Do not tighten all bolts and screws completely until the entire unit has been assembled and set up.
Step 1 

Step 2 


Step 3 


Step 4

Step 5 

Step 6 

Step 7 

Step 8 
Questions? Scan Here














