CE-H27D11-S1 4K 60Hz HDMI Over Cat6 Extender with Loop out & IR
User Manual
TWO YEAR
Manufacturer Warranty
P/N: CE-H27D11-S1
04-1381A
Features
- Support HDMI 4K@60 4:4:4 8bits,
- Support HDCP 2.2 & 1.4
- Support HDR which is 4K2K@60 4:2:0 10bits
- Extend 4K@601-1z video up to 230ft/70m through a Cat6/6a/7 network cable
- Support EDID learning
- Support HDMI loop-out on Transmitter
- Support audio extraction via 3.5mm Jack of Receiver
- HDMI Audio Format: PCM2/5.1/7.1, Dolby & DTS 5.1
- 3.5mm Audio Format: PCM2
- Support IR extension from receiver to transmitter (IR frequency 20K-60KHz)
- Lightning Protection, Surge Protection, ESD Protection
Package Contents
- Transmitter & Receiver
- Power adapter DC 5V/1A x2
- IR blaster cable
- IR receiver cable
- Mounting kits
- User Manual
Layout
Transmitter (TX)
- POWER JACK: DC SVP1A
- HDMI OUTPUT: Connect to HDMI display
- HDMI INPUT: Connect to HDMI source
- Reset BUTTON: Press to restart the device
- RJ-45: Connect to Receiver with Cat6 cable
- IR out: Connect with the IR blaster extension cable, please get closer to the source device while using
- Power/Signal LED:
Flash when no HDMI signal.
Solid blue when HDMI signal connected.
Receiver (RX)

- POWER JACK: DC SVP1A
- HDMI OUTPUT: Connect to HDMI display
- 3.5mm Output: For audio extract
- Reset BUTTON: Press to restart the device
- RJ-45: Connect to Transmitter with Cat6 cable
- IR in: Connect with IR receiver extension cable, please make sure the remote control used is within the effective range
- Power/Signal LED:
Flash when no HDMI signal.
Solid blue when HDMI signal connected.
EDID Learning
- The extender will auto-learning RX connected display EDID.
- If the TX loop-out connected display also, the device will use the smaller display EDID of two displays.
For example
1. Two displays are 4K@60 & 1080p@60, the extender will use 1080p@60 EDID. Two displays’ output resolution will be 1080p@60.
2. Two displays are 4K@60, the extender will use 4K@60 EDID. Two displays’ output resolution will be 4K@60. - Please press the reset button to re-learning EDID after a display change.
Application

IR cable
Power- IR Signal
- Null

- Power
- IR Signal
- Grounding
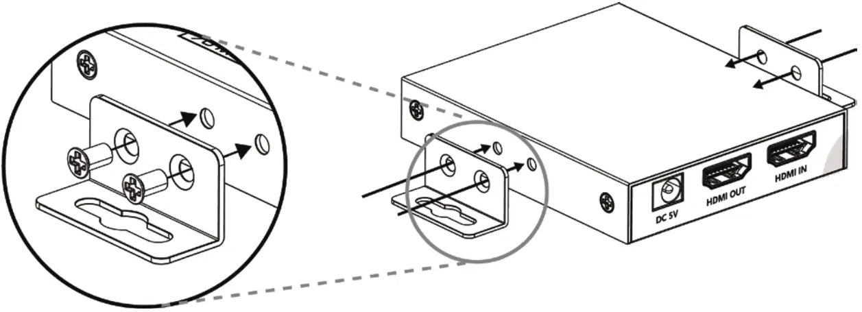
Wall mount

Dear Valued Customer,
WE REALLY APPRECIATE YOUR PURCHASE
~thank you~
Support
For more info or tech support
http://www.siig.com/support
Feb 2022 Copyright CO 2022 by SIIG, Inc. All rights reserved.
Power

















