TROTEC AIRGOCLEAN 10 E Air Cleaner
Notes regarding the operating manual
Symbols
Warning of electrical voltage
- This symbol indicates dangers to the life and health of persons due to electrical voltage.
Warning
- This signal word indicates a hazard with an average risk level which, if not avoided, can result in serious injury or death.
Caution
- This signal word indicates a hazard with a low-risk level which, if not avoided, can result in minor or moderate injury.
Note
- This signal word indicates important information (e.g. material damage), but does not indicate hazards.
Info
- Information marked with this symbol helps you to carry out your tasks quickly and safely.
Follow the manual
- Information marked with this symbol indicates that the operating manual must be observed.
You can download the current version of the operating manual and the EU declaration of conformity via the following link:
Safety
Read this manual carefully before starting or using the device. Always store the manual in the immediate vicinity of the device or its site of use.
Warning
Read all safety warnings and all instructions. Failure to follow the warnings and instructions may result in electric shock, fire, and/or serious injury. Save all warnings and instructions for future reference. This appliance can be used by children aged from 8 years and above and persons with reduced physical, sensory or mental capabilities or lack of experience and knowledge if they have been given supervision or instruction concerning use of the appliance in a safe way and understand the hazards involved. Children shall not play with the appliance. Cleaning and user maintenance shall not be made by children without supervision.
- Do not use the device in potentially explosive rooms or areas and do not install it there.
- Do not use the device in an aggressive atmosphere.
- Do not operate the device near open fire or gas appliances.
- Only put up the device in an upright, stable position on firm ground.
- Let the device dry out after a wet clean. Do not operate it when wet.
- Do not use the device with wet or damp hands.
- Do not expose the device to directly squirting water.
- Do not expose the device to liquids as it is not protected against splash water.
- Never insert any objects or limbs into the device.
- Do not cover or transport the device during operation.
- Do not sit on the device.
- This appliance is not a toy! Keep away from children and animals. Do not leave the device unattended during operation.
- Check accessories and connection parts for possible damage prior to every use of the device. Do not use any defective devices or device parts.
- Ensure that all electric cables outside of the device are protected from damage (e.g. caused by animals). Never use the device if electric cables or the power connection are damaged!
- The electrical connection must correspond to the specifications in chapter Technical data.
- Insert the mains plug into a properly secured mains socket.
- Observe the technical data when selecting extensions to the power cable. Completely unroll the extension cable.
- Avoid electrical overload.
- Before carrying out maintenance, care or repair work on the device, remove the mains plug from the mains socket.
- Hold onto the mains plug while doing so.
- Switch the device off and disconnect the power cable from the mains socket when the device is not in use.
- Do not under any circumstances use the device if you detect damages on the mains plug or power cable.
- If the power cable is damaged, it must be replaced by them manufacturer, its service agent, or similarly qualified persons in order to avoid a hazard. Defective power cables pose a serious health risk!
- When positioning the device, observe the minimum distances from walls and other objects as well as the storage and operating conditions specified in the Technical data chapter.
- Make sure that the air inlet and outlet are not obstructed.
- Make sure that there are no loose items or dirt located in the immediate surroundings of air inlet and air outlet.
- Do not remove any safety signs, stickers or labels from the device. Keep all safety signs, stickers and labels in legible condition.
- Do not expose the device to heat or direct sunlight.
- Make sure that the suction side is kept free of dirt and loose objects.
- Dispose of replaced filters properly, especially after filtering substances hazardous to health.
- Never use the device as a storage place or footstep.
Intended use
- Use the device for cleaning the air as well as for odor elimination (ionization) in interior spaces only whilst adhering to the technical data and safety instructions.
Foreseeable misuse
- Do not place the device on wet or flooded ground.
- Do not place any objects, e.g. clothing, on the device.
- Do not use the device outdoors.
- Do not use the device in bathrooms and rooms with a high humidity level.
- Do not use the device in rooms where large amounts of dust are produced, e.g. in production halls, workshops, or on construction sites.
- Moreover, the integrated filter system is not suited for removing the dust that is potentially harmful to health (e.g. pollutants) from the air.
- Any other use than the one described in the chapter “Intended use” is regarded as reasonably foreseeable misuse.
- Any unauthorized modifications, alterations, or structural changes to the device are forbidden.
Personnel qualifications
People who use this device must:
- be aware of the dangers that occur when working with electrically driven air cleaners.
- have read and understood the operating manual, especially the Safety chapter.
Residual risks
Warning of electrical voltage
- Work on the electrical components must only be carried out by an authorized specialist company!
- Before any work on the device, remove the main plug from the main socket!
- Do not touch the mains plug with wet or damp hands.
- Hold onto the mains plug while pulling the power cable out of the mains socket.
warning
- Dangers can occur at the device when it is used by untrained people in an unprofessional or improper way!
- Observe the personnel qualifications!
- The device is not a toy and does not belong in the hands of children.
- Risk of suffocation!
- Do not leave the packaging lying around. Children may use it as a dangerous toy.
Note
- Do not operate the device without a HEPA filter inserted!
- Do not operate the device without an air filter inserted into the air inlet!
- Without the air filter, the inside of the device will be heavily contaminated. This could reduce the performance and result in damage to the device.
- Do not use abrasive cleaners or solvents to clean the device.
Behaviour in the event of an emergency
- Switch off the device.
- In an emergency, disconnect the device from the mains feed-in: Hold onto the mains plug while pulling the power cable out of the mains socket.
- Do not reconnect a defective device to the mains.
Information about the device
Device description
The device serves to filter the room air with the aim of reducing slight and medium contaminations and odors in order to improve the air quality. It is equipped with a powerful fan sucking in the air at the front. The air flows through the filter and is cleaned. Afterward, the fan releases the clean air back into the room. The device uses a HEPA filter to remove bacteria, viruses,pollen, dust mite residue, mold fungus spores, and other allergens from the air. The HEPA filter has an integrated prefilter (made of synthetic fiber) that filters out large dust particles before the air flows into the HEPA filter. The HEPA filter is effective against house dust, pet allergens, cigarette smoke, smog and particles which can carry smells and viruses. Additionally, the device comes with an ionization function. The released ions remove pollen, dust, viruses, and bacteria from the room air. Thanks to this air purification method, the quality of the room air can be additionally improved. The three-stage fan and the uncomplicated, quick filter change ensure easy operation. Thanks to its compact dimensions the device can be transported conveniently and owing to the low-noise operation it can be used indoors. The device can be operated via the control panel at the device or via the infrared remote control.
| No. | Designation |
| 1 | On/off switch and fan stage selector switch |
| 2 | Device cover |
| 3 | Foot |
| 4 | Air outlet |
| 5 | Air inlet |
Transport and storage
Note
- If you store or transport the device improperly, the device may be damaged.
- Note the information regarding the transport and storage of the device.
Transport
Before transporting the device, observe the following:
- Switch the device off.
- Hold onto the mains plug while pulling the power cable out of the mains socket.
- Do not use the power cable to drag the device.
- After transporting the device, observe the following:
- Set up the device in an upright position after transport.
Storage
When the device is not being used, observe the following storage conditions:
- Dry and protected from frost and heat
- In an upright position where it is protected from dust and direct sunlight
- With a cover to protect it from invasive dust, if necessary
Assembly and start-up
Scope of delivery
- 1 x Device
- 1 x HEPA filter incl. pre-filter made of synthetic fiber
- 1 x Manual
Unpacking the device
- Open the cardboard box and take the device out.
- Completely remove the packaging.
- Fully unwind the power cable. Make sure that the power cable is not damaged and that you do not damage it during unwinding.
Start-up
- The HEPA filter is pre-installed.
Note
- Remove the plastic cover from the HEPA filter. To do so, please proceed as described in the chapter by Changing the HEPA filter.
- When positioning the device, observe the minimum distance from walls or other objects as described in the chapter Technical data.

- Before restarting the device, check the condition of the power cable. If there are doubts as to the sound condition, contact the customer service.
- Only put up the device in an upright, stable position on firm ground.
- Do not create tripping hazards when laying the power cable or other electric cables, especially when positioning the device in the middle of the room. Use cable bridges.
- Make sure that extension cables are completely unrolled.
- Position the device near the source of air contamination.
- When positioning the device, keep a sufficient distance from heat sources.
- Make sure that no curtains or other objects interfere with the airflow.
- Make sure that the air inlet and outlet are not obstructed.
Connecting the power cable
- Insert the mains plug into a properly secured mains power socket.
Operation
Note
- Avoid open doors and windows.
- After being switched on, the device operates fully automatically.
Operating elements
| No. | Designation |
| 1 | On/off switch |
Switching the device on / selecting the fan speed
Once you have completely installed the device as described in the Start-up chapter, you can switch it on.
- Set the on/off switch (1) to the desired fan stage.
- Stage I = low fan speed
- Stage II = medium fan speed
- Stag`e III = high fan speed
- The device is switched on.
Ionization
With this function, the room air is not only cleaned by means of the HEPA filter but additionally by means of ions. The released ions remove pollen, dust, viruses, and bacteria from the room air. Ionization starts automatically once you switch on the device. Ionization cannot be switched off.
Shutdown
Warning of electrical voltage
- Do not touch the mains plug with wet or damp hands.
- Set the on/off switch (1) to 0.
- Hold onto the mains plug while pulling the power cable out of the mains socket.
- Clean the device according to the Maintenance chapter.
- Store the device according to the Storage chapter.
Available accessories
Warning
Only use accessories and additional equipment specified in the operating manual. Using insertion tools or accessories other than those specified in the operating manual may cause a risk of injury.
| Designation | Article number |
| HEPA filter, filter class H11 | 7.160.000.510 |
Errors and faults
- The device has been checked for proper functioning several times during production. If malfunctions occur nonetheless, check the device according to the following list.
The device does not start:
- Check the power connection.
- Check the power cable and mains plug for damage.
- Check the on-site fusing.
- Wait for 10 minutes before restarting the device. If the device is not starting, have the electrics checked by a specialist company or by Trotec.
The device is loud or vibrates:
- Check whether the device is set up in a stable and upright position.
The device gets very warm, is loud or is losing performance
- Check the air inlets and air filters for dirt. Remove external dirt.
The device works with reduced capacity
- Check the HEPA filter for dirt. If necessary, clean or replace the HEPA filter.
- The air outlet is obstructed. Make sure that the air outlet is not blocked. Remove any loose objects from the air outlet.
- The HEPA filter’s plastic cover was not removed before installation. Take the HEPA filter out of the plastic cover.
The device works with no capacity or the air quality does not improve
- Check whether any windows and/or doors of the room are open. If so, close them.
- The HEPA filter is not installed. Install the HEPA filter.
- Check the minimum distance to walls or other objects. Position the device a little more in the room’s center if required.
The device gives off an unpleasant odor
- Check the HEPA filter for dirt. If necessary, clean or replace the HEPA filter.
- Smoke, e.g. dense tobacco smoke, odors, and contaminations may be in the air. Ventilate the room.
Your device still does not operate correctly after these checks?
- Please contact customer service. If necessary, bring the device to an authorized specialist electrical company or to Trotec for repair.
Maintenance
| Maintenance and care interval | before every start-up | as needed | at least every 2 weeks | at least every 4 weeks | at least every 6 months | at least annually |
| Check air inlets and outlets for dirt and foreign objects and clean if necessary | X | X | ||||
| Clean the exterior | X | X | ||||
| Visually check the inside of the device for dirt | X | X | ||||
| Check the filter for dirt and foreign objects and clean or replace if necessary | X | X | ||||
| Replace the filter | X | |||||
| Check for damage | X | |||||
| Check the attachment screws | X | X | ||||
| Test run | X |
Maintenance and care log
- Device type: ………………………………………
- Device number: ………………………………
| Maintenance and care interval | 1 | 2 | 3 | 4 | 5 | 6 | 7 | 8 | 9 | 10 | 11 | 12 | 13 | 14 | 15 | 16 |
| Check air inlets and outlets for dirt and foreign objects and clean if necessary | ||||||||||||||||
| Clean the exterior | ||||||||||||||||
| Visually check the inside of the device for dirt | ||||||||||||||||
| Check the filter for dirt and foreign objects and clean or replace if necessary | ||||||||||||||||
| Replace the filter | ||||||||||||||||
| Check for damage | ||||||||||||||||
| Check the attachment screws | ||||||||||||||||
| Test run |
| 1. Date: …………………………….. Signature: ………………………….. | 2. Date: ……………………………… Signature: …………………………… | 3. Date: ……………………………… Signature: …………………………… | 4. Date: ……………………………… Signature: …………………………… |
| 5. Date: …………………………….. Signature: ………………………….. | 6. Date: ……………………………… Signature: …………………………… | 7. Date: ……………………………… Signature: …………………………… | 8. Date: ……………………………… Signature: …………………………… |
| 9. Date: …………………………….. Signature: ………………………….. | 10. Date: ……………………………. Signature: …………………………… | 11. Date: ……………………………. Signature: …………………………… | 12. Date: ……………………………. Signature: …………………………… |
| 13. Date: …………………………… Signature: ………………………….. | 14. Date: ……………………………. Signature: …………………………… | 15. Date: ……………………………. Signature: …………………………… | 16. Date: ……………………………. Signature: …………………………… |
Activities required before starting maintenance
Warning of electrical voltage
- Do not touch the mains plug with wet or damp hands.
- Switch the device off.
- Hold onto the mains plug while pulling the power cable out of the mains socket.
Warning of electrical voltage
- Tasks that require the housing to be opened must only be carried out by authorized specialist companies or by Trotec.
Cleaning the housing
Clean the housing with a soft, damp, and lint-free cloth. Make sure that no moisture enters the housing. Protect electrical components from moisture. Do not use any aggressive cleaning agents such as cleaning sprays, solvents, alcohol-based or abrasive cleaners to dampen the cloth. Visual inspection of the inside of the device for dirt
- Remove the air filter.
- Use a torch to illuminate the openings of the device.
- Check the inside of the device for dirt.
- If you see a thick layer of dust, clean the inside of the device with a vacuum cleaner.
- Put the air filter back in.

Changing the HEPA filter
Note
Do not operate the device without a HEPA filter inserted!
- The HEPA filter is not washable. Do not use water or liquid cleaning agents to clean the HEPA filter.
- The HEPA filter has to be replaced as soon as it is dirty.
- This is brought to light e.g. by a reduced capacity (see chapter Errors and faults).
- Make sure that the HEPA filter is installed before switching the device on.
- Without the HEPA filter, the device cannot fulfill its air cleaner function, and the inside of the device will be soiled.
- The HEPA filter should be replaced in case of heavy soiling.
- The operating life is approx. 6 months, depending on the degree of air pollution.
- If required, visually inspect the HEPA filter for dirt.
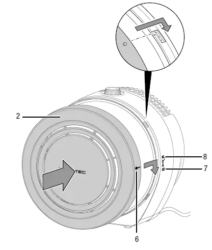
- Open the device cover (2) by rotating it counter-clockwise. Note the mark (6) on the right-hand side of the device cover. You have to rotate the device cover (2) from the closed (7) to the open position (8).

- Remove the device cover (2) from the device.

- Pull the strip (9) to take the used HEPA filter (10) out of the device.

- Dispose of the used HEPA filter according to the national regulations.
- Take the new HEPA filter out of the plastic cover. The front of the HEPA filter is fitted with a pre-filter made of synthetic fiber and with the strip (9).

- Insert the new HEPA filter into the device. Make sure that the strip (9) is positioned on the outside.

- Put the device cover (2) back on the device. Make sure that the mark (6) on the device cover and the mark (8) on the right-hand side of the device are aligned. Close the device cover (2) by rotating it clockwise from the open (8) to the closed position (7).

Technical data
| Parameter | Value |
| Model | AirgoClean® 10 E |
| Air flow rate with HEPA filter Fan stage I Fan stage II Fan stage III | 55 m3/h 105 m3/h 135 m3/h |
| Ambient temperature | 0 °C to 35 °C |
| Operating range | 0 % to 90 % RH |
| Mains connection | 1/N/PE ~ 230 V / 50 Hz |
| Power consumption | 45 W |
| Nominal current | 0.2 A |
| Sound pressure level (1 m distance) | 54.4 dB(A) |
| Dimensions (depth x width x height) | 183 x 272 x 296 mm |
| Minimum distance to walls and other objects A: top B: rear C: side D: front |
30 cm 30 cm 30 cm 30 cm |
| Weight | 2.5 kg |
Disposal
The icon with the crossed-out waste bin on waste electrical or electronic equipment stipulates that this equipment, must not be disposed of with the household waste at the end of its life. You will find collection points for free return of waste electrical and electronic equipment in your vicinity. The addresses can be obtained from your municipality or local administration. For further return options provided by us please refer to our website https://de.trotec.com/shop/. The separate collection of waste electrical and electronic equipment aims to enable the re-use, recycling and other forms of recovery of waste equipment as well as to prevent negative effects for the environment and human health caused by the disposal of hazardous substances potentially contained in the equipment.
Trotec GmbH
- Grebbener Str. 7
- D-52525 Heinsberg
- +49 2452 962-400
- +49 2452 962-200
- [email protected]
- www.trotec.com

























