dormakaba Terminal 96 00 Time Recording and Access Control

About this Validity
This describes the product

- Product designation Terminal 96 00
- Product ID 9600-K6
- Item number 04079601
Safety instructions
Designated use
The product is only intended for use as described Product description. Any use beyond that is considered contrary to its designated use. The manufacturer cannot be held liable for damage resulting from such use.
Staff qualification
The actions described in this quick start guide must only be carried out by skilled persons in accordance with EN 62368-1. Skilled person is the designation for people who have the appropriate technical training and experience in setting up the equipment. Skilled persons are expected to use their training and experience to identify any risks to themselves and others that may arise while carrying out these activities, and to minimise these risks as far as possible. It is the skilled person’s responsibility to ensure that the conditions stated by the manufacturer and the applicable regulations and standards are complied with when carrying out these actions.
Assembly and installation
The product should only be installed in locations which fulfil the environmental and technical conditions specified by the manufacturer. The manufacturer is not liable for damage arising due to improper handling or incorrect installation.
Environmental protection
It is prohibited to dispose of the device in your domestic waste. Used devices contain valuable materials that should be recycled. Properly dispose of used devices.
Product description
The terminal 96 00 can be used for time and attendance, access control of an individual door and as Card link update terminal. The B-Client terminal software makes the device compatible in terms of data records with its predecessor series B-web and B-net, allowing it to be connected to the host system via UDP using the communication software B-COMM. Connecting it to HTTP/HTTPSbased applications, such as b-comm ERPS, b+ or EACM, is also possible. The operating system used of the terminal 96 00 is Android. This allows applications, so-called apps, to be used flexibly at the terminal. The system can be expanded at any time to make it suitable for a wide range of tasks or also be supplemented by apps specifically developed for customer requirements. To display information, the terminal has a graphic 4″ TFT colour display with a resolution of 480 x 800 pixels. Located above the display is a capacitive input field, which is operated by touching the glass front. The person-related data is recorded by a contactless RFID reader
The communication with the superior system takes place via Ethernet. Alternatively and optionally, communication can also take place via UMTS or WLAN. The terminal is supplied with power via PoE Power over Ethernet.
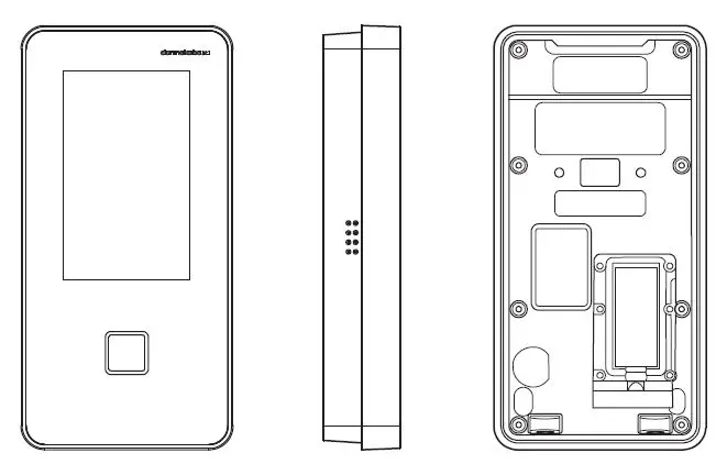
Device structure
The product consists of the terminal housing (1) and the mounting plate (2). The mounting plate (2) is the wall-mounting element of the device. The terminal (1) is hung into the mounting plate (2) and secured with two screws (4) from below. The network cable is led to the terminal from the rear. The network connection is located on the rear of the The product has a magnetic sabotage contact (3). The terminal software uses it to detect when the housing is removed from the mounting plate and generates an alarm record.
Technical data System
Operating system
- Android version 5.0.2 (Lollipop)
- CPU Freescale i.MX6Duallite processor
- Memory 2 GByte DDR3 RAM
- 8 GByte eMMC Flash
Parameters and data records are retained without supply voltage.
RTC
The device has an integrated real-time clock. The function of the RTC is ensured for about 2 months without power supply of the device.
Display
- TFT LCD display module
- Size: 10 cm (4.0″)
- Resolution: 800 x 480 pixels (16:9 diagonal)
- Colour depth: 24-bit (true colour)
- Luminance: 350 cd/m2
- Backlit with 8 LEDs
Touch screen
4 PCAP touch screen over the complete display
Audio
Integrated loudspeaker (1 W)
Interfaces/Communication
Ethernet interface
IEEE802.3 compatible10BASE-T /100BASE-TX /100< Auto sensing, Auto MDIX
WLAN (optional)
According to IEEE802.11 b/g/n (2.4 GHz) Encryption: WPA2-PSK
Mobile radio (option)
3G (UMTS) 900/2100 MHz (dual band)
Power supply PoE (Power over Ethernet)
- Power supply of the terminal via the 8-wire
- Ethernet cable (max. 100 m)
- According to IEEE802.3af PD type 1 Performance class 0 (0.44-12.95 W)
- Supported feed processes: Spare pair feed and phantom feed
Reader
Depending on design, the terminal supports the readers
RFID reader
- MRD – LEGIC prime/advant, MIFARE Classic/DESFire
- HID – iCLASS SE, iCLASS, Prox, Prox II
Ambient conditions
- Ingress protection according to IEC 60529 IP20.
- IP65 with optional cable sealing.
Relative humidity
5% – 85%, non-condensing
Ambient temperature
- 25 °C – +55 °C operation
- 25 °C – +70 °C storage
Dimensions
- Width: 89 mm
- Height: 177mm
- Depth: 32 mm
Conformity
This product complies with the standards
- EN 62368-1
- EN 300330-2
- EN 301489-3 according to the provisions of the EU directive 2014/53/EU – Radio Equipment Directive (RED)
- RoHS This device complies with the regulations of Directive 2011/65/EU.
The original declaration of conformity can be downloaded in PDF format from www.kaba.com/conformity
Installation
Fastening the mounting plate
The mounting plate can be installed directly on the wall or on a double switch box according to DIN 49073-1. The mounting plate has for each of the two fastening variants 4 fastening holes. For direct fastening of the mounting plate to the wall, 4 dowels SX6 and 4 suitable wood screws are included in the delivery. For fastening the mounting plate to a switch box, 4 countersunk screws are included in the delivery nting on different surfaces, use suitable fastening mather fastening screws, make sure that the flat head of lisappears completely in the perforation in the mounting

The mounting plate may not be mounted twisted. The screws may only be tightened slightly. The mounting plate may not be deformed or bent. In case of soft mounting surfaces, make sure that the housing is not pressed into the surface when mounting it. The unevenness of the mounting surface may not exceed 0.5 mm. The unevenness of the mounting surface may have to be compensated for or adjusted by means of suitable measures e.g. washers.
Connecting the network cable
The Ethernet connection (RJ45 socket) is located on the rear of the terminal housing.

Fastening the sealing cap
The increased ingress protection according to IEC 60529 specified in the technical data is only reached when using this additional cable cover. The sealing cap for cable sealing is an optional accessory of the terminal 96 00.
Scope of delivery
- 1x sealing cap
- 1x seal with cable passage 0 5.7 mm
- 1x seal with cable passage 0 8.2 mm
- 1x self-adhesive foam strip 1.0 mm thick
- 1x self-adhesive foam strip 2.0 mm thick
- 6x fillister head self-tapping screw
- 1x TORX screw wrenchT6
Principle
The sealing cap is fastened to the rear of the terminal via the network connection. Depending on the diameter of the network cable, additional measures for sealing the cable entry are required. Use seal with corresponding cable passage. Attach a semicircular foam strip to the cable entry of the terminal housing. Wrap foam strip around the network cable using full circles in the area of the cable entry.

Procedure
If required, attach foam strip. Connect the network cable.

Insert the seal with suitable cable passage into the sealing cap.

Fasten the sealing cap above the connection area using 6 screws.

Fastening the terminal housing to the mounting plate
Hang terminal into the mounting plate at the top and press against it at the bottom. Secure terminal housing on the mounting plate using 2 screws M3x6.
Commissioning
Network requirements
Start up and communication in regular operation are done via an Ethernet network. To guarantee unhindered and trouble-free data traffic, the UDP ports used for communication must have been enabled. The firewall configuration must therefore be adapted accordingly. The UDP port used for communication between B-COMM and the terminal must have been enabled.The UDP port is in the range from 7700 hex. to 77EF hex. (30464 dee. to 30703 dee.), depending on configuration.
Automatic registration via B-COMM
The network must have been equipped with a working DHCP server. It must be possible to transfer UDP data packages unhindered to the B-COMM server.
- IP address 239.255.255.250, UDP port 1900 dee. and UDP port 7900 (30976 dee.) must have been enabled.
- The SSDP service has to be enabled in the Windows service management.
- The SFTP connection via the standard port 22 must have been enabled.
Automatic registration via B-COMM
Start up of the terminal takes place largely automatically in connection with the communication software B COMM. The device is preset at the factory for automatic registration via B-COMM. For communication via WLAN, the connection must have been previously set up and activated. This is done via the system settings.
System requirements
B-COMM communication software version 4.0 and higher. Network with a working DHCP server.
Start up procedure
- Connect the power supply for the device. After booting, the device cyclically reports to the BCOMMs active in the network.
- At this point, until start-up by a
- B-COMM is complete, the message ‘Waiting for registration is displayed on the display.
- Once the device is detected by B-COMM, the relevant data that identifies the device will be queried. If the device is not known, it will be entered in B-COMMunder the
- B-COMM Terminal Discovery client under BCTDS Terminal Discovery Stream.
- Add device in B-COMM to the desired communication channel.
- Provide device with the appropriate communication parameters.
- After having assigned the device permanently to BCOMM, B-COMM first updates the settings of the device and then makes a backup of the settings together with
the sopini licence file. - The device now reports to the B-COMMs active in the network that registration has been carried out, after which the device will be removed again from the BCTDS stream by the other B-COMMS.
- Load specific parameters and master records to the device.
- The terminal software is restarted automatically. After that the device is ready to operate.
Devices with MRD reader multi reader device
Devices with MRD reader support LEGIC or MIFARE media, depending on the reader type set. For LEGIC media, the LEGIC_ 4200 reader type has been factorypreset.
For processing Ml FARE media, the reader type must be changed to MIFARE_4200 The reader type can be adjusted in the following ways. Locally on the device via the test program or service interface. Remote via the service interface Via the B-COMM communication software
Operating elements
Display and capacitive control panel the capacitive control panel extends over the entire display surface. The control panel is operated by touching and wiping with a finger. Luminous ring and input field for RFID media Contact free RFID mediaare simply held in front of the entry field of the RFID reader. Acoustic signal generator It is used for signalling certain operating states and thus for user guidance.

Commissioning

















