Electrolux TG90N Freezer Right

Product Information
- Product Name: TG90N Freezer
- Model: TG90N
- User Manual Language: Italian (IT) and English (EN)
- Customer Service: Please contact an authorized customer service center for assistance. Provide the following information: Model, PNC, Serial Number. This information can be found on the product label.
Product Usage Instructions
Safety Instructions
Assembly
WARNING!
Follow the assembly instructions carefully to avoid any risks.
Electrical Connection
WARNING!
To avoid the risk of fire or electric shock, only use original replacement parts and ensure proper electrical connections.
Usage
WARNING!
There is a risk of injury, burns, electric shock, or fire during usage. Follow safety precautions while using the product.
Cleaning and Maintenance
WARNING!
Follow the cleaning and maintenance instructions to prevent any accidents or damage to the product.
Maintenance
Regular maintenance is required to ensure proper functioning of the product. Refer to the user manual for maintenance instructions.
Disposal
WARNING!
Dispose of the product properly to avoid any risks of injury or suffocation. Follow the recommended disposal methods.
Assembly
Dimensions
Refer to the following dimensions for proper assembly:
- Width (W1): 604mm
- Height (H1): 845mm
- Depth (D1): 576mm
Installation Location
CAUTION!
Choose a suitable location for installation to ensure proper ventilation and safe usage of the product.
Electrical Connection
Follow the electrical connection instructions provided in the user manual to connect the product to a power source.
Alignment
WARNING!
Follow the alignment instructions to ensure stability and proper functioning of the product.
Operation
Control Panel
The control panel consists of a temperature display, super freeze indicator, and an adjustment knob.
Power On
Plug the power cord into a wall socket to turn on the freezer.
Power Off
Follow the user manual instructions to safely turn off the freezer.
Temperature Control
Use the temperature adjustment knob to set the desired temperature. The temperature display will show the set temperature. The set temperature will be reached within 24 hours and will be saved even after a power outage.
Super Freeze Function
The super freeze function can be activated to quickly freeze fresh food. The function will automatically end after 52 hours.
Freezing Fresh Food
Freezing Fresh Food
The freezer is suitable for freezing fresh food and long-term storage of frozen food. Activate the super freeze function at least 24 hours before placing fresh food in the freezer.
CAUTION! Follow proper food handling and freezing guidelines to ensure food safety.
Defrosting
Refer to the user manual for defrosting instructions.
Tips and Recommendations
Energy Saving Tips
Follow the energy-saving tips provided in the user manual to optimize energy efficiency.
Freezing Recommendations
Refer to the freezing recommendations in the user manual for best results.
Shopping Tips
After grocery shopping, follow the recommended storage guidelines for different types of food.
Storage Duration
Refer to the user manual for recommended storage durations for different types of food.
Cleaning and Maintenance
Interior Cleaning
Follow the cleaning instructions provided in the user manual to clean the interior of the freezer.
Standby Periods
Refer to the user manual for instructions on standby periods and proper maintenance during periods of non-usage.
Troubleshooting
What to Do If
If the power plug is not properly inserted into the socket, refer to the troubleshooting section in the user manual for assistance.
WE’RE THINKING OF YOU
Thank you for purchasing an Electrolux appliance. You’ve chosen a product that brings with it decades of professional experience and innovation. Ingenious and stylish, it has been designed with you in mind. So whenever you use it, you can be safe in the knowledge that you’ll get great results every time.
Welcome to Electrolux.
Visit our website to:
- Get usage advice, brochures, trouble shooter, service and repair information: www.electrolux.com/support.
- Register your product for better service: www.registerelectrolux.com.
- Buy Accessories, Consumables and Original spare parts for your appliance: www.electrolux.com/shop.
CUSTOMER CARE AND SERVICE
Always use original spare parts. When contacting our Authorised Service Centre, ensure that you have the following data available: Model, PNC, Serial Number. The information can be found on the rating plate.
- Warning/Caution-Safety information
- General information and tips
- Environmental information
Subject to change without notice.
SAFETY INFORMATION
Before the installation and use of the appliance, carefully read the supplied instructions. The manufacturer is not responsible for any injuries or damage that are the result of incorrect installation or usage. Always keep the instructions in a safe and accessible location for future reference.
Children and vulnerable people safety
- This appliance can be used by children aged from 8 years and above and persons with reduced physical, sensory or mental capabilities or lack of experience and knowledge if they have been given supervision or instruction concerning the use of the appliance in a safe way and understand the hazards involved.
- Children aged from 3 to 8 years are allowed to load and unload the appliance provided that they have been properly instructed.
- This appliance may be used by persons with very extensive and complex disabilities provided that they have been properly instructed.
- Children of less than 3 years of age should be kept away from the appliance unless continuously supervised.
- Children should be supervised to ensure that they do not play with the appliance.
- Children shall not carry out cleaning and user maintenance of the appliance without supervision.
- Keep all packaging away from children and dispose of it appropriately.
General Safety
- This appliance is for storing food and baverages only.
- This appliance is designed for single household domestic use in an indoor environment.
- This appliance may be used in, offices, hotel guest rooms, bed & breakfast guest rooms, farm guest houses and other similar accommodation where such use does not exceed (average) domestic usage levels.
- To avoid contamination of food respect the following instructions:
- do not open the door for long periods;
- clean regularly surfaces that can come in contact with food and accessible drainage systems;
- WARNING: Keep ventilation openings, in the appliance enclosure or in the built-in structure, clear of obstruction.
- WARNING: Do not use mechanical devices or other means to accelerate the defrosting process, other than those recommended by the manufacturer.
- WARNING: Do not damage the refrigerant circuit.
- WARNING: Do not use electrical appliances inside the food storage compartments of the appliance, unless they are of the type recommended by the manufacturer.
- Do not use water spray and steam to clean the appliance.
- Clean the appliance with a moist soft cloth. Only use neutral detergents. Do not use abrasive products, abrasive cleaning pads, solvents or metal objects.
- When the appliance is empty for long period, switch it off, defrost, clean, dry and leave the door open to prevent mould from developing within the appliance.
- Do not store explosive substances such as aerosol cans with a flammable propellant in this appliance.
- If the supply cord is damaged, it must be replaced by the manufacturer, its Authorised Service Centre or similarly qualified persons in order to avoid a hazard.
SAFETY INSTRUCTIONS
Installation
WARNING!
Only a qualified person must install this appliance.
- Remove all the packaging.
- Do not install or use a damaged appliance.
- Follow the installation instructions supplied with the appliance.
- Always take care when moving the appliance as it is heavy. Always use safety gloves and enclosed footwear.
- Make sure the air can circulate around the appliance.
- At first installation or after reversing the door wait at least 4 hours before connecting the appliance to the power supply. This is to allow the oil to flow back in the compressor.
- Before carrying out any operations on the appliance (e.g. reversing the door), remove the plug from the power socket.
- Do not install the appliance close to radiators or cookers, ovens, or hobs, unless otherwise specified in the installation instructions.
- Do not expose the appliance to the rain.
- Do not install the appliance where there is direct sunlight.
- Do not install this appliance in areas that are too humid or too cold.
- When you move the appliance, lift it by the front edge to avoid scratching the floor.
Electrical connection
- WARNING!
Risk of fire and electric shock. - WARNING!
When positioning the appliance, ensure the supply cord is not trapped or damaged. - WARNING!
Do not use multi-plug adapters and extension cables. - The appliance must be earthed.
- Make sure that the parameters on the rating plate are compatible with the electrical ratings of the mains power supply.
- Always use a correctly installed shockproof socket.
- Make sure not to cause damage to the electrical components (e.g. mains plug, mains cable, compressor). Contact the Authorised Service Centre or an electrician to change the electrical components.
- The mains cable must stay below the level of the mains plug.
- Connect the mains plug to the mains socket only at the end of the installation. Make sure that there is access to the mains plug after the installation.
- Do not pull the mains cable to disconnect the appliance. Always pull the mains plug.
Use
WARNING!
Risk of injury, burns, electric shock or fire.
The appliance contains flammable gas, isobutane (R600a), a natural gas with a high level of environmental compatibility. Be careful not to cause damage to the refrigerant circuit containing isobutane.
- Do not change the specification of this appliance.
- Do not put electrical appliances (e.g. ice cream makers) in the appliance unless they are stated applicable by the manufacturer.
- If damage occurs to the refrigerant circuit, make sure that there are no flames and sources of ignition in the room. Ventilate the room.
- Do not let hot items to touch the plastic parts of the appliance.
- Do not put soft drinks in the freezer compartment. This will create pressure on the drink container.
- Do not store flammable gas and liquid in the appliance.
- Do not put flammable products or items that are wet with flammable products in, near or on the appliance.
- Do not touch the compressor or the condenser. They are hot.
- Do not remove or touch items from the freezer compartment if your hands are wet or damp.
- Do not freeze again food that has been thawed.
- Follow the storage instructions on the packaging of frozen food.
- Wrap the food in any food contact material before putting it in the freezer compartment.
- Do not place unpacked food on the appliance.
Care and cleaning
WARNING!
Risk of injury or damage to the appliance.
- Before maintenance, deactivate the appliance and disconnect the mains plug from the mains socket.
- This appliance contains hydrocarbons in the cooling unit. Only a qualified person must do the maintenance and the recharging of the unit.
- Regularly examine the drain of the appliance and if necessary, clean it. If the drain is blocked, defrosted water collects in the bottom of the appliance.
Service
- To repair the appliance contact the Authorised Service Centre. Use original spare parts only.
- Please note that self-repair or non-professional repair can have safety consequences and might void the guarantee.
- The following spare parts will be available for 7 years after the model has been discontinued: thermostats, temperature sensors, printed circuit boards, light sources, door handles, door hinges, trays and baskets. Please note that some of these spare parts are only available to professional repairers, and that not all spare parts are relevant for all models.
- Door gaskets will be available for 10 years after the model has been discontinued.
Disposal
WARNING!
Risk of injury or suffocation.
- Disconnect the appliance from the mains supply.
- Cut off the mains cable and discard it.
- Remove the door to prevent children and pets to be closed inside of the appliance.
- The refrigerant circuit and the insulation materials of this appliance are ozone-friendly.
- The insulation foam contains flammable gas. Contact your municipal authority for information on how to discard the appliance correctly.
- Do not cause damage to the part of the cooling unit that is near the heat exchanger.
INSTALLATION
WARNING!
Refer to Safety chapters.
Dimensions

| Overall dimensions ¹ | ||
| mm | 845 | |
| mm | 604 | |
| mm | 576 | |
the height, width and depth of the appliance without the handle
| Space required in use ² | ||
| H2 | mm | 945 |
| W2 | mm | 804 |
| D2 | mm | 689 |
the height, width and depth of the appliance including the handle, plus the space necessary for free circulation of the cooling air
| Overall space required in use ³ | ||
| H2 | mm | 945 |
| W3 | mm | 1193 |
| D3 | mm | 1209 |
³ the height, width and depth of the appliance including the handle, plus the space necessary for free circulation of the cooling air, plus the space necessary to allow door opening to the minimum angle permitting removal of all internal equipment
Location
This appliance is not intended to be used as a built-in appliance. In case of different installation from freestanding respecting space required in use dimensions, the appliance will function correctly but energy consumption might increase slightly.
To ensure appliance’s best functionality, you should not install the appliance in the place with direct sunlight. Do not install the appliance close to the heat source (oven, stoves, radiators, cookers, hoods, hobs or extractor hobs) unless otherwise specified in the installation instruction. Make sure that air can circulate freely around the back of the cabinet. This appliance should be installed in a dry, well ventilated indoor position. To ensure best performance, if the appliance is positioned below an overhanging wall unit, the minimum distance between the top of the cabinet shall be maintained. Ideally, however, the appliance should not be positioned below overhanging wall units. One or more adjustable feet at the base of the cabinet ensure that the appliance stands level.
CAUTION!
If you position the appliance against the wall, use back spacers provided or keep the minimum distance indicated in the installation instructions.
CAUTION!
If you install the appliance next to a wall, refer to the installation instructions to understand the minimum distance between the wall and the side of the appliance where door hinges are to provide enough space to open the door when the internal equipment is removed (e.g. when cleaning).
- This appliance is intended to be used at ambient temperature ranging from 10°C to 38°C.
- The correct operation of the appliance can only be guaranteed within the specified temperature range.
- If you have any doubts regarding where to install the appliance, please turn to the vendor, to our customer service or to the nearest Authorised Service Centre.
- It must be possible to disconnect the appliance from the mains power supply. The plug must therefore be easily accessible after installation.
Electrical connection
- Before plugging in, ensure that the voltage and frequency shown on the rating plate correspond to your domestic power supply.
- The appliance must be earthed. The power supply cable plug is provided with a contact for this purpose. If the domestic power supply socket is not earthed, connect the appliance to a separate earth in compliance with current regulations, consulting a qualified electrician.
- The manufacturer declines all responsibility if the above safety precautions are not observed.
Levelling
When placing the appliance make sure that it stands level. This can be achieved by two adjustable feet at the bottom in front.
Door reversibility
WARNING!
Before carrying out any operations, remove the plug from the power socket.
- Make sure the appliance stands upright.
- Open the door and remove the door equipment. Refer to the “Daily use” chapter. Close the door.
- Unscrew the screws on the back of the top cover.

- Lift the top cover and place it on a soft surface.
- Unscrew the 4 screws that connect the upper hinge. Put the upper hinge in a safe place together with the screws.

- Lift the door and put it on a soft surface.
- Tilt the appliance carefully on a soft foam packaging or similar material to avoid any damage to the back of the appliance and the floor.
- Unscrew the screws of the bottom hinge and adjustable feet.

- Install the pin in the opposite hole of the hinge.
- Screw the bottom hinge on the other side of the appliance.
- Install the rubber support on the side with no hinge.
- Fit the door on the lower hinge making sure the hinge pin enters the door bottom hole.
- Install the upper hinge on the opposite side of the appliance. Fit the upper hinge pin into the door upper hole. Tighten the screws.

- Screw the remaining 2 screws on the top side of the appliance with no hinge.
- Place the top cover on the appliance and tighten the screws on the back.

Install the door equipment.
Wait at least 4 hours before connecting the appliance to the power supply.
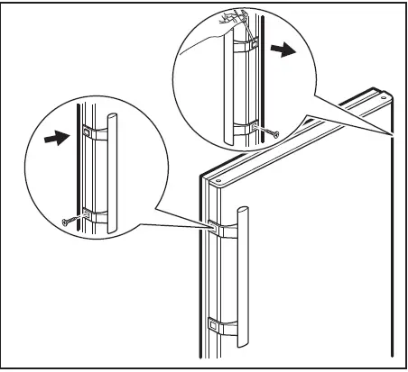
Installation of a door handle
If there is a door handle provided in a bag separately, you can install it as follows:
- Remove the screws from the holes on the side of the door.
- Take the handle out of the bag.
- Match the handle holes with the holes in the door.
- Screw the handle with the previously removed screws.
- Take out the screw covers out of the bag and put them on the top of the screws.

OPERATION
Control panel

- Temperature indicator
- Super Freeze indicator
- Control button
Switching on
Insert the plug into the wall socket.
Switching off
To turn off the appliance, remove the plug from the power socket.
Temperature regulation
To set the temperature, press the Control button repeatedly until you reach the desired temperature.
Recommended set temperature is:
- -18°C for the freezer. The temperature range may vary between
- -15°C and -24°C for freezer. Choose the setting keeping in mind that the temperature inside the appliance depends on:
- room temperature,
- frequency of opening the door,
- quantity of food stored,
- appliance location.
The temperature indicators show the set temperature. The set temperature is reached within 24 hours. After a power failure it remains stored.
Super Freeze function
The Super Freeze function performs pre-freezing and fast freezing in sequence in the freezer compartment. This function accelerates the freezing of fresh food and, at the same time, protects foodstuffs already stored from warming up.
- To freeze fresh food activate the Super Freeze function at least 24 hours before placing the food to complete pre-freezing.
- To activate the Super Freeze function, press and hold the Control button for 3 seconds. The Super Freeze indicator flashes.
DAILY USE
Freezing fresh food
The freezer compartment is suitable for freezing fresh food and storing frozen and deep-frozen food for a long time. To freeze fresh food activate the Super Freeze function at least 24 hours before placing the food to be frozen in the freezer compartment. Store the fresh food evenly distributed in the first and second compartment or drawer from the top. The maximum amount of food that can be frozen without adding other fresh food during 24 hours is specified on the rating plate (a label located inside the appliance).
Storage of frozen food
When activating an appliance for the first time or after a period out of use, before putting the products in the compartment let the appliance run at least 3 hours with the Super Freeze function switched on. The freezer drawers ensure that it is quick and easy to find the food package you want. If large quantities of food are to be stored, remove all drawers, except for the bottom drawer which needs to be in place to provide good air circulation. Keep the food on the shelves no closer than 15 mm from the door.
CAUTION!
In the event of accidental defrosting, for example due to a power failure, if the power has been off for longer than the value shown on rating plate under “rising time”, the defrosted food must be consumed quickly or cooked immediately then cooled and then re-frozen.
Thawing
Deep-frozen or frozen food, prior to being used, can be thawed in the refrigerator or at room temperature, depending on the time available for this operation. Small pieces may even be cooked still frozen, directly from the freezer: in this case, cooking will take longer.
Ice-cube tray
This appliance is equipped with one or more trays for the production of ice-cubes.
- Do not use metallic instruments to remove the trays from the freezer .
- Fill the ice-cube trays with water.
- Put them in the freezer .
HINTS AND TIPS
Hints for energy saving
- The internal configuration of the appliance is the one that ensures the most efficient use of energy.
- Do not open the door frequently or leave it open longer than necessary.
- The colder the temperature setting, the higher the energy consumption.
- If the ambient temperature is high and the temperature control is set to low temperature and the appliance is fully loaded, the compressor may run continuously, causing frost or ice formation on the evaporator. In this case, set the temperature control toward higher temperature to allow automatic defrosting and to save energy this way.
- Ensure a good ventilation. Do not cover the ventilation grilles or holes.
Hints for freezing
- Activate Super Freeze function at least 24 hours before placing the food inside the freezer compartment.
- Before freezing wrap and seal fresh food in: aluminium foil, plastic film or bags, airtight containers with lid.
- For more efficient freezing and thawing divide food into small portions.
- It is recommended to put labels and dates on all your frozen food. This will help to identify foods and to know when they should be used before their deterioration.
- The food should be fresh when being frozen to preserve good quality. Especially fruits and vegetables should be frozen after the harvest to preserve all of their nutrients.
- Do not freeze bottles or cans with liquids, in particular drinks containing carbon dioxide – they may explode during freezing.
- Do not put hot food in the freezer compartment. Cool it down at room temperature before placing it inside the compartment.
- To avoid increase in temperature of already frozen food, do not place fresh unfrozen food directly next to it. Place food at room temperature in the part of the freezer compartment where there is no frozen food.
- Do not eat ice cubes, water ices or ice lollies immediately after taking them out of the freezer. Risk of frostbites.
- Do not re-freeze defrosted food. If the food has defrosted, cook it, cool it down and then freeze it.
Hints for storage of frozen food
- Freezer compartment is the one marked with
. - Good temperature setting that ensures preservation of frozen food products is a temperature less than or equal to -18°C. Higher temperature setting inside the appliance may lead to shorter shelf life.
- The whole freezer compartment is suitable for storage of frozen food products.
- Leave enough space around the food to allow air to circulate freely.
- For adequate storage refer to food packaging label to see the shelf life of food.
- It is important to wrap the food in such a way that prevents water, humidity or condensation from getting inside.
Shopping tips
After grocery shopping:
- Ensure that the packaging is not damaged the food could be deteriorated. If the package is swollen or wet, it might have not been stored in the optimal conditions and defrosting may have already started.
- To limit the defrosting process buy frozen goods at the end of your grocery shopping and transport them in a thermal and insulated cool bag.
- Place the frozen foods immediately in the freezer after coming back from the shop.
- If food has defrosted even partially, do not re-freeze it. Consume it as soon as possible.
- Respect the expiry date and the storage information on the package.
Shelf life
| Type of food | Shelf life (months) |
| Bread | 3 |
| Fruits (except citrus) | 6 – 12 |
| Vegetables | 8 – 10 |
| Leftovers without meat | 1 – 2 |
| Dairy food: | |
| Butter | 6 – 9 |
| Soft cheese (e.g. mozzarella) | 3 – 4 |
| Hard cheese (e.g. parmesan, cheddar) | 6 |
| Seafood: | |
| Fatty fish (e.g. salmon, mackerel) | 2 – 3 |
| Lean fish (e.g. cod, flounder) | 4 – 6 |
| Shrimps | 12 |
| Shucked clams and mussels | 3 – 4 |
| Cooked fish | 1 – 2 |
| Meat: | |
| Poultry | 9 – 12 |
| Beef | 6 – 12 |
| Pork | 4 – 6 |
| Lamb | 6 – 9 |
| Sausage | 1 – 2 |
| Ham | 1 – 2 |
| Leftovers with meat | 2 – 3 |
CARE AND CLEANING
WARNING!
Refer to Safety chapters.
Cleaning the interior
Before using the appliance for the first time, the interior and all internal accessories should be washed with lukewarm water and some neutral soap to remove the typical smell of a brand-new product, then dried thoroughly.
- CAUTION!
Do not use detergents, abrasive powders, chlorine or oil-based cleaners as they will damage the finish. - CAUTION!
The accessories and parts of the appliance are not suitable for washing in a dishwasher.
Periodic cleaning
The equipment has to be cleaned regularly:
- Clean the inside and accessories with lukewarm water and some neutral soap.
- Regularly check the door seals and wipe them clean to ensure they are clean and free from debris.
- Clean the condenser with a brush at least twice a year.
- Rinse and dry thoroughly.
Defrosting of the appliance
The defrosting of the freezer compartment is automatic. Although, a layer of frost may occur on the freezer compartment’s interior walls if the freezer door is opened frequently or kept open too long.
Periods of non-operation
When the appliance is not in use for long periods, take the following precautions:
- Disconnect the appliance from electricity supply.
- Remove all food.
- Clean the appliance and all accessories.
- Leave the door open to prevent unpleasant smells.
TROUBLESHOOTING
WARNING!
Refer to Safety chapters.
What to do if
| Problem | Possible cause | Solution |
| The appliance does not operate. | The appliance is switched off. | Switch on the appliance. |
| The mains plug is not connected to the mains socket correctly. | Connect the mains plug to the mains socket correctly. | |
| There is no voltage in the mains socket. | Connect a different electrical appli‐ ance to the mains socket. Contact a qualified electrician. | |
| The appliance is noisy. | The appliance is not supported properly. | Check if the appliance stands sta‐ ble. |
| The compressor operates continual‐ ly. | Temperature is set incorrectly. | Refer to the “Operation” chapter. |
| Many food products were put in at the same time. | Wait a few hours and then check the temperature again. | |
| The room temperature is too high. | Refer to the “Installation” chapter. | |
| Food products placed in the appli‐ ance were too warm. | Allow food products to cool to room temperature before storing. | |
| The door is not closed correctly. | Refer to the “Closing the door” sec‐ tion. | |
| The Super Freeze function is switched on. | Refer to the “Super Freeze function” section. | |
| The compressor does not start im‐ | The compressor starts after a period | This is normal, no error has occur‐ |
| mediately after pressing the “Super Freeze”, or after changing the tem‐ perature. | of time. | red. |
| Door is misaligned or interferes with ventilation grill. | The appliance is not levelled. | Refer to the installation instructions. |
| Door does not open easily. | You attempted to re-open the door | Wait a few seconds between closing |
| immediately after closing. | and re-opening of the door. | |
| There is too much frost and ice. | The door is not closed correctly. | Refer to the “Closing the door” sec‐ |
| tion. | ||
| The gasket is deformed or dirty. | Refer to the “Closing the door” sec‐ | |
| tion. | ||
| Food products are not wrapped | Wrap the food products better. | |
| properly. | ||
| Temperature is set incorrectly. | Refer to the “Operation” chapter. | |
| Appliance is fully loaded and is set | Set a higher temperature. Refer to | |
| to the lowest temperature. | the “Operation” chapter. | |
| Temperature set in the appliance is | Set a higher temperature. Refer to | |
| too low and the ambient tempera‐ | the “Operation” chapter. | |
| ture is too high. | ||
| Water flows inside the refrigerator. | Food products prevent the water | Make sure that food products do not |
| from flowing into the water collector. | touch the rear plate. | |
| The water outlet is clogged. | Clean the water outlet. | |
| Water flows on the floor. | The melting water outlet is not con‐ | Attach the melting water outlet to |
| nected to the evaporative tray above | the evaporative tray. | |
| the compressor. | ||
| Temperature cannot be set. | The Super Freeze function is | Switch off the Super Freeze function |
| switched on. | manually, or wait until the function | |
| deactivates automatically to set the | ||
| temperature. Refer to the “Super | ||
| Freeze function” section. | ||
| The temperature in the appliance is | The temperature is not set correctly. | Set a higher/lower temperature. |
| too low/too high. | ||
| The door is not closed correctly. | Refer to the “Closing the door” sec‐ | |
| tion. | ||
| The food products’ temperature is | Let the food products temperature | |
| too high. | decrease to room temperature be‐ | |
| fore storage. | ||
| Many food products are stored at | Store less food products at the | |
| the same time. | same time. | |
| The door has been opened often. | Open the door only if necessary. | |
| The Super Freeze function is | Refer to the “Super Freeze function” | |
| switched on. | section. | |
| There is no cold air circulation in the | Make sure that there is cold air cir‐ | |
| appliance. | culation in the appliance. Refer to | |
| the “Hints and tips” chapter. |
If the advice does not lead to the desired result, call the nearest Authorized Service Centre.
Closing the door
- Clean the door gaskets.
- If necessary, adjust the door. Refer to the “Installation” chapter.
- If necessary, replace the defective door gaskets. Contact the Authorised Service Centre.
NOISES

TECHNICAL DATA
The technical information is situated in the rating plate on the internal side of the appliance and on the energy label.
- Voltage 230-240 V
- Frequency 50 Hz
INFORMATION FOR TEST INSTITUTES
Installation and preparation of the appliance for any EcoDesign verification shall be compliant with EN 62552 (EU). Ventilation requirements, recess dimensions and minimum rear clearances shall be as stated in this User Manual in “Installation”. Please contact the manufacturer for any other further information, including loading plans.
GUARANTEE
Customer Service Centres
| Point of Service | ||
| Industriestrasse 10 | Le Trési 6 | Via Violino 11 |
| 5506 Mägenwil | 1028 Préverenges | 6928 Manno |
| Morgenstrasse 131 3018 Bern | Service-Helpline 0848 848 111 [email protected] | |
| Langgasse 10 9008 St. Gallen | ||
| Am Mattenhof 4a/b 6010 Kriens | ||
| Schlossstrasse 1 4133 Pratteln | ||
| Comercialstrasse 19 7000 Chur | ||
- Spare parts service Industriestrasse 10, 5506 Mägenwil, Tel. 0848 848 111
- Specialist advice/Sale Badenerstrasse 587, 8048 Zürich, Tel. 044 405 81 11
Warranty
For each product we provide a two-year guarantee from the date of purchase or delivery to the consumer (with a guarantee certificate, invoice or sales receipt serving as proof). The guarantee covers the costs of materials, labour and travel. The guarantee will lapse if the operating instructions and conditions of use are not adhered to, if the product is incorrectly installed, or in the event of damage caused by external influences, force majeure, intervention by third parties or the use of non-genuine components.
ENVIRONMENTAL CONCERNS
Recycle materials with the symbol. Put the packaging in relevant containers to recycle it. Help protect the environment and human health by recycling waste of electrical and electronic appliances. Do not dispose of appliances marked with the symbol with the household waste. Return the product to your local recycling facility or contact your municipal office.
For Switzerland:
Where should you take your old equipment?
Anywhere that sells new equipment or hand it in to official SENS collection points or official SENS recycling firms. The list of official SENS collection points can be found at www.erecycling.ch.
804183165-A-172023.






















