Tribit BTH72 QuietPlus 72 Active Noise Cancelling Wireless Headphones
Package Contents
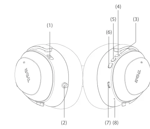
Product Diagram
- Active Noise Cancelling Slide Switch
- 3.5mm Audio Input
- LED Indicator
- Volume+/ Next Track
- MFB Button
- Volume-/ Previous Track
- Type-C Charging Port
- Microphone
Turn on /off
- To power on the headphones, press and hold the MFB button for 2 seconds. The LED indicator will flash blue for 1 second.
- To power off, press and hold the MFB button for 5 seconds. The LED indicator will flash red for 1 second and then go off.
Bluetooth Connection
- Press and hold the MFB button for 5 seconds until the LED indicator flashes blue. A moment later, the headphones will automatically enter pairing mode, with the LED flashing red and blue alternately.
- Activate the Bluetooth function on your Bluetooth-enabled device. Select the Tribit QuietPlus 72 from the list of Bluetooth devices found by your device and connect.
Simultaneous Connection with Two Devices
- Follow the instructions in the”Pairing” section to pair the headphones with Device A.
- Once paired, disable the Bluetooth function on Device A.
- Follow the instructions in the”Pairing” section to pair the headphones with Device B.
- Once paired with Device B, reactivate the Bluetooth function on Device A and select”Tribit QuietPlus 72″in the list of paired devices.
- You can now make and receive calls from either of the two paired devices.
Noise Cancellation
The Noise Cancellation Function can reduce the unwanted noise to provide you with a clearer, more lifelike audio effect. You can choose your noise cancelling mode based on your listening preference and environment. Once the function is turned on, the ANC state will be on and the green indicator will be always on.
| Volume up | Short press the”+” button |
| Volume down | Short press the”-“button |
| Next track | Press and hold the”+” button for 2 seconds |
| Previous track | Press and hold the”-” button for 2 seconds |
| Play/Pause | Press the MFB button once |
| Answer/ End the call | Press the MFB button once |
| Reject the call | Keep the MFB button pressed for seconds |
| Redial the last called number | Press the”+” and”-“buttons simultaneously for 1 second |
| Activate Siri | Press the MFB button twice |
| Clear the pairing list | Press and hold the MFB button and”+” button simultaneously for 4 seconds in the power-on state to clear the pairing list, then the headphones will enter the pairing state automatically. |
Voice Prompt
| Power on | Power on |
| Power off | Power off |
| Pairing | Pairing |
| Successful pairing | Connected |
| Disconnection | Disconnected |
Charge the Headphones
Connect the Type-C cable to the Type-C port on the headphone, and an SV power outlet (a power adapter is not included). The indicator light will glow red to indicate charging. When the headphones are fully charged (within 3 hours), the indicator light will change from red to blue.
Customer Service
The headphones have a full 18-month warranty against manufacturing defects starting from the purchase date. For FAQs and more information, please email to [email protected].
FCC Statement
Changes or modifications not expressly approved by the party responsible for compliance could void the user’s authority to operate the equipment. This equipment has been tested and found to comply with the limits for a Class B digital device, pursuant to Part 15 of the FCC Rules. These limits are designed to provide reasonable protection against harmful interference in a residential installation. This equipment generates uses and can radiate radio frequency energy and, if not installed and used in accordance with the instructions, may cause harmful interference to radio communications. However, there is no guarantee that interference will not occur in a particular installation. If this equipment does cause harmful interference to radio or television reception, which can be determined by turning the equipment off and on, the user is encouraged to try to correct the interference by one or more of the following measures:
- Reorient or relocate the receiving antenna.
- Increase the separation between the equipment and receiver.
- Connect the equipment into an outlet on a circuit different from that to which the receiver is connected.
- Consult the dealer or an experienced radio/TV technician for help
This device complies with part 15 of the FCC rules. Operation is subject to the following two conditions
- this device may not cause harmful interference, and
- this device must accept any interference received, including interference that may cause undesired operation.
























