Roland TUC-4 Automatic Take Up Roller DG Printer
Thank you very much for purchasing this product.
- To ensure correct and safe usage with a full understanding of this product’s performance, please be sure to read through this manual completely.
- Unauthorized copying or transferal, in whole or in part, of this manual is prohibited.
- The specifications of this product and the contents of this operation manual are subject to change without notice.
- The operation manual and the product have been prepared and tested as much as possible. If you find any misprints or errors, please inform us.
- Roland DG Corporation assumes no responsibility for any direct or indirect loss or damage that may occur through use of this product, regardless of any failure to perform on the part of this product.
- Roland DG Corporation assumes no responsibility for any direct or indirect loss or damage that may occur with respect to any article made using this product.
Introduction
About This Machine
Features of This Machine
- This is a take-up unit for Roland DG Corporation large format printers.
- It enables automatic take-up of the media during printing. This allows for lengthy printing and unat-tended operation at night to be accomplished efficiently.
- The maximum weight for usable media is 40 kg (88.18 lb.). Stable take-up is possible even for heavy media (if the printer’s usable media weight is less than 40 kg (88.18 lb.), media weighing more than this cannot be used).
- The amount of tension when taking up can be selected depending on the properties of the media. With more resilient media such as PVC, you can take up with a little slack. This will reduce the feed difference between the left and right sides of the media. With less resilient media such as tarpaulin, you can take up with slightly stronger tension.
Main Compatible Models
- TrueVIS series (VF2-640, VG2-640/540, SG2-640/540/300, VG-640/540, SG-540/300, MG-640/300, etc.)
- VersaUV series (LEC2-300 and LEC2-640/330)
Selecting the Take-up Method
Installing this machine will cause the printer menu list, etc. to change as follows.
It is possible to select the take-up method (“TU”, “TU2”, or “TU3”) on the “SETUP SHEET” screen.
Select the take-up method to match the output method.
| Take-up method | Output method | Description |
| “TU” | Printing only * However, the case in which the media is pulled back after printing in order to print on the media again is excluded. | Take-up is performed at the same time as output. The work can be completed in less time than is required with the “TU2” setting. However, this setting causes an error to occur during output performed with cutting operations, so this setting cannot be used in this situation. * When pulling back the media after printing in order to print on the media again, select the “TU2” setting. |
| “TU2”*1 | Cutting only, printing and cutting, crop- ping and cutting * However, the case in which the media is pulled back after printing in order to print on the media again is included. | No take-up is performed until the output of the piece of data is finished. When the output is finished, the length of media that was output is pulled back and is then taken up. The work time is longer than that for the “TU” set- ting, but this setting can be used to perform take-up even for output performed with cutting operations. |
| “TU3”*2 | Printing only | Use this method when using media (such as soft packaging) that is not transported by pulling it back. The cutting operation and media cut-off are not possible. |
- This is not displayed if you are using the VF2-640.
- This is only displayed if you are using the LEC2-330, MG-300, or TB-30.
Part Names and Functions
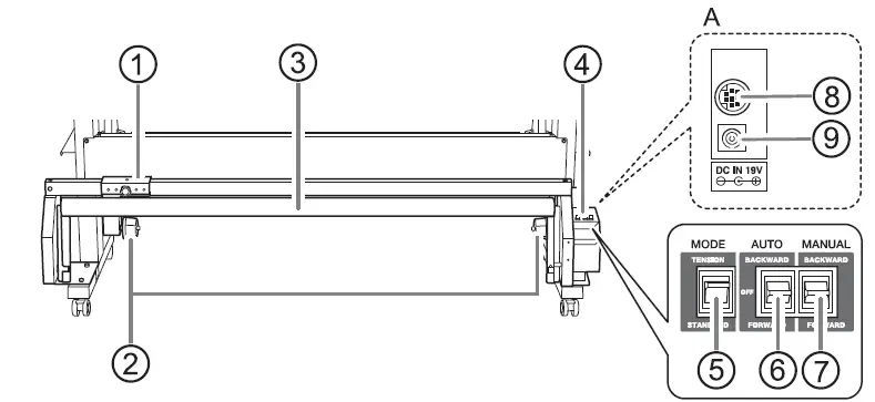
A: Back of the control box
| No. | Name | Function overview |
| 1 | Arm | This is used when securing the loaded paper tube. |
| 2 | End caps | These are used when loading the paper tube for take-up. |
| 3 | Dancer roller | This keeps the media tension constant. |
| 4 | Control box | This controls the media take-up. |
| 5 | MODE switch | Select either [STANDARD] to loosely take up the media or [TENSION] to stretch the media while taking it up. |
| 6 | AUTO switch | This changes the direction of rotation when automatically taking up while printing. |
| 7 | MANUAL switch | Use this when you want to manually operate the take-up unit. |
| 8 | Printer connector | This connects the included printer connection cable. |
| 9 | AC adapter jack | This connects the included dedicated AC adapter. |
About the Notation Used in This Manual
In this document, the keys and lights on the printer unit operation panel are indicated as shown below.
| Part | Name | Details | Notation in this manual |
![]() | Cursor keys | Use these to select settings for menu items, to move the media, and for other such operations. | [◀][▼][▲][▶] |
![]() | SETUP light | The light turns on when media has been loaded correctly. | [SETUP] |
![]() | ENTER key | Use this for such tasks as enabling setting values. | [ENTER] |
| BASE POINT light | The light turns on when the base point (the output-start location) has been set. | [BASE] |
Checking the Package Contents
The following enclosed items are divided into two packages. Make sure they are all present and accounted for.
Control Box (TUC-4)
Rails & Accessories (TU4-64/54/30)
Assembly and Installation
Read This before Starting Work
- Perform work after installing the printer to be used in the desired location.
- Perform work in a level, stable, and flat location.
- Performing work near the printer to which this machine will be attached is recommended.
WARNING
- Never install this machine outside or in any location where exposure to water or high humidity may occur.
Current leakage may cause electrical shock or fire. - Never install the machine close to any flammable object or in a gas-filled location.
Combustion or explosion could occur. - Install the machine in a clean, brightly lit location.
Working in a location that is dark or cluttered may lead to an accident, such as becoming caught in the machine as the result of an inadvertent stumble. - Position the machine so that the power plug is within immediate reach at all times.
This is to enable quick disconnection of the power plug in the event of an emergency. Install the machine next to an electrical outlet. Also, provide enough empty space to allow immediate access to the electrical outlet.
Assembly and Installation
CAUTION
Unloading and emplacement are operations that must be performed by 2 persons or more.
Tasks that require undue effort when performed by a small number of persons may result in physical injury. Also, if dropped, such items may cause injury.
MEMO
The VG-640 is used for the figures depicting common operations.
Step 1: Assembling the Take-up Unit
Procedure
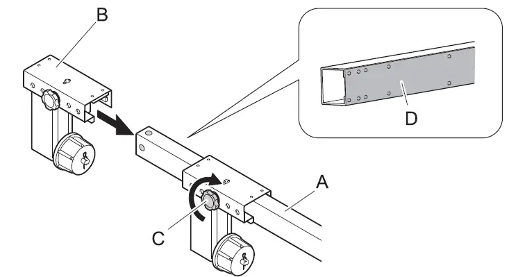
- Attach the arm (B) to the rail slider (A) and fix it with the arm retaining screw (C).
Orient the rail slider so its riveted side (D) is on the side opposite the arm retaining screw.
- Place the right slider stay (A) and the left slider stay (B) apart from each other with enough space between them to fit the machine. (*1)

*1 64-inch model: Approx. 1.9 m (74.80 in.) 54-inch model: Approx. 1.7 m (66.93 in.) 30-inch model: Approx. 1.0 m (39.37 in.) - Fix the rail slider in place on top of the right and left slider stays.
- Align the rail slider slit (A) with the left slider stay protrusion (B), and then place the rail slider on top of the left and right slider stays.

- Align the edges of the rail slider with the edges of the left and right slider stays.
- Fix the rail slider in place using the bolts with washers (large).

- Align the rail slider slit (A) with the left slider stay protrusion (B), and then place the rail slider on top of the left and right slider stays.
- Install mounting bracket A (A) and fully tighten the bolts with washers (large) connecting the rail slider and the left and right slider stays.

Step 2: Fixing the Assembled Take-up Unit to the Printer Stand
Procedure
- Make sure the printer stand screws are not loose.
If they are loose, tighten them once again. - Place the take-up unit on the stand.
- When using the VG-640/540, SG-540/300, LEC2-300, LEC2-640/330, MG-640/300

- When using the VF2-640, VG2-640/540, SG2-640/540/300
- Insert a bolt with washer (large) from the bottom into the hole on the right stand leg. There are two holes in the stand leg, but only insert the bolt in the hole on the stand post side.

- Place the take-up unit on the stand.

- Insert a bolt with washer (large) from the bottom into the hole on the right stand leg. There are two holes in the stand leg, but only insert the bolt in the hole on the stand post side.
- Note the following points and set the fixing location for the take-up unit.
- Align the bolt with washer (large) inserted in step (1) with the hole in the right slider stay.
MEMO
If it is difficult to align the bolt with washer (large) with the hole in the right slider stay, adjust the right slider stay (A) and the stand leg to positions where their inside faces are pointed at each other. This brings the hole in the right slider stay (B) close to the position of the bolt with washer (large) and thereby makes it easy to align these parts.
- Place the left and right slider stays approximately 10 mm (0.39 in.) (C) away from the stand legs.

- Align the bolt with washer (large) inserted in step (1) with the hole in the right slider stay.
- When using the VG-640/540, SG-540/300, LEC2-300, LEC2-640/330, MG-640/300
- Fix the left and right slider stays to the stand legs.
- When using the VG-640/540, SG-540/300, LEC2-300, LEC2-640/330, MG-640/300

- While pushing mounting bracket C against the side of the stand leg, temporarily tighten the bolts with washers (small).

- Use the hexagonal wrench (small) to temporarily tighten the bolts fixing the two instances of mounting bracket B to the left and right slider stays.
MEMO
Orient the two instances of mounting bracket B so their elongated holes are in the positions shown in the figures.
- Push the take-up unit right next to the stand.
Push the left and right slider stays (A) against the stand legs, and then push the two instances of mounting bracket B (B) against the stand legs (C).
- While pushing mounting bracket C (A) against the stand leg, use the hexagonal wrench (small) to fully tighten the bolts with washers (small).

- Use the hexagonal wrench (small) to temporarily tighten the bolts fixing mounting bracket C (left side) to one instance of mounting bracket B and mounting bracket D (right side) to the other in-stance of mounting bracket B.

- While pushing the slider stays against the stand legs, fully tighten the bolts holding them in place.

- When using the VF2-640, VG2-640/540, SG2-640/540/300

- When using the VF2-640, VG2-640/540, SG2-640/540/300
- Use the hexagonal wrench (large) to temporarily tighten the bolts with washers (large) and additional washers in order, right slider stay followed by left slider stay.
Tighten one bolt on the right side of the right slider stay and two bolts on the left side of the left slider stay.
MEMO
Before you proceed to the next operations, the machine must be adjusted by a suitably qualified worker. Leave this work to the suitably qualified worker. - Fully tighten the bolts in order, right slider stay followed by left slider stay.
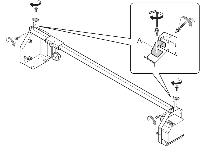
- Fix the take-up unit to the stand using mounting bracket E.
Use the hexagonal wrench (large) to insert the bolts with washers (large) (A) and the bolts (large) (B).
- MEMO
When fixing the take-up unit to the left stand, perform the work from the rear of the printer.
- When using the VG-640/540, SG-540/300, LEC2-300, LEC2-640/330, MG-640/300
- Install the dancer roller.
- Insert the left and right arms of the dancer roller into the left and right shafts and align the positions of their holes.
- Temporarily tighten the bolts with washers (large) in order, right slider stay followed by left slider stay.

- Fully tighten the bolts in order, right slider stay followed by left slider stay.
Step 3: Attaching the Cable Clamps
- When using the VF2-640, VG2-640/540, SG2-640/540/300, LEC2-300, VG-640/540, SG-540/300 Attach the large (A) and small (B) cable clamps to the positions shown in the figure.

- When using the LEC2-640/330, MG-640/300
- Attach the large (A) and small (B) cable clamps included with the TUC-4. (There are three cable clamps in total.)
- Attach the cable clamps (C) included with the LEC2-640/330, MG-640/300. (There are two cable clamps in total.)

Step 4: Connect the cables.
WARNING
- Connect to an electrical outlet that complies with this machine’s ratings (for voltage, frequency, and current).
Incorrect voltage or insufficient current may cause fire or electrical shock. - Do not use with any electrical power supply that does not meet the ratings displayed on the AC adapter.
Use with any other power supply may lead to fire or electrical shock. - Never use any AC adapter or power cord other than those included with the machine.
Use with any other power supply may lead to fire or electrical shock.
Procedure
- Insert the printer connection cable into the printer connector on the printer unit.
On the printer unit, the printer connector is located:- At the bottom of the front panel of the VF2-640, VG2-640/540, VG-640/540.*1
- At the bottom of the front panel of the SG2-640/540/300, SG-540/300.
- On the rear panel of the LEC2-300
- On the side panel of the LEC2-640/330, MG-640/300.

- Insert the printer connection cable into the printer connector on the control box.
If there are three connectors, connect the cable to the one labeled “TAKE UP.” - Connect the AC adapter (A) to the AC adapter jack (B) of the control box.
Bundle the excess cable with a cable clamp (large).
MEMO
Place the AC adapter inside the right slider stay. - Connect the power cord to the AC adapter, and then connect the power cord to an electrical outlet.
Fix the power cord in place with a cable clamp (small). Printer side
Operation
Notes to Follow
When using this machine, be sure to comply with the conditions shown below. Failure to do so may lead to errors occurring, the output stopping at unexpected times, and the output work being obstructed.
Do Not Perform Operations That Pull the Media with Excessive Force
When this machine is used, a tension for taking up the media is applied, so it is necessary to avoid operations that pull the media with excessive force.
- Do not operate the MANUAL switch on the take-up unit leaving the loading lever pulled (lowered).
- Do not feed the media reversely by pressing the [▲] cursor key.
Turn Off the Automatic Cut-off Function for the Media
If the media is cut off, take-up will be interrupted at that point. If you use the software RIP or a similar method to set the automatic cut-off function, take-up may be interrupted at an unexpected point. We recommend that you turn off the automatic cut-off function.
Notes to Follow When “TU” Is Selected
This section only applies to models that are equipped with a cutting function.
There are a number of notes to follow in order to ensure that the media is not pulled with excessive force when “TU” is selected from the printer menu list. Failure to do so may lead to errors occurring, the output stopping at unexpected times, and the output work being obstructed.
P. 4Selecting the Take-up Method
- Do not carry out output performed with cutting (cutting only, printing and cutting, and cropping and cutting).
- When sending media forward with the [▼] cursor key, set the base point.
- Set the “PREFEED” menu item to “DISABLE”.
- If there is the “FEED FOR DRY” menu item, set it to “DISABLE”.
Notes to Follow When “TU3” Is Selected
- Do not carry out output performed with cutting (cutting only, printing and cutting, and cropping and cutting).
- When media is sent forward with the [▼] cursor key, the base point is set automatically.
- Set the “PREFEED” menu item to “DISABLE”.
- If there is the “FEED FOR DRY” menu item, set it to “DISABLE”.
This section only applies to the case in which the TB-30 option is attached to the LEC2-330 or MG-300. For details, see the TB-30 Setup Guide.
https://downloadcenter.rolanddg.com/TB-30
Length Setting When “TU2” Is Selected
* If you are using the VF2-640, “TU2” is not displayed.
When “TU2” is selected in the printer menu list, no take-up is performed until the output of the piece of data is finished. Therefore, if the length to be output at one time is large, the media may touch the work floor and become soiled. To avoid soiling the media by touching the floor, output in approximately 300 mm (11.81 in.) increments.
P. 4Selecting the Take-up Method
Use the software RIP function to output limiting the length.
This section describes “how to output by limiting the length” using Versa Works. For information on the de-tailed usage of Versa Works, refer to the Versa Works user’s manual.
Procedure
- Open the [Queue Properties] window (or the [Job Settings] window).
Select the input folder. - Click
- Select [Custom UT] for [Size] under [Media Settings].
- Set [H].
[Queue Properties] Window
MEMO
The setting item and the method in the [Job Settings] window are the same as this procedure.
About Test Print
- Take-up is not performed during test print.
When the test print is finished, the length of media that was output is pulled back and is then taken up.
IMPORTANT
When you select “TU3”, the media is not pulled back. - To make continuous test prints, be sure to print in the “FEED” orientation.
Normally, when making continuous test prints, it is possible to select a print orientation of “FEED” or “SCAN”.
However, when using this machine, be sure to print in the “FEED” orientation.
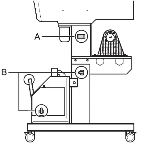
About the Paper Tube
Use the included paper tube.
The paper tube included is specifically for this machine. If a different tube is used, the media may not be taken up because the roll may fail to engage.
Paper tubes are components that wear out.
Paper tubes are components that wear out. Although replacement timing will vary depending on use, watch the condition of the paper tube and replace at an appropriate time so that the media can be taken up in good working order. Contact your authorized Roland DG Corporation dealer or visit our website (http://www.rolanddg.com/) if replacement items are needed.
How to Load Media
CAUTION
- Load the roll media correctly.
Otherwise the media may fall and cause injury. - The roll media is approximately 40 kg (88 lb.).
To avoid injury, handle the roll media with care. - Never load media that weighs over 40 kg (88 lb.).
The machine may fail to withstand the weight and tip over or cause the media to fall. - Do not touch the dancer roller needlessly.
The media take-up unit and feeder may move suddenly, which may result in injury.
Step 1: Loading the Paper Tube
Procedure
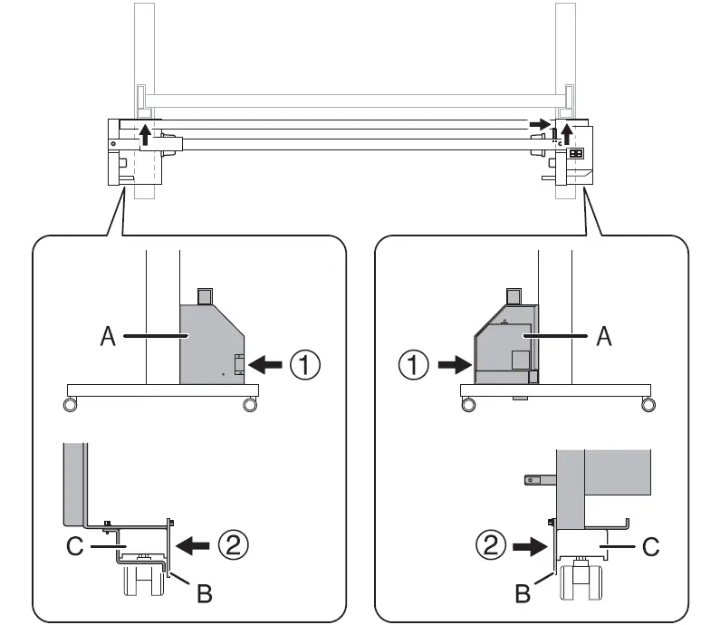
- Lower the dancer roller toward the rear.

- Loosen the arm retaining screw (A).
Loosen the screw to a point where the arm can be moved to the left and right.
- Install the paper tube to the end cap and fix the arm.
- Right side: Push the paper tube against the stand leg side end cap and fit it securely.
- Left side: Push the arm side end cap against the paper tube and fit it securely.
- Tighten the arm retaining screw while pushing the arm forward.
IMPORTANT- Do not overtighten the arm retaining screw.
Overtightening may make it difficult to remove the arm. - Use the paper tube that is included with the roll.
If a different tube is used, the media may not be taken up because the roll may fail to engage.
- Do not overtighten the arm retaining screw.
Step 2: Passing the Media Through the Printer
Procedure
- Check that the printer’s loading lever is in the up position.
- Switch on the printer’s sub power.
- Check that the following menu items on the printer have been set to “DISABLE”.
- “PREFEED”: Models that are equipped with a cutting function
- “FEED FOR DRY”: Models that are equipped with a print heater function
MEMO
For details on how to check and change the settings, refer to the instruction manual for your printer.
- Press “MENU” then [◀] to return to the setup screen.

- Press [◀] or [▶] to select the take-up method.
P. 4Selecting the Take-up Method - Load the roll media onto the printer and lower the loading lever.
MEMO
For details on how to load, refer to the instruction manual for your printer. - Check that the media is loaded as described below.
- The media is loaded straight.
- All areas of the media are taut.
If the media has slack or is bent, raise the loading lever and load once again.
- Press [ENTER].
Step 3: Securing the Media on the Paper Tube (Core)
Procedure
- Make sure the screen in the figure is displayed.

- Press [▼] to feed out the media until the tip of the media reaches the paper tube.
Check that the media is fed out straight.
If the media is not feeding straight, perform the loading operation once again.
Media is fed out 10 mm (0.39 in.) each time you press [▼]. Holding down the key lets you feed out paper continuously.
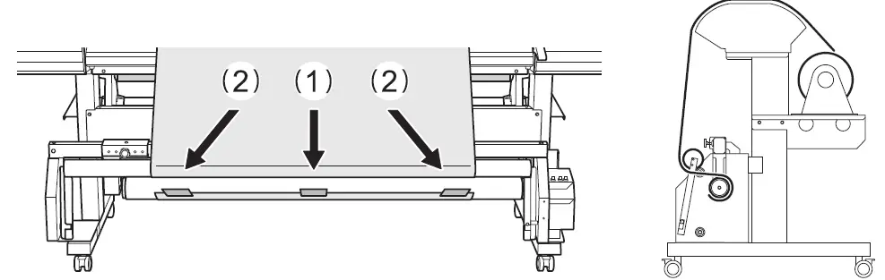
- Attach the center and both ends of the media to the paper tube (core) using adhesive tape (A) (three locations in total).
- While pulling the media so that it does not sag, secure the center of the media.
- While pulling the media from the center toward the outer edges, and fix the left and right edges.
- Take-up with outward curl

- Take-up with inward curl

- Take-up with outward curl
- Press [ENTER].
The media is fed out and the screen shown in the figure appears. - Lower the dancer roller toward the front.
Check that all areas of the media are taut.
- Press [ENTER].
The screen shown in the figure appears.
Step 4: Taking Up the Media
Procedure
- Set the AUTO switch on the take-up unit.
- Take-up with outward curl
Set the switch to [FORWARD].
- Take-up with inward curl
Set the switch to [BACKWARD].
MEMO
When no media is loaded, lower the dancer roller all the way to the back.
- Take-up with outward curl
- Select the mode to match the media to be used.
Select either [STANDARD] or [TENSION] using the MODE switch.Mode Applicable media Description [STANDARD] PVC etc. The media is taken up with some slack. This is suited to stiff or slippery media. [TENSION] Tarpaulin, etc. The media is stretched and taken up. This is suited to weak me- dia and media that does not slip easily. - Press [ENTER].
The screen shown in the figure appears.
MEMO
When take-up starts, take care that the leading edge of the media does not get folded or bent.
This completes the setup of the media.
To Take Up Media Manually
It is possible to manually take-up the media by pressing the MANUAL switch.
However, do not operate the MANUAL switch on the take-up unit leaving the loading lever pulled (low-ered).
If the media is pulled with excessive force, the protection function will activate and cause an error.
MEMO
- Take-up with inward curl: Move the MANUAL switch to the back (the [BACKWARD] side).
- Take-up with outward curl: Move the MANUAL switch to the front (the [FORWARD] side).

How to Remove Taken-up Media
CAUTION
Have two or more people available when removing (handling) the taken up media.
Otherwise the media may fall and cause injury.
Procedure
- Lower the dancer roller toward the rear.
- With the media held down, cut off the sheet.
For details on how to cut off, refer to the instruction manual included with each printer. - Use the MANUAL switch to take-up the media.
- Support the paper tube from below so that it does not fall.
- Loosen the arm retaining screw (A) and the arm.

- Pull the paper tube from the end cap.
MEMO
If the arm does not move, it may have dug into the rail slider. Moving the arm back and forth will free it from being stuck and it will become movable once again.
What to Do If
The Take-up Unit Doesn’t Take Up Media
Are the power cord and AC adapter properly connected?
Securely connect them so that they are not plugged in loosely and will not come loose.
Is the AUTO switch set to [OFF]?
Set the AUTO switch in accordance with the take-up direction.
Is the AUTO switch direction properly set?
Make sure the direction of the AUTO switch matches the take-up direction of the media.
Is the media automatic cut-off function active?
Take-up will be interrupted if the media is cut off.
Set the computer (software RIP) side so that the printer will not automatically cut off. For information on the automatic cut-off settings, refer to the documentation for the software RIP.
Is the paper tube loaded properly?
Fit the paper tube securely onto the end cap.
If it is not properly attached, the media may not be taken because the paper roll may fail to engage.
RELATED LINKS
P. 27Loading the Paper Tube
Is the paper tube used the one that is included?
Use the paper tube that is included with the roll. If a different roll is used, the media may not be taken because the roll may fail to engage.
RELATED LINKS
P. 26About the Paper Tube
Is the paper tube bent?
If the paper tube is bent, the media cannot be taken up properly.
Have the media take-up direction and the AUTO switch of the TUC been set correctly?
Cancel printing, check the AUTO switch setting, and then reload the media once more starting from the beginning.
Media Take-up Is Not Straight
Is the media loaded correctly?
Remove the media, and reload the media once more starting from the beginning.
RELATED LINKS
P. 27How to Load Media
Appendix
Locations of the Power Rating and Serial Number Labels

| 1 | Serial number This number is required when you seek maintenance, servicing, or support. Never peel off the label. |
| 2 | Power rating Use an electrical outlet that meets the requirements for voltage, frequency, and amperage given here. |
Specifications
| TUC-4 | ||||
| Rails & accessories | TU4-64 | TU4-54 | TU4-30 | |
| Acceptable media widths | 1,625 mm (63.97 in.) or less | 1,371 mm (53.97 in.) or less | 762 mm (30 in.) or less | |
| Acceptable media weights | Max. 40 kg (88.18 lb.)*1 | |||
| Weight (total of right slider stay, rail, and accessories) | 21 kg (46.3 lb.) | 19 kg (41.9 lb.) | 16.5 kg (36.38 lb.) | |
| Power requirements | Dedicated AC adapter | AC 100 – 240 V ±10 % 50/60 Hz | ||
| Machine | 19 VDC 2.1 A | |||
| Power consumption | Approx. 20 W | |||
| Acoustic noise level | Approx. 64 dB (A) or less | |||
| Environment | Temperature: 5 to 40°C (41 to 104°F), Humidity: 20 to 80% RH (no condensation) | |||
The weight of the media that can actually be used depends on the conditions of the media that can be used with the printer.












MEMO









MEMO




If there are three connectors, connect the cable to the one labeled “TAKE UP.”
MEMO






























