BLACK DECKER BDPR400 Paint Roller

Intended use
Your Black & Decker Speedy Roller™ has been designed for applying paint to walls and ceilings. This appliance is intended for indoor household use only.
Safety instructions
Warning! Read all safety warnings and all
instructions. Failure to follow the warnings and instructions listed below may result in injury.
- Read all of this manual carefully before using the appliance.
- The intended use is described in this manual. The use of any accessory or attachment or the performance of any operation with this appliance other than those recommended in this instruction manual may present a risk of personal injury.
- Retain this manual for future reference.
Using your appliance
- Never put descaling, aromatic, alcoholic or detergent products into the speedy roller, as this may damage it or make it unsafe for use.
After use
- When not in use, the appliance should be stored in a dry place.
- Children should not have access to stored appliances.
Inspection and repairs
- Before use, check the appliance for damaged or defective parts. Check for breakage of parts, damage to switches and any other conditions that may affect its operation.
- Do not use the appliance if any part is damaged or defective.
- Have any damaged or defective parts repaired or replaced by an authorized repair agent.
- Never attempt to remove or replace any parts other than those specified in this manual.
Safety of others
- This appliance is not intended for use by persons (including children) with reduced physical, sensory or mental capabilities, or lack of experience and knowledge, unless they have been given supervision or instruction concerning the use of the appliance by a person responsible for their safety.
- Children should be supervised to ensure that they do not play with the appliance.
Residual risks
Additional residual risks may arise when using the tool which may not be included in the enclosed safety warnings. These risks can arise from misuse, prolonged use etc. Even with the application of the relevant safety regulations and the implementation of safety devices, certain residual risks can not be avoided. These include:
- Injuries caused by touching any moving parts.
- Injuries caused when changing any parts or accessories.
- Injuries caused by prolonged use of the appliance. When using any appliance for prolonged periods ensure you take regular breaks.
Labels on the appliance
The following pictograms are shown on the tool:
![]() | Warning! To reduce the risk of injury, the user must read the instruction manual. |
![]() | Warning! Only use non-flamable liquids. |
![]() | Warning! Keep bystanders away. |
![]() | Warning! Wear a dust mask. |
![]() | Warning! Wear safety glasses |
Features
This appliance includes some or all of the following features.

- Plunger
- Trigger
- Paint resevior
- Kick stand
- Fill valve
- Head rotation button
- Roller head
- Roller
- Drip tray
Assembly
Attaching the handle (fig. A)

- Slide the handle (10) into the paint reservoir (3) ensuring that the orange collar (11) meets the handle (3).
- Thread the orange collar (11) onto the threads of the handle (3) and tighten.
Attaching the roller head (fig. B)

- Slide the handle assembly (12) into the roller head (7) ensuring that the O-ring (13) is seated inside the roller head (7) and the black collar (14) meets the roller head (7).
- Thread the black collar (14) onto the threads of the roller head (7) and tighten.
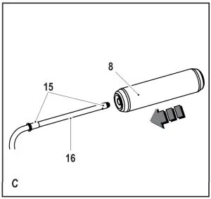
Attaching a roller to the roller head (fig. C)

- Lubricate the tips (15) at either end of the roller frame (16) using petroleum jelly.
- Slide the assembled roller (8) onto the roller frame (16).
Note: Make sure the roller assembly snaps into the locking clip on the outer end cap of the roller.
Attaching the drip tray (fig. D)

The drip tray helps reduce spatter and drips when painting, especially on ceilings.
- Clip the drip tray (9) onto the roller frame (16) so that it fits around the roller (8).
- Rotate the drip tray to the required position.
Note: The drip tray is also helpful to prevent dripping when the Speedy RollerTM is resting on the kickstand and is not in use. Position the drip tray under the roller.
Use
Filling with paint (fig. E & F)


Note: When using the Speedy Roller™ for the first application, it will take most of the paint in the paint reservoir to saturate the roller cover. A second fill may be needed.
- Insert the small end of the fill tube (17) through the hole in the bottom side of the paint can clip (18). Push gently until it click into place.
- Place the paint can clip (18) over the edge of your paint can.
Note: For deeper containers, fit a section of 19mm inner diameter clear tubing over the ribs of the fill tube to extend it and clip to side of pail with fill tube can clip. Cut the bottom end of the tubing at a slight angle. Tubing is available at most DIY stores.
- Lubricate the top of the fill tube (17) with a small amount of petroleum jelly.
- Hold the Speedy Roller™ at a 45O angle and place the fill valve (5) over the fill tube (17). Gently push the Speedy Roller™ down so it completely covers the fill tube.
Note: Make sure the orange fill cap cover (19) is completely covered by the shroud of the can clip.
- Very firmly pull the plunger (1) all the way back to draw paint into Speedy Roller™ensuring you apply sufficient pressure to maintain an adequate union between the fill valve and fill tube.
- Lift the Speedy Roller™ slowly off the fill tube.
Note: If you do not receive a complete fill the first time, push the plunger slowly to return paint to can and then pull the back plunger making sure the angle is correct and the orange fill cap cover is fully seated.
Adjusting the angle of the roller head (fig. G & H)


The roller head can be adjusted to three different angles.
- Press and hold the orange head ratation button (6) on the roller head (7).
- Rotate the rollerhead (7) to the required angle.
Note: Use straight on for general painting and 40O or 80O angles for hard to reach places or when painting close to ceiling or edging.
Note: The handle (10) can be rotated to make it more comfortable when painting with an angled roller frame. To rotate handle to desired position, loosen collar (11), adjust handle and retighten collar (fig H).
Painting with the Speedy Roller™ (fig. I & J)


- Begin rolling on wall and push plunger handle (1) or squeeze trigger (2) to feed paint into the roller cover.
Note: Initial saturation of the roller may require the full amount of paint from the first fill. Fill Speedy Roller™ as needed.
Helpful hints
- The trigger only needs to be squeezed when paint is needed.
- If you are getting a dot pattern when painting, apply more paint.
- If the roller is sliding on the surface, apply less paint.
- You may notice petroleum jelly within the handle. This is necessary and will help in its operation and will not affect the paint.
- When not in use, rest the Speedy Roller™ on the kickstand (4) with the drip tray (9) attached and positioned under the roller..
Returning excess paint to paint tin (fig. K – M)



- Place thumb over orange fill cap cover (19).
- Pull plunger (1) back to draw excess paint from roller frame into tube.
- Hold the Speedy Roller™ at a 45O angle and place the fill valve (5) over the fill tube (17). Gently push the Speedy Roller™ down so it completely covers the fill tube.
Note: Make sure the orange fill cap cover (19) is completely covered by the shroud of the can clip.
- Push the plunger all of the way into the tube.
- Remove the roller (8) by grasping the outer end cap (20) and the roller frame (16) and using your thumb on the opposite hand to push the roller off
Note: Wear disposable gloves or use a plastic bag over roller to keep your hands clean. - Scrape any excess paint into the tin from the roller.
- Remove the inner end cap by inserting the metal tube of the roller frame into the cap about 2-3 centimetres and at an angle.
- Pull the roller frame gently towards you.
- Remove the roller core.
- Empty any remaining paint.
- Remove the outer cap (20) by inserting the roller frame into the roller and gently pushing the cap off.
Hints for optimum use
- Only use a perforated Black & DeckerSpeedy Roller™ roller cover (Accessory number : BDPRA09-XJ & BDPRA18-XJ). Standard roller covers will not work.
- Inspect the roller cover for lint before painting, if needed wash and dry before using.
- When using the Speedy Roller™ for the first application, it will take most of the paint in the Speedy Roller™ tube to saturate the roller cover. A second fill may be needed.
- Keep the roller moving while pushing the plunger in or squeezing the trigger to prevent dripping.
- Stop pushing the plunger in or squeezing trigger if the roller starts to skid, slide or drip.
- When painting in tight areas partially fill the Speedy Roller™ or pivot the frame. This reduces its overall length.
- When leaving the Speedy Roller™ unattended for a longer period of time, wrap the roller in a plastic bag to prevent drying, removing as much air as possible from bag.
- Make sure the type of paint you use can be cleaned with either mineral spirits (for oil-based paints) or a warm water and soap solution (for water soluble paints)
- Use suitable coverings to protect your floors and anything else in the room that you do not want accidentally splattered with paint.
- When using the kickstand, always pivot the head to the straight position and release pressure by pulling the plunger out slightly.
Maintenance and cleaning
Cleaning the Speedy RollerTM (fig. O – T)



- Remove the roller sleve.
- Push the fill tube directly into the fill valve. When cleaning water soluble paints, submerge the fill tube into warm, soapy water and pull the plunger in and out 5 or more times. When using oil based paints, instead of water, use proper cleaning solvent listed on manufacturers container and dispose of properly.
Note: Use a sink, a wash tub, or any container that will hold water to perform above flushing process. Replace water when dirty or when moving to the next step. - Remove the fill tube. Then submerge the roller frame, and ensuring the fill valve is also under water, pull the plunger in and out 5 or more times (fig. P).
- Note: When using a small container, pivot the roller frame to the 80 degree position to fit inside container (fig. Q).
- Remove roller frame and continue cleaning as needed.
Submerge the handle in the warm, soapy water and pull the plunger in and out 5 or more times.
Note: Wipe off remaining paint from the end of plunger (1). - Unthread valve cap (19) and remove wiper seal (22) and duck bill valve (21) to clean. Rinse all remaining parts and drain all fluid from the Speedy Roller™ (fig. S).
- Remove tubing from frame (if needed) by pinching hose clamps. Flush frame and tubing. Replace tubing and secure with hose clamps (24) (fig. T).
Note: Always purchase a perforated Black & DeckerSpeedy RollerTM roller cover (Accessory number : BDPRA09-XJ & BDPRA18-XJ). A standard roller will not work.
Lubricating the Speedy Roller™ (fig. U – X)


Lubrication helps with normal operation and should be done after cleaning and before each use.
- Turn the threaded assembly collar (11) near the trigger counterclockwise until the main tube assembly slides off.
Note: When reassembling, the orange threaded collar (11) should be towards trigger handle. - Apply petroleum jelly around and in between the rubber seals (25). Reassemble making sure the rubber seals are not twisted or damaged. Tighten the locking collar.
- Apply petroleum jelly to the duck bill valve (21) and wiper seal (22) and replace within unit threading the valve cap (19) back into place.
- Apply petroleum jelly to the inner seals on the end caps (26) then assemble the roller by placing the core (27) inside of roller cover (28) and attaching end caps and as shown.
Protecting the environment
Separate collection. This product must not be disposed of with normal household waste.
Should you find one day that your Black & Decker product needs replacement, or if it is of no further use to you, do not dispose of it with household waste. Make this product avail- able for separate collection.
Separate collection of used products and packaging allows materials to be recycled and used again.
Re-use of recycled materials helps prevent environmental pollution and reduces the demand for raw materials.
Local regulations may provide for separate collection of electrical products from the household, at municipal waste sites or by the retailer when you purchase a new product.
Black & Decker provides a facility for the collection and recycling of Black & Decker products once they have reached the end of their working life. To take advantage of this service please return your product to any authorised repair agent who will collect them on our behalf.
You can check the location of your nearest authorised repair agent by contacting your local Black & Decker office at the address indicated in this manual. Alternatively, a list of authorised Black & Decker repair agents and full details of our after-sales service and contacts are available on the Internet at: www.2helpU.com
Technical data
| BDPR400 | ||
| Capacity | ml | 650 |
| Weight | kg | 1.4 |
Guarantee
Black & Decker is confident of the quality of its products and offers an outstanding guarantee. This guarantee statement is in addition to and in no way prejudices your statutory rights.
The guarantee is valid within the territories of the Member States of the European Union and the European Free Trade Area.
If a Black & Decker product becomes defective due to faulty materials, workmanship or lack of conformity, within 24 months from the date of purchase, Black & Decker guarantees to replace defective parts, repair products subjected to fair wear and tear or replace such products to ensure minimum inconvenience to the customer unless:
- The product has been used for trade, professional or hire purposes;
- The product has been subjected to misuse or neglect;
- The product has sustained damage through foreign objects, substances or accidents;
- Repairs have been attempted by persons other than authorised repair agents or Black & Decker service staff.
To claim on the guarantee, you will need to submit proof of purchase to the seller or an authorised repair agent. You can check the location of your nearest authorised repair agent by contacting your local Black & Decker office at the address indicated in this manual. Alternatively, a list of authorised Black & Decker repair agents and full details of our aftersales service and contacts are available on the Internet at: www.2helpU.com
Please visit our website www.blackanddecker.co.uk to register your new Black & Decker product and to be kept up to date on new products and special offers. Further information on the Black & Decker brand and our range of products is available at www.blackanddecker.co.uk
BDPR400

Do not forget to register your product!
www.blackanddecker.co.uk/productregistration
Register your product online at www.blackanddecker.co.uk/productregistration or send your name, surname and product code to Black & Decker in your country
![]()























