SVW Direct Drive Ecm Blower Coil Units
User Manual
*SHW *SVW Direct Drive ECM
DIRECT DRIVE BLOWER COIL UNITS
0-10VDC input controlled
Installation, Operation, and Maintenance Instructions
WARNING TO INSTALLER, SERVICE PERSONNEL, AND OWNER
Altering the product, improper installation, or replacing parts with unauthorized parts voids all warranty or implied warranty and may result in adverse operational performance or possible hazardous conditions to service personnel and occupants. Company employees or contractors are not authorized to waive this warning.
NOTES:
- Read the entire installation instruction manual before starting the installation.
- These instructions are intended as a general guide and do not supersede national, state, or local codes in any way.
- These instructions must be left with the property owner.
SAFETY CONSIDERATIONS
Improper installation, adjustment, alteration, service, maintenance, or use can cause explosion, fire, electrical shock, or other conditions which may cause personal injury or property damage.
Consult a qualified licensed installer, service agency, or your distributor for information or assistance. The qualified licensed installer or service agency must use factory-authorized kits or accessories when modifying this product. Refer to the individual instructions packaged with kits or accessories when installing.
Follow all safety codes. Wear safety glasses and work gloves. Use quenching cloth for brazing operations. Have fire extinguisher available. Read these instructions thoroughly and follow all warnings or cautions attached to the unit. Consult local building codes and National Electrical Code (NEC) for special requirements.
Recognize safety information. This is the general safety-alert symbol
. When you see this symbol on the unit and in instruction manuals, be alert to the potential for personal injury or damage to equipment. The lightning bolt symbol
signifies an electrical shock hazard.
WARNING:
This WARNING signifies general hazards which could result in personal injury or death.
vWARNING:
This WARNING signifies electrical shock hazards which could result in personal injury or death.
CAUTION:
CAUTION is used to identify unsafe practices which would result in product and property damage.
NOTE:
NOTE is used to highlight suggestions which may result in enhanced installation, reliability, or operation.
GENERAL
The manufacturer does not warrant equipment subjected to abuse. Metal chips, dust, drywall tape, paint overspray, etc. can void warranties and liability for equipment failure, personal injury, and property damage.
The manufacturer assumes no responsibility for equipment installed in violation of any code requirement.
These instructions give information relative to the installation of blower coil units only. For other related equipment refer to proper instructions.
WARNINGS:
- Always wear eye protection when working on equipment.
- Before servicing unit, always turn off all power to unit. There may be more than one disconnect switch. Electrical shock can cause personal injury or death.
- When blower coil is operating, some components are operating at high speeds. Personal injury can result from touching these items with any object.
- All electrical and service access panels must be secured in their proper place before operating equipment.
- Clear surrounding area of all tools, equipment and debris before operating unit.
CAUTION:
Unit must not be operated during building construction due to excessive airborne dust and debris. Also, the unit must never run under any circumstances without an air filter in place.
Material in this shipment has been inspected at the factory and released to the transportation agency in good condition. When received, a visual inspection of all cartons should be made immediately. Any evidence of rough handling or apparent damage should be noted on the delivery receipt and the material inspected in the presence of the carrier’s representative. If damage is found, a claim should be filed against the carrier immediately.
All models are designed for indoor installation only. The installation of this unit, field wiring, duct system, and other related equipment must conform to the requirements the National Electric Code, ANSI/NFPA No. 70 (latest edition) in the United States, as well as any state laws and local codes. Local authorities having jurisdiction should be consulted before installation is made. Such applicable regulations take precedence over the general instructions contained in this manual.
INSTALLATION PRECAUTIONS
WARNING:
Some units are very heavy. Use two or more people when moving and installing these units. Failure to do so could result in personal injury or death. Contact with metal edges and corners while applying excessive force can result in personal injury. Use gloves when handling equipment. Use caution during installation or while servicing equipment.
Installation of this blower coil should be performed only by a licensed contractor to ensure proper installation and the safety of the installer. Observe the following precautions for typical installations:
- Always use proper tools and equipment.
- No wiring or other work should be attempted without first ensuring blower coil is completely disconnected from the power source and locked out. Always verify that a good permanent, uninterrupted ground connection exists prior to energizing any power sources.
- Always review the nameplate and wiring diagram on each unit for proper voltage and control configurations. This information is determined from the components and wiring of the unit and may vary from unit to unit.
- When soldering or brazing to the unit, it is recommended to have a fire extinguisher readily available. When soldering close to water valves or other components, heat shields or wet rags are required to prevent damage.
- When the blower coil unit is in operation components are rotating at high speeds.
- Units must be installed level or angled toward the drain nipple to ensure proper drainage and operation.
- Check unit prior to operation to ensure that the condensate water will drain toward the drain connection. An overflow drain or an auxiliary drain pan under the blower coil may be required as a back up to a clogged primary drain. Condensate overflow switches may be used as well, under certain conditions
- Be sure that the drain pan is free from foreign material prior to start up.
- Check filter media installation to ensure that it is installed correctly. Use the directional arrows or other information on the filter to determine the proper flow direction.
- Ensure air distribution system does not exceed the external static rating of the unit.
BLOWER COIL UNIT
The installer must adhere strictly to all local and national code requirements pertaining to the installation of this equipment.
The SHW blower coil units are designed to be installed in a horizontal position with discharge air in a horizontal direction. The SVW blower coil units are designed for installation in a vertical direction with discharge air in a vertical position. Both units include a positive slope drain pan with 3/4” NPT nipple that exits the unit on the side of the coil header connections. All units need to be leveled such that the positive slope of the drain pan is directed towards the condensate drain nipple.
NOTE:
Before mounting unit: Remove red headed shipping bolts and metal bushing at blower base and blower outlet. If present, also remove the wire tie securing motor to blower rail.
Sufficient clearance must be provided on the side of the blower coil to allow access to electrical controls and to service the motor blower assembly. Standard unit configuration is right hand looking with the direction of airflow. The unit can be field converted to left hand by repositioning the coil, drain pan, and corresponding slope bracket.
Standard vertical blower configuration is counter-swirl, with the motor facing in the same direction as the supply and return headers of a right hand coil configuration. Vertical blower configuration can be field converted by reposition blower and corresponding mounting brackets.
NOTES:
- A field-fabricated secondary drain pan, with a drain pipe routed to the outside of the building, may be required in installations over a finished living space or in any area that may be damaged by water overflow from the main drain pan. In some localities local codes may require a secondary drain pan for any horizontal installation.
- If a condensate overflow shut off switch, that is designed to be installed in the drain line, is used in place of a secondary drain line then place it in the primary drain line between the blower coil and the P-trap
MOUNTING
It is important to ensure that the blower coil unit is securely mounted and the structure is sufficient to support the weight of the equipment. SHW blower coil models 90-120 are intended to be mounted with a support angle or channel located under the unit. There are 7/8″ knockouts located at all four corners top and bottom which permits field supplied hanging rods to extend through the unit to secure to the field supplied angle or channel. (See figure 1). All anchors for mounting the equipment must be placed and sized to ensure a safe and durable installation. When necessary use shims to obtain the proper level. This will ensure that the condensate will drain from the unit.
For models 24-60, two (2) mounting rails are supplied on the blower coil unit, as shown in Figure 2.
All anchors for mounting the equipment must be placed and sized to ensure a safe and durable installation. When necessary use shims to obtain the proper level. This will ensure that the condensate will drain from the unit.
AIR DISTRIBUTION DUCTS
All duct work must be installed in accordance with National Fire Protection Association Codes 90A and 90B. Ducts should be adequately insulated to prevent condensation during the cooling cycle and to minimize heat loss during the heating cycle. All return air must be filtered to prevent dirt buildup on the coil surface. If there is no ducted return, applicable installation codes may limit the unit to installation only in a single story residence. In many cases it is acceptable to use ducting of the same size as the blower coil connections. However, unique arrangements or long duct runs must be confirmed by a local professional. The manufacturer will not be responsible for misapplied equipment.
Supply and return duct system must be adequately sized to meet the system’s air requirements and static pressure capabilities. The duct system should be insulated sufficiently to avoid condensation on the duct surface.
DUCTWORK
All duct work must be installed in accordance with industry accepted practices, and all applicable national and local code requirements.
ELECTRICAL
WARNINGS:
Electric Shock Hazard
- Disconnect all power supplies before servicing; lock out/tag out to prevent accidental electrical shock. Note: there may be multiple power sources.
- Use copper conductors only.
- Install all parts and panels before operating.
- Failure to follow these warnings can result in injury or death.
All wiring must comply with local and national code requirements. Units are provided with wiring diagrams and nameplate data to provide information required for necessary field wiring.
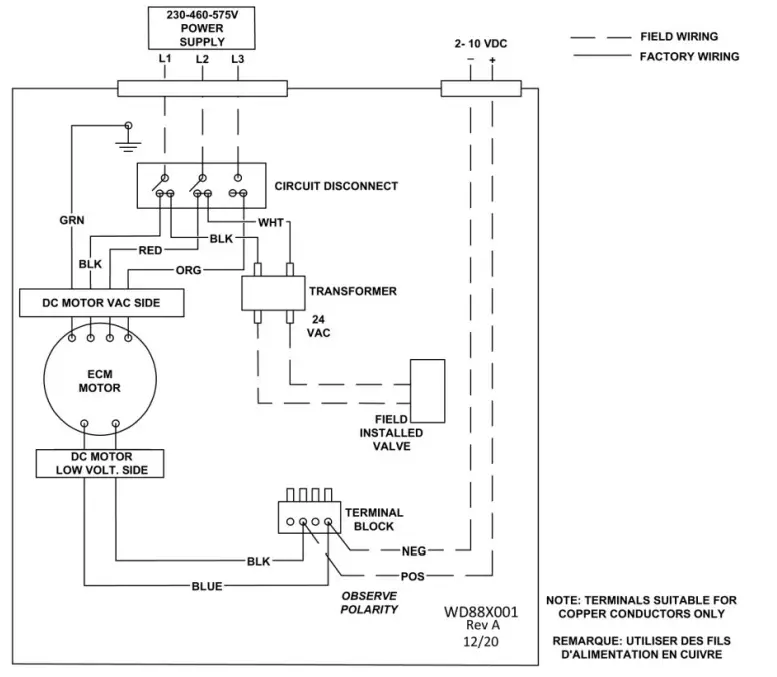
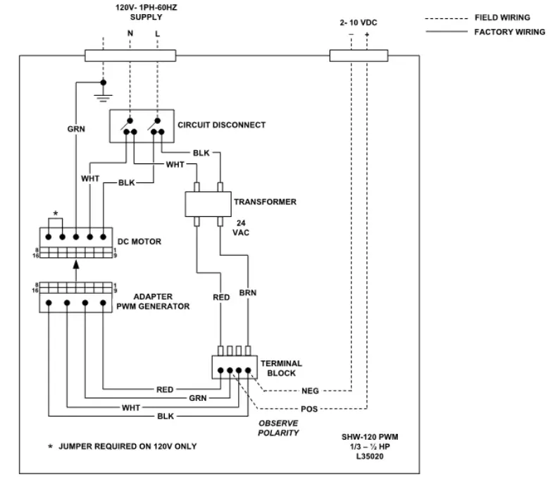
These direct drive blower coil units are provided with a control box with 0-10V low voltage terminal connections, for in-field installation. ECM motor speed adjustments will be done through the field installed 0-10V signal.
Reference Wiring Diagrams (Check product for applicable wiring diagram)
Figure 3: Standard wiring diagram, 3 phase
Figure 4: Condensate switch option, 3 phase
Figure 5: Standard 120V, 1 phase
Figure 6: Standard 230V, 1 phase
PIPING
PIPING PRECAUTIONS
- Flush all field piping prior to connection to remove all debris.
- Use wet cotton rags to cool valve bodies when soldering.
- Open all valves (mid-way for hand valves, manually open on motorized valves) prior to soldering.
- When soldering to bronze or brass, heat the piping while in the socket/cup and begin introducing the solder when the flux boils rapidly. Avoid direct flame into the solder joint.
- Heat can only be applied to the cup of the valve body for a minimal time before damage occurs (even with the use of wet rags).
- Avoid rapid quenching of solder joints as this will produce joints of inferior quality.
- The valve package will not support the weight of the connecting pipes. All pipes connected to the units must be completely supported prior to connection to the unit.
- Provisions must be made for expansion and contraction of piping systems. All horizontal and vertical risers, including runouts, must be able to withstand significant movement with temperature changes. Failure to do so will result in damage and failure of piping, fittings and valves throughout the building.
- Never insulate the heads or motorized portion of control valves. Damage can occur in the form of excessive heat build up and interference to the operation and moving parts will result.
- All piping made in the field should be installed with consideration of additional space for any electrical routing that may be required.
- Connect all piping per accepted industry standards and observe all regulations governing installation of piping systems.
CAUTION:
Hydronic systems are not designed to hold pressurized air and should only be tested with water. Pressurizing system with air could damage equipment. - When all connections are complete, pressure test system. Repair any solder joint leaks and gently tighten any leaking valve packing nuts and piping accessories, as required.
PIPING INSTALLATION
These units employ a hydronic coil designed for use with either hot or chilled water.
- All piping must be adequately sized to meet the design water flow requirements as specified for the specific installation. Piping must be installed in accordance with all applicable codes.
- The piping connections on the equipment are not necessarily indicative of the proper supply and return line sizes. To minimize restrictions, piping design should be kept as simple as possible.

CAUTIONS:
- When connecting piping to blower coil units, do not bend or reposition the coil header tubing for alignment purposes. This could cause a tubing fracture resulting in a water leak when pressure is applied to the system.
- Prior to connecting to the blower coil all external piping must be purged of debris.
- All chilled water piping must be insulated to prevent property damage from condensation.
Condensate drain lines must be installed with adequate slope away from the unit to assure positive drainage. Since the drain pan is located on the suction side of the blower, a negative pressure exists at the drain pan and a minimum trap of 1-1/2 inches must be provided in the drain line to assure proper drainage.
Figure 9: Recommended trap configuration
Figure 10: Bad trap configuration
PIPING INSULATION
Installing Contractor – After the system has been proven leak free, all lines and valve control packages must be insulated to prevent condensate drippage or insulated, as specified on the building plans.
NOTE:
Many valve packages will not physically allow all components to fit over an auxiliary drain pan. It is the installer’s responsibility to insulate all piping to ensure adequate condensation prevention.
NOISE
These blower coil units are designed for quiet operation, however, all air handling equipment will transfer some amount of noise to the conditioned space. This should be taken into consideration when planning the location of the equipment.
PRE-STARTUP CHECKS
WARNINGS:
- Electrically ground blower coil. Connect ground wire to ground terminal marked “GND”. Failure to do so can result in injury or death.
- Do not touch any rotating component with any object. Damage to the equipment and personal injury can occur.
CAUTION:
Any device such as a fan switch or thermostat that has been furnished by the factory for field installation must be wired in strict accordance with the wiring diagram that is supplied with the unit. Failure to do so could result in damage to components and will void all warranties.
Prior to starting the unit:
- Ensure supply voltage matches nameplate data.
- Ensure unit is properly grounded.
- With power off, check blower wheel set-screws for tightness and ensure blower wheels rotate freely and quietly.
- Ensure blower coil is properly and securely installed.
- Ensure unit is sloped toward drain line.
- Ensure unit will be accessible for servicing.
- Ensure condensate line is properly sized, run, trapped, pitched and tested.
- Ensure all cabinet openings and wiring connections have been sealed.
- Ensure a clean filter is in place and of adequate size.
- Ensure all access panels are in place and secured.
- Check that coil(s), valves and piping have been leak checked and insulated as required.
- Ensure that all air has been vented from the system.
- Ensure polarity is observed for 0-10V low voltage connections (see wiring diagram)
MAINTENANCE
INSPECTION AND CLEANING
Before start-up all of the components should be given a thorough check. Optimal operation of this equipment requires cleanliness. Often after installation of this equipment additional construction activities occur. Care must be taken to protect the equipment from debris during these construction phases.
FAN
The fan should be inspected and cleaned annually, in conjunction with maintenance of the motor and bearings. It is important to keep the wheels clean in order to avoid imbalance and vibration.
MOTOR34
Check motor connections to ensure that they are secure and made in accordance with the wiring diagram.
WARNING:
Units with ECM motors have line voltage power applied at all times. Make sure power is disconnected before servicing.
FILTER
The air filter should be cleaned or replaced every 30 days or more frequently if severe conditions exist. Always replace the filter with the same type as originally furnished.
COIL
Any dust or other contaminants which accumulate on the heat transfer surfaces interferes with the air flow and impairs heat transfer. The coil must be kept clean by any of the following methods.
- Cleaning with low-pressure compressed air.
- Cleaning with steam
- Flushing or rinsing with water (an approved coil cleaning detergent is advisable for greasy surfaces).
- Prior to the water system start-up and balancing, the chilled/hot water systems should be flushed to clean out dirt and debris construction. All unit service valves are closed during this process. Strainers are to be installed in the piping mains to prevent this material from entering the units during normal operation.
CAUTION:
Be sure to return valves to their proper operating positions prior to start-up.
DRAIN PIPING
The drain should always be:
- Connected or piped to an acceptable disposal point sloped away from the unit at least 1/8-inch per foot, and kept clean and free from obstructions.
- Checked before summer operation.
- Periodically checked during summer operation.
PREVENTATIVE MAINTENANCE
To achieve maximum performance and service life of each piece of equipment, a formal schedule of regular maintenance should be established and maintained.
MAINTENANCE UPDATES
Contact Factory for current Maintenance Program Information.
SHW/SVW: Installation, Operation, and Maintenance Instructions
P.O. BOX 270969, Dallas, TX 75227
www.firstco.com or www.ae-air.com
The manufacturer works to continually improve its products.
It reserves the right to change design and specifications without notice.
©2022 First Co., Applied Environmental Air


















