CleanSeal V3 Extract Exhaust Return Air Housing
Instruction Manual
Housing Installation

Recommended cutout dimensions
| CL | Filter Size | A [mm] | B [mm] |
| Square | 3P3 | 374 | 374 |
| 4P4 | 526 | 526 | |
| 5P5 | 577 | 577 | |
| 6P6 | 679 | 679 | |
| 9P9 | 987 | 984 | |
| Rect. | 3P6 | 374 | 667 |
| 9P6 | 679 | 972 | |
| 11P5 | 577 | 1165 | |
| 12P6 | 679 | 1277 |

Filter Installation

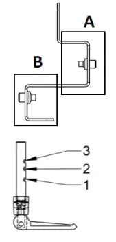
Clamp Settings
| Filter Height | Clamp Config. PU | Clamp Config. GEL |
| MD | A-1 | A-1 |
| 78 | A-2 | N/A |
| MX | B-1 | B-2 |
| MG | 6-3 | B-3 |
Retainer Settings

Damper Installation

Grid Opening
Use cleanse
Quick Access Card (included) or any other plastic card

Ports

EMC_SPEC019_CL_G – CleanSeal V3
Quick Instructions 20.07.2020
Camfil AB – Sveavägen 56E – 11134 Stockholm –
Sweden – +46 8 545 125 00 –
www.camfil.com



















