User Guide


INSIGNIA NS-SBAR/ NS-SBAR-A Soundbar Home Theater System
Introduction
Congratulations on your purchase of a high quality Insignia product. Your NS-SBAR or NS-SBAR-A Home Theater Speaker System represents the state-of-the-art in home theater soundbar design and is designed for reliable and trouble-free performance. It will provide outstanding performance and years of listening enjoyment. Take time to read through this manual to make sure you get the maximum performance from your new soundbar system.
Safety information
Warning
To reduce the risk of electric shock, do not disassemble. No user serviceable parts inside. Refer servicing to qualified service personnel.
To reduce the risk of fire or electric shock, do not expose your soundbar to rain or moisture. Dangerous high voltages are present inside the enclosure. Do not open the cabinet.
Caution
To prevent electric shock, match the wide blade on the power cord plug to the wide slot on an electric outlet. If the plug does not fit, consult a licensed electrician to replace the obsolete outlet. Do not modify the power cord plug, or you will defeat this safety feature.
When replacing the direct plug-in power supply or a separable, cord-connected power supply, the replacement must be an exact duplicate or one which has been recommended by the manufacturer.
The lightning flash with arrowhead symbol within an equilateral triangle is intended to alert you to the presence of uninsulated dangerous voltage within your player’s enclosure that may be of sufficient magnitude to constitute a risk of electric shock to persons.
Important safety instructions
- Read these instructions.
- Keep these instructions.
- Heed all warnings.
- Follow all instructions.
- Do not use this apparatus near water.
- Clean only with a dry cloth.
- Do not block any ventilation openings. Install in accordance with the manufacturer’s instructions.
- Do not defeat the safety purpose of the polarized or grounding-type plug. A polarized plug has two blades with one wider than the other. A grounding type plug has two blades and a third grounding prong. The wide blade or the third prong are provided for your safety. If the provided plug does not fit into your outlet, consult an electrician for replacement of the obsolete outlet.
- Protect the power cord from being walked on or pinched particularly at plugs, convenience receptacles, and the point where they exit from the apparatus.
- Only use attachments/accessories specified by the manufacturer.
- Use only with the cart, stand, tripod, bracket, or table specified by the manufacturer, or sold with the apparatus. When a cart is used, use caution when moving the cart/apparatus combination to avoid injury from tip-over.

- Unplug this apparatus during lightning storms or when unused for long periods of time.
- Refer all servicing to qualified service personnel. Servicing is required when the apparatus has been damaged in any way, such as power-supply cord or plug is damaged, liquid has been spilled or objects have fallen into the apparatus, the apparatus has been exposed to rain or moisture, does not operate normally, or has been dropped.
- To reduce the risk of fire or electric shock, do not expose your soundbar to rain, moisture, dripping, or splashing, and no objects filled with liquids, such as vases, shall be placed on them.
- The wall plug is the disconnecting device. The plug must remain readily operable.
Soundbar precautions
Placement
- The soundbar cabinet is made out of plastic and is therefore sensitive to extreme temperatures and humidity, do not put it in locations subject to direct sunlight or in humid places, such as near an air conditioner, humidifier, bathroom, or kitchen.
- Do not put water or other liquids close to the soundbar. If liquid is spilled over the soundbar, it may be damaged.
- The soundbar should be placed on a sturdy, flat surface that is free from vibration, or mounted on a wall (see “Installing the wall mount bracket” on page 6). Do not put the soundbar on an uneven or unstable surface, where it may fall and cause damage.
Using close to a TV or computer
Some older TVs and computer monitors are magnetically sensitive devices and as such are likely to suffer discoloration or picture distortion when conventional speakers are placed nearby. If discoloration problems persist, try moving the soundbar away from your TV or monitor.
Features
Active Speaker System
This unit provides high quality sound in a slim design, which matches today’s flat panel TVs.
Rocketboost™ Wireless Card Ready
Installing a Rocketboost ™ Wireless Card (card sold separately) enables this product to send and receive wireless audio with your other Rocketboost™ products.

What is Rocketboost™?
Rocketboost™ is expandable wireless digital audio.
- Products with Rocketboost™ technology let you easily expand your listening experience throughout your home.
- Rocketboost™ does not interfere with other wireless products in your home.
- Rocketboost™ is uncompressed digital audio compatible with all audio formats such as Dolby, TrueHD, and DTS-HD Master Audio used with Blu-ray.
When you see the Rocketboost™ logo on any product, it has been designed to work with other Rocketboost™ products, no matter who manufactures them.
Audyssey Technologies

Soundbar elements
Package contents
- Soundbar
- Soundbar feet (2)
- Remote control
- AAA batteries (2)
- Wall Mounting Brackets
- Wall Mounting Template
- AC Power Cable
- Power Supply
- RCA Stereo Cable
- INcontrol Cable
- User Guide
Top panel


Front panel


Back panel


Remote control



Setting up your soundbar
Connecting to an external sound source
To connect an external sound source:
- Plug an audio cable (with RCA connectors) into the AUDIO OUT L/R jacks on the TV, stereo, or other sound source.

- Plug the other end of the cables into the AUDIO IN L/R jacks on the soundbar. You can also connect another audio source, such as an mp3 player, to the AUX device jack, using a 3.5 mm to 3.5 mm audio cable.
- Press the INPUT button to select the sound source you want.
Connecting a sub woofer
Note
The soundbar includes a built-in Audyssey BassXT enabled subwoofer speaker that provides deep bass response that meets most user’s needs for music and movies. For even more bass, you can add an external subwoofer (sold separately).
To connect a subwoofer to the soundbar:
- On the back of the soundbar, slide the Subwoofer Mode switch to the EXTERNAL position (See “Back panel” on page 4).
- Plug your subwoofer into the Subwoofer Output jack on the back of the soundbar.
- Turn on your subwoofer
Note
With the Rocketboost Ready card accessory installed (sold separately), you can use Rocketboost to connect to a Rocketboost enabled subwoofer. See “Using Rocketboost” on page 7, for more information.
Connecting power
To connect power to your soundbar:
- Connect the power supply to the power supply jack on the soundbar.
- Connect one end of the AC power cable to the power supply and then plug the other end into a power outlet. The standby indicator on the soundbar turns on.
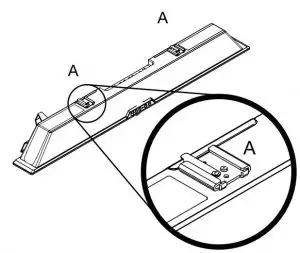
Installing the wall mount bracket
You can use the included wall mount brackets (A and B) to mount this soundbar on a wall.
Warning
Improper installation can result in serious injury or damage to your soundbar. If necessary, please seek the assistance of a professional.
To install the soundbar on a wall:
- Secure bracket parts A to the soundbar with screws (included).

- Use the bracket template to determine position on wall for bracket parts B. Secure bracket parts B to the wall with four screws (not included). You must use suitable wall anchors if you are mounting on drywall, concrete, or other wall types.

- Fit the soundbar to the wall by sliding it down and making sure of a secure fit between bracket parts A and B.


Installing the soundbar feet
If you do not mount the soundbar to a wall, you will need to attach the feet (included) to the soundbar, so that it will sit evenly on a flat surface.
To install the soundbar feet:
- Turn the soundbar over.
- Remove the protective paper from the soundbar feet (2) to reveal the adhesive strip.
- Align the posts on the soundbar feet with the holes in the bottom of the soundbar, then press the soundbar feet onto the bottom of the soundbar

Using your soundbar
Turning on the power
- Press the Power button on the top of the unit or press the Power button on the remote control to turn on the soundbar.
- Press the Power button on the top of the unit or press the Power button on the remote control to put the soundbar in Standby mode.
Adjusting the Volume
Press the Volume Up button to increase the volume or the Volume Down button to decrease the volume.
– Or-
Using the remote control, press the Volume + button to increase the volume or the Volume – button to decrease the volume.
Muting the sound
Press the MUTE button on the remote control or on the soundbar to mute the sound. Press the Volume + button or the MUTE button to restore sound.
Selecting Inputs
To choose from the available inputs of the soundbar, press the INPUT button on the remote control or on the top of the soundbar.
To select wireless audio sources on the Rocket Boost network use the Wireless Next Source button on the remote control or on the soundbar.
Note
Only available when a Rocketboost card is installed.
Adjusting Audyssey Dynamic Volume
Audyssey Dynamic Volume removes volume spikes, such as blaring commercials or movie explosions and turns up soft dialogue so it is easier to hear. Three levels of dynamic volume help you adjust to different listening situations.
- Audyssey Dynamic Volume Light—This should be used when you want to watch a movie with the family. It will only tame the very loudest explosions and boost only the very quietest dialogue.
- Audyssey Dynamic Volume Medium—We recommend this as the default choice. This level is good for typical television viewing. The volume of commercials and stations will sound the same.
- Audyssey Dynamic Volume Heavy—This has the greatest impact on the volume. This is most helpful when watching movies or television late at night, while others are sleeping. Explosions are dramatically reduced while the quiet moments are increased.
Using Rocketboost
When you see the Rocketboost logo on any product, it has been designed to work with other Rocketboost products, no matter who manufactures them.
How can I use Rocketboost with the soundbar?
After you install the Rocketboost Wireless Card (RF-RBCARD, sold separately) the soundbar can receive any Rocketboost audio stream from your other Rocketboost products. For example, you can play music from audio sources that are in other rooms.
Plus, the Rocketboost Wireless card can be used to send audio from the soundbar. For example, you can connect your subwoofer, by using Rocketboost wireless instead of wires. You can learn more about Rocketboost products at www.rocketboost.com.
Initial Rocketboost setup
Remove the front speaker grill cover from the soundbar and insert a Rocketboost Wireless Card (RF-RBCARD, sold separately). To remove the grill cover, grip the glossy edges of the grill cover with each hand and pull forward evenly. The card connector is keyed so it can only be installed one way. When inserting the card, make sure that it is oriented so the Rocketboost logo on the card is facing you.
Note
Every Rocketboost network must contain a device called a Hub, which directs network data traffic and helps devices join the network. The network can have only one hub, which is selected using the Hub Status switch on the back of all Rocketboost senders.
If you are setting up your network for the first time choose one of your Rocketboost senders to be your hub by setting the Hub Status switch to Enable. For example, if you want the soundbar to be the hub, set the Hub Status switch on the soundbar to Enable.
If you already have a Rocketboost network established, set the Hub Status switch on the soundbar to Disable.
The soundbar Power indicator lights green if the soundbar Hub Status switch is Enabled, and lights blue if the soundbar Hub Status switch is Disabled.
Note
Every new Rocketboost device you add to your Rocketboost network must be “joined” to your Rocketboost hub device.
To establish communications with other Rocketboost devices:
- If possible, bring your existing Rocketboost Hub device, or the new Rocketboost device to which you’d like to join into the same room as the soundbar.
- Press the Power button on the soundbar to turn it on.
- Press the Power button on your other Rocketboost device to turn it on.
- Press and hold the Power/Join button on the soundbar to initiate joining mode, then press and hold the Power/Join button on your other Rocketboost device (the devices will remain in joining mode for 30 seconds). The power indicator LEDs on both products will begin blinking rapidly.
- When successfully joined, the power indicator LEDs on both products will stop blinking and stay on.
- If joining fails after 30 seconds, the power indicator LED on the soundbar will begin flashing at a slower rate. If this occurs, repeat the above steps.
Listening to music from other Rocketboost products
To listen to music from other Rocketboost products:
- Press the Power button on the soundbar to turn it on.
- Turn on your other Rocketboost sender device (sold separately) and make sure the audio source connected to that device is active.
- Press the Next Source button on the remote control to select the Rocketboost input source.
- If there are multiple Rocketboost sources, you may need to press the Next Source button on the soundbar to find the source you want to listen to. Each press will cycle through the available Rocketboost sources.
Sending audio from the soundbar to other Rocketboost products
The selected soundbar audio signal, from either the Television or AUX, is automatically sent on the Rocketboost network.
The soundbar sends two separate audio signals on the Rocketboost network:
- One of the audio signals is designed for use with a subwoofer. This signal is low bass frequency content only and this signal’s volume level is set to the same volume as the soundbar. That way your soundbar and subwoofer are correctly set to the same volume level and the subwoofer volume level is easily controlled by the soundbar volume control.
- The second audio signal is designed for listening to the soundbar audio in a second room or with headphones that have their own volume control. This signal’s volume level is fixed and does not change with the soundbar volume control. For example, you would use this signal if you are listening to the soundbar’s audio signal in another room, and that room’s amplifier has its own volume control.
- Both audio signals are automatically sent on the Rocketboost network. Every Rocketboost receiver can receive both of these signals. Press the Next Source button on your other Rocketboost product until you hear the signal you want (for example the low frequency signal for the subwoofer.)
To connect a subwoofer using Rocketboost:
Note
You can wirelessly connect to a Rocketboost enabled subwoofer or to a typical wired subwoofer. The following instructions are for connecting to a typical wired subwoofer. If you are using a Rocketboost enabled subwoofer, refer the to the user guide for that product.
- Set the Subwoofer Mode Switch on the back of the soundbar to the EXTERNAL position.
- Connect a Rocketboost sender/receiver (RF-RBAUX, sold separately) to your subwoofer. Do this by connecting the output signal of RF-RBAUX to the input signal of the subwoofer. Note: You will need to use the dual RCA adapter cable supplied with the RF-RBAUX. When using this connect either the left (white) or the right (red) audio signal to your subwoofer.
- Follow the steps To establish communications with other Rocketboost devices (see above) to connect the RF-RBAUX to your Rocketboost network.
- Turn on your soundbar and subwoofer and play music or a movie that you can easily hear the bass sound on.
- Press the Next Source button on the RF-RBAUX to select the soundbar’s subwoofer audio signal. You may have to press Next Source multiple times until you hear the soundbar’s subwoofer audio.
- The soundbar sends both a subwoofer signal (volume controlled by the soundbar) and a second room audio signal (not volume controlled by the soundbar). To confirm you are connected to the subwoofer signal, use the soundbar remote control to turn the volume up and down, and listen to make sure that the subwoofer volume level changes. If it does not, press Next Source on the RF-RBAUX to select the other audio signal from the soundbar. Also, when the RF-RBAUX first connects to the subwoofer signal, the Audyssey Dynamic Volume Green Indicator LED will flash three times.
Listening to the soundbar audio in another room or through Rocketboost enabled headphones
To listen to the soundbar audio in another room
or through Rocketboost enabled headphones:
- Connect and setup your other Rocketboost product (see user guide for that product for more details).
- Turn on your soundbar and play any audio.
- Press the Next Source button on your other Rocketboost device until you hear the soundbar’s audio signal. You may have to press Next Source multiple times until you hear the soundbar’s audio. Also, when the RF-RBAUX first connects to the soundbar’s audio signal, the Audyssey Dynamic Volume Red Indicator LED will flash three times.
Additional Rocketboost setup information
The soundbar is pre configured with both the
subwoofer and second room Rocketboost audio
signals turned on. For users that don’t need these
signals sent on the Rocketboost network (for
example if you are not using the second room
audio signal from the soundbar) you can turn off
either of these signals.
To turn off the subwoofer signal:
- On the soundbar, press both the Wireless Next Source button and the Volume Up button for five or more seconds.
- The Audyssey Dynamic Volume Green indicator LED will briefly flash on/off twice, to show that the subwoofer signal is now off.
To turn on the subwoofer signal:
- On the soundbar, press both the Wireless Next Source button and the Volume Up button for five or more seconds.
- The Audyssey Dynamic Volume Green indicator LED will briefly turn on to show that the subwoofer signal is now on.
To turn off the second room signal:
- On the soundbar, press both the Wireless Next Source button and the Volume Down button for five or more seconds.
- The Audyssey Dynamic Volume Red indicator LED will briefly flash on/off twice, to show that the second room signal is now off.
To turn on the second room signal:
- On the soundbar, press both the Wireless Next Source button and the Volume Down button for five or more seconds.
- The Audyssey Dynamic Volume Red indicator LED will briefly turn on to show that the second room signal is now on.
Care and maintenance
Use the following guidelines to maintain the appearance of your soundbar:
- Use a soft, dry cloth to clean the soundbar.
- Avoid using harsh detergents or cleaning fluids.
- Do not vacuum any of the soundbar components, because permanent damage could result.
Troubleshooting
Check the following information for the possible cause and solution for a problem before contacting the nearest service center or dealer for repairs.

Specifications

Legal notices
FCC Part 15
This device complies with Part 15 of the FCC Rules. Operation of this product is subject to the following two conditions: (1) this device may not cause harmful interference, and (2) this device must accept any interference received, including interference that may cause undesired operation.
This equipment has been tested and found to comply within the limits for a class B digital device, pursuant to Part 15 of the FCC Rules. These limits are designed to provide reasonable protection against harmful interference in a residential installation.
This equipment generates, uses, and can radiate radio frequency energy and, if not installed and used in accordance with the instructions, may cause harmful interference to radio communications.
However, there is no guarantee that interference will not occur in a particular installation. If this equipment does cause harmful interference to radio or television reception, which can be determined by turning the equipment off and on, the user is encouraged to try to correct the interference by one or more of the following measures:
- Reorient or relocate the receiving antenna.
- Increase the separation between the equipment and receiver.
- Connect the equipment into an outlet on a circuit different from that to which the receiver is connected.
- Consult the dealer or an experienced technician for help.
One-year limited warranty
Insignia Products (“Insignia”) warrants to you, the original purchaser of this new product (“Product”), that the Product shall be free of defects in the original manufacture of the material or workmanship for a period of one (1) year from the date of your purchase of the Product (“Warranty Period”). This Product must be purchased from an authorized dealer of Insignia brand products and packaged with this warranty statement. This warranty does not cover refurbished Product. If you notify Insignia during the Warranty Period of a defect covered by this warranty that requires service, terms of this warranty apply.
How long does the coverage last?
The Warranty Period lasts for 1 year (365 days) from the date you purchased the Product. The purchase date is printed on the receipt you received with the Product.
What does this warranty cover?
During the Warranty Period, if the original manufacture of the material or workmanship of the Product is determined to be defective by an authorized Insignia repair center or store personnel, Insignia will (at its sole option): (1) repair the Product with new or rebuilt parts; or (2) replace the Product at no charge with new or rebuilt comparable products or parts. Products and parts replaced under this warranty become the property of Insignia and are not returned to you. If service of Products or parts are required after the Warranty Period expires, you must pay all labor and parts charges. This warranty lasts as long as you own your Insignia Product during the Warranty Period. Warranty coverage terminates if you sell or otherwise transfer the Product.
How to obtain warranty service?
If you purchased the Product at a retail store location, take your original receipt and the Product to the store you purchased it from. Make sure that you place the Product in its original packaging or packaging that provides the same amount of protection as the original packaging. If you purchased the Product from an online web site, mail your original receipt and the Product to the address listed on the web site. Make sure that you put the Product in its original packaging or packaging that provides the same amount of protection as the original packaging.
To obtain in-home warranty service for a television with a screen 30 inches or larger, call 1-888-BESTBUY. Call agents will diagnose and correct the issue over the phone or will have an Insignia-approved repair person dispatched to your home. Should the Insignia-approved repair person not correct the issue on the first call, an Insignia television (size and features to be determined by Insignia) will be loaned to you until your TV is repaired and returned, at no charge to you. This feature is only available to Insignia television consumers residing in the United States.
Where is the warranty valid?
This warranty is valid only to the original purchaser of the product in the United States, Canada, and Mexico.
What does the warranty not cover?
This warranty does not cover:
- Customer instruction
- Installation
- Set up adjustments
- Cosmetic damage
- Damage due to acts of God, such as lightning strikes
- Accident
- Misuse
- Abuse
- Negligence
- Commercial use
- Modification of any part of the Product, including the antenna
- Plasma display panel damaged by static (non-moving) images applied for lengthy periods (burn-in).
This warranty also does not cover:
- Damage due to incorrect operation or maintenance
- Connection to an incorrect voltage supply
- Attempted repair by anyone other than a facility authorized by Insignia to service the Product
- Products sold as is or with all faults
- Consumables, such as fuses or batteries
- Products where the factory applied serial number has been altered or removed
REPAIR REPLACEMENT AS PROVIDED UNDER THIS WARRANTY IS YOUR EXCLUSIVE REMEDY. INSIGNIA SHALL NOT BE LIABLE FOR ANY INCIDENTAL OR CONSEQUENTIAL DAMAGES FOR THE BREACH OF ANY EXPRESS OR IMPLIED WARRANTY ON THIS PRODUCT, INCLUDING, BUT NOT LIMITED TO, LOST DATA, LOSS OF USE OF YOUR PRODUCT, LOST BUSINESS OR LOST PROFITS. INSIGNIA PRODUCTS MAKES NO OTHER EXPRESS WARRANTIES WITH RESPECT TO THE PRODUCT, ALL EXPRESS AND IMPLIED WARRANTIES FOR THE PRODUCT, INCLUDING, BUT NOT LIMITED TO, ANY IMPLIED WARRANTIES OF AND CONDITIONS OF MERCHANTABILITY AND FITNESS FOR A PARTICULAR PURPOSE, ARE LIMITED IN DURATION TO THE WARRANTY PERIOD SET FORTH ABOVE AND NO WARRANTIES, WHETHER EXPRESS OR IMPLIED, WILL APPLY AFTER THE WARRANTY PERIOD. SOME STATES, PROVINCES AND JURISDICTIONS DO NOT ALLOW LIMITATIONS ON HOW LONG AN IMPLIED WARRANTY LASTS, SO THE ABOVE LIMITATION MAY NOT APPLY TO YOU. THIS WARRANTY GIVES YOU SPECIFIC LEGAL RIGHTS, AND YOU MAY ALSO HAVE OTHER RIGHTS, WHICH VARY FROM STATE TO STATE OR PROVINCE TO PROVINCE.
Contact Insignia:
For customer service please call 1-877-467-4289
www.insigniaproducts.com
Distributed by Best Buy Purchasing, LLC
7601 Penn. Avenue South, Richfield, Minnesota, U.S.A.
55423-3645
© 2011 BBY Solutions, Inc.
All rights reserved. INSIGNIA is a trademark of BBY Solutions, Inc. Registered in some countries. All other products and brand names are trademarks of their respective owners.
www.insigniaproducts.com (877) 467-4289
Distributed by Best Buy Purchasing, LLC
7601 Penn Avenue South, Richfield, MN USA 55423-3645
© 2011 BBY Solutions, Inc.
All rights reserved. INSIGNIA is a trademark of BBY Solutions, Inc. Registered in some countries. All other products and brand names are trademarks of their respective owners.
Read More About This Manual & Download PDF:
INSIGNIA NS-SBAR/ NS-SBAR-A Soundbar Home Theater System User Guide – Download
Questions about your Manual? Post in the comments!























