Assembly Instruction
Furinno Montale Desk Top Organizer Bookshelf
MODEL : 20341
![]()
HARDWARE & PARTS LIST
| NO | HARDWARE LIST | QTY |
| 1 | SCREW | 12pcs |
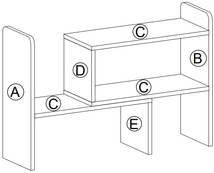
| NO | PARTS LIST | QTY |
| A | LEFT SIDE PANEL | 1 pc |
| B | RIGHT SIDE PANEL | 1 pc |
| C | SHELF PANEL | 3pcs |
| D | UPPER SIDE PANEL | 1 pc |
| E | BOTTOM SIDE PANEL | 1 pc |

USEFUL HINTS BEFORE YOU START:
- Read each step carefully before starting.
- It is important that each step is performed in correct order to avoid difficulties.
- Identify, sort and count the parts before assembly.
- Assemble your furniture on packaging cardboard to prevent scratch or damage.
- Clean the product with mild cleanser using soft damped cloth. Do not use harsh or abrasive cleanser.
- Using uncompatible hardware might cause damage to product.
ASSEMBLY INSTRUCTIONS
BEFORE YOU BEGIN, PLEASE READ ASSEMBLY INSTRUCTIONS CAREFULLY, FOLLOW THEM STEP BY STEP.

Recommended Maximum Weight

*Unit in Pound(lbs.)
WARNING:
>This unit has been designed to support the maximum loads shown. Exceeding these load limits could cause sagging, instability, product collapse, and/or serious injury.
>DO NOT allow children to climb on unit.
> Put heavier items on lower shelves.
Customer Support
NEED HELP? For replacement requests or product inquiries, please contact our Customer Service Team by emailing us at [email protected]. Thank you for selecting Furinno!


















