BD 50/50 C Classic Bp Pack 80Ah Li

Product Information: BD 50/50 C Classic Bp Pack 80Ah Li
The BD 50/50 C Classic Bp Pack 80Ah Li is a floor scrubber and cleaner that can be used for both wet cleaning and suction of dirt.
It comes with a rechargeable 80Ah Li battery and has various modes for different cleaning requirements. The product is equipped with safety features such as safety switches and can be adjusted for water and cleaning solution quantities.
Product Usage Instructions
- Vor Inbetriebnahme: Before using the product, unload it and assemble the suction bar, connect the suction hose, and charge the battery as per instructions. Ensure that the safety switch is in place.
- Betrieb: To use the product, turn on the safety switch, adjust the water quantity using the regulator knob, and adjust the suction bar as required. Use recommended cleaning solutions as per the cleaning requirement.
- Anhalten und abstellen: To stop the product, release the safety switch, turn the program selector to “Saugen” to suction off any remaining water, lift the suction bar, and charge the battery if required.
- Transport: Use the transport handle to move the product around when not in use.
- Lagerung: Store the product in a dry and secure place when not in use.
- Pflege und Wartung: Regularly clean and maintain the product as per instructions provided in the manual.
Use frost protection solution when storing in cold temperatures.
Safety instructions
Before using the appliance for the first time, read and observe these operating instructions and the accompanying brochure: Safety information for brush cleaning units and spray-extraction units, No. 5.956-251.0.
The device may only be operated when the cover and all lids are closed.
The appliance must only be operated on sur-faces that do not exceed the max. permitted incline (see “Technical Specifications”).
WARNING
Do not use the appliance on inclines.
Safety Devices
Safety devices serve to protect the user and must not be rendered in operational or their functions bypassed.
Safety Switch
If the safety switch is released, the brush drive shuts off.
Danger or hazard levels
DANGER
For an immediate danger which can lead to severe injuries or death.
WARNING
For a possibly dangerous situation which could lead to severe injuries or death.
CAUTION
Pointer to a possibly dangerous situation, which can lead to minor injuries.
ATTENTION
Pointer to a possibly dangerous situation, which can lead to property damage.
Information on battery (accumulator) and charger
Lithium-ion batteries are installed in the appliance. These are subject to special criteria. The removal and the installation as well as the examination of defective batteries may only be performed by the Kärcher aftersales service or a specialist.
Information on storage and transport can be obtained from your Kärcher aftersales service.
DANGER
- Alterations and modifications on the appliance are prohibited.
- Do not open the battery, as there is a risk of an electrical shock; also, irritating or caustic vapors can escape.
- Do not expose the battery to direct sunlight, heat or fire, there is a risk of explosion.
- Do not operate the charger in explosive environment.
- Ensure sufficient ventilation during the charging process.
- Do not use the charger if dirty or wet. Do not work with open flames, generate sparks or smoke in the vicinity of a battery or a battery charging room. Danger of explosion.
WARNING
- Check the appliance and the power cable for damage prior to every use
- Do not use damaged appliances and have damaged parts repaired by specialists only.
- Keep children away from batteries and charger.
Do not charge damaged batteries. Have damaged batteries replaced by the Kärcher aftersales service. - Do not discard defective batteries in the domestic waste, inform Kärcher after-sales service.
- Avoid contact with liquids oozing out of defective battery packs. Rinse thoroughly if you accidentally come in con-tact with the fluid. Also consult a doctor if the fluid comes in contact with your eyes.
CAUTION
These operating instructions must be observed unconditionally. Observe recommendations of the lawmaker for handling batteries.
- The mains voltage must correspond with the voltage indicated on the type plate of the appliance.
Use the charger only to charge approved battery packs.
The accumulator may only be operated with this appliance. It is dangerous and prohibited to use it for other purposes.
Function
The scrubbing vacuum cleaner is used for the wet cleaning of level floors.
- The device can be easily adjusted to the respective cleaning task by adjusting the water volume and the detergent volume.
- The detergent dosing unit can be adjusted via the addition in the tank. The device is equipped with a fresh water and a waste water tank (50 liters each). These allow an effective cleaning with a long usage life.
- A working distance of 500 mm will improve the efficiency when you are using the appliance for a long period.
- Propulsion is accomplished by manually pushing the device and is supported by the rotation of the brushes.
Note:
The appliance can be equipped with various accessories depending on the cleaning task.
Please request our catalogue or visit us on the Internet at www.kaercher.com.
Proper use
Use this appliance only as directed in these operating instructions.
- This appliance is suited for the commercial use, e.g. in hotels, schools, hospitals, factories, shops, offices, and rental companies.
- The appliance may only be used for the cleaning of hard surfaces that are not sensitive to moisture and polishing operations.
- The appliance is not suited for the cleaning of frozen grounds (e.g. in cold stores).
- The appliance may only be equipped with original accessories and spare parts.
- The appliance is not suited for the use in potentially explosive environments.
- The machine should not be used to suck in inflammable gases, undiluted acids or solvents.
This includes petrol, thinning agents or hot oil that can form an explosive mixture when it comes in contact with sucked air. Do not use acetone, undiluted acids and solvents as they are aggressive towards the materials from which the appliance is made. - The machine has been approved for use on surfaces with max. gradients as listed under “Technical Specifications”.
- The application temperature ranges from +5°C to +40°C.
Environmental protection
![]() | The packaging material can be recycled. Please do not throw the packaging material into household waste; please send it for recycling. |
|
| Old appliances contain valuable recyclable materials that should be recycled properly. Batteries, oil, and similar substances must not be released into the environment. Please dispose of your old appliances using appropriate collection systems. |
Information on ingredients (REACH) The latest information on ingredients can be found under: www.kaercher.de/REACH
Warranty
The warranty terms published by our competent sales company are applicable in each country. We will repair potential failures of your accessory within the warranty period free of charge, provided that such failure is caused by faulty material or defects in fabrication. In the event of a warranty claim please contact your dealer or the nearest authorized Customer Service center. Please submit the proof of purchase.
Operating and Functional Elements
- Fluff filter
- Safety button
- Battery *
- Drain hose for wastewater with dosing unit
- Holding rail for home base
- Float
- Fresh water tank
- Fresh water tank lock
- Cleaning head
- Disc brush
- Fresh water reservoir filler neck
- Bow brush change
- Waste water tank
- Pedal transport chassis
- Fresh water level display
- Rotary handle to incline the vacuum bar
- Height adjustment of suction bar
- Wing nuts for fastening the vacuum bar
- Vacuum bar *
- Suction hose
- Water quantity regulator
- Battery socket
- Vacuum bar lowering lever
- Operator console
- Push handle
- Storage surface for cleaning set “Home base box“
- Cover waste water tank
* not included in the delivery

Color coding
- The operating elements for the cleaning process are yellow.
- The controls for the maintenance and service are light gray.
Operator console

- OFF
Device is switched off - Normal mode
Wet clean the floor and vacuum up dirt water. - Intense mode
Wet clean the floor and allow the deter-gent to react. - Vacuum mode
Suck in the dirt fleet. - Program selection switch
- Display
Symbols on the machine

** option
Before Startup
Unloading
- Unscrew the screws from the middle board of the pallet.
- Push down the device holding the push handle and pull out the middle board.
- Remove the chocks in front of and next to the wheels.
- Push down the device holding the push handle and push it forwards up to the edge of the pallet.
- Lift the device off the pallet and set it on the floor.
Check battery
- Check that the circular connectors and the screw connections of the battery poles are tight.
- If necessary, retighten the cables on the battery poles with a torque wrench: Screw M8: 18 Nm
- Screw M10: 23 Nm
Charging battery
Note:
The device is equipped with a safety mechanism to prevent total discharge, i.e. when the permissible minimum capacity is reached, the brush motor and the turbine are switched off.
- Drive the machine directly to the charging station; avoid any steep gradients in the process.
DANGER
Danger of injury due to electric shock. Ob-serve the mains voltage and fuse protection on the type plate of the device.
Charging process
The charging time depends on the battery condition and the charger.
When the battery is empty, the charging time is approximately:
| Charger | Charging time, approx. [h] |
| 6.654-479.0 | 8 |
| 6.654-480.0 | 2 |
The appliance must not be used during the charging process.
ATTENTION
Risk of damage. Do not clean the device with water while the tank is removed.

- Battery plug, appliance side
- Battery plug, battery side
Detach the battery plug on the unit side.
ATTENTION: Risk of damage!
- Do not connect the charger with the battery plug on the unit side.
- Only use a charger that is suitable for the installed battery type:
| Battery type | Charger |
| 6.654-454.0 | 6.654-479.0 |
| 6.654-480.0 |
Note: Please read the operating instructions of the charger manufacturer, especially the chapters on safety instructions!
- Connect the battery plug on the battery side with the charger.
- Plug the mains plug of the charger into a power outlet.
- Execute the charging process according to the information in the operating instructions of the charger.
- Disconnect the power cord of the charger.
- Disconnect the battery connector from the charger.
- Connect the battery plug on the device side with the battery plug on the battery side.
Installing the Vacuum Bar
- Insert the vacuum bar into the vacuum bar suspension in such a manner that the profiled sheet is positioned above the suspension.
- Tighten the wing nuts.
Insert the suction hose.
Operation
- DANGER: Risk of injury!
In dangerous situations, release the safety switch/drive lever.
Filling in detergents
Fresh water
- Open the lock of the fresh water reservoir.
- Fill up fresh water (maximum 50 °C) until the lower edge of filling nozzle.
- Close the lock of the fresh water reservoir.
Detergent
WARNING
Risk of damage. Only use the recommended detergents. With other detergents, the opera-tor bears the increased risk regarding the operational safety and danger of accident. Only use detergents that are free from sol-vents, hydrochloric acid and hydrofluoric acid. Follow the safety instructions for using detergents.
Note:
Do not use highly foaming detergents.
Recommended detergents:
| Application | Detergent |
| Routine cleaning of all water resistant floors | RM 746 RM 780 |
| Routine cleaning of glossy surfaces (e.g. granite) | RM 755 es |
| Routine cleaning and basic cleaning of industrial floors | RM 69 ASF |
| Routine cleaning and basic cleaning of fine stoneware tiles | RM 753 |
| Routine cleaning of tiles in sanitary areas | RM 751 |
| Cleaning and disinfection in sanitary areas | RM 732 |
| Removal of coating from all alkali-resistant floors (e.g. PVC) | RM 752 |
| Removal of coating from linoleum floors | RM 754 |
Add the detergent to the fresh water reservoir.
Note: If the fresh water tank is empty, the cleaning head continues working without liquid supply.
Setting the water quantity
- Adjust the water quantity using the regulating button according to the dirt on the floor covering.
Note: Carry out initial cleaning attempts with low water volume. Increase water volume step-by-step until the desired cleaning result is achieved.
Setting the Vacuum Bar
Oblique position
To improve the vacuuming result on tiled floors the vacuum bar can be turned to an oblique position of up to 5°.
- Loosen the wing nuts.
- Turn the vacuum bar.

- Tighten the wing screws.
Inclination
If the vacuum result is unsatisfactory the inclination of the straight vacuum bar can be modified.
- Adjust the rotary handle to incline the suction bar.
Height
The bend of the suction lips upon contact with the floor is influenced with the height adjustment.
Try adjusting the twist handles of the height adjustment until the best vacuuming result is achieved.
Try adjusting the twist handles of the height adjustment until the best vacuuming result is achieved.
Cleaning
ATTENTION
Risk of damage to the floor covering. Do not operate the appliance on the spot.
- Swivel the pedal for the transport chassis down.
Turn the program selection switch to the desired cleaning program.
Lower the vacuum bar
- Pull the lever out and press it down; the vacuum bar is lowered.
Note:
- For cleaning tiled floors, adjust the straight suction bar in such a way that cleaning is not done at an angle of 90 degrees to the joints.
- The inclined position and the inclination of the suction bar can be adjusted to achieve better suction results (see “Adjusting the suction bar”).
- If the waste water tank is full, the float closes the suction opening and the suction turbine runs at an increased speed. If this is the case, shut the vacuum off and drive to empty the waste water tank.
Shutting Down the Appliance
- Release the safety switch.
- Set the program selection switch to suction or vacuuming.
- Briefly drive forward and suck of the remaining water.
- Raise the vacuum bar.
- Charge battery, if required.
Drain off dirt water
WARNING
Please observe the local provisions regarding the wastewater treatment.
- Take the water discharge hose from the support and lower above a suited col-lection device.

- Crush or bend the dosing equipment.
- Open the lid of the dosing equipment.
- Drain off the dirt water – regulate the water quantity by pressing or bending.
- Rinse the waste water tank with clear water.
Drain off clean water
Unscrew the lock of the fresh water reservoir.
Transport
DANGER
Risk of injury! When loading or unloading the machine, it may only be operated on gradients up to the maximum value (see “Technical Specifications”). Drive slowly.
CAUTION
Risk of personal injury or damage! Mind the weight of the appliance during transport.
- Lift the pedal for the transport chassis.
- Use the pushing handle to push the appliance.
When transporting in vehicles, secure the appliance according to the guide-lines from slipping and tipping over.
Storage
CAUTION
Risk of personal injury or damage! Consider the weight of the appliance when storing it.
This appliance must only be stored in interior rooms.
Care and maintenance
DANGER: Risk of injury!
Set the programme selector switch to “OFF” and pull the mains plug of the charger prior to performing any work on the appliance.
- Drain and dispose of the dirt water and the residual fresh water.
Maintenance schedule
After each operation
ATTENTION
Risk of damage.
Do not sluice the appliance with water and do not use aggressive detergents.
- Drain off dirt water.
- Rinse the waste water tank with clear water.
- Clean the outside of the appliance with a damp cloth which has been soaked in mild detergent.
- Check the fluff filter, clean if required.
- Clean the vacuum lips and the wiping lips, check for wear and replace if required.
- Check the brush for wear and replace if required (see “Maintenance tasks”).
- Charge the battery if required. Monthly
- Check battery poles for oxidation.
- Check that the battery cables are tight,
- Clean the seals between waste water tank and cover and check for tightness, replace if required.
- Clean sieve.
- For long periods of disuse, only turn the device off when the battery is fully charged. Fully recharge the battery at least every month.
Yearly
- Have the prescribed inspection carried out by the customer service.
Maintenance Works
Cleaning the sieve

- Cover
- Cover
- Open the cover.
- Turn cover the clockwise and remove it.
- Remove and clean the sieve lying beneath it.
- Insert the sieve.
- Replace the cover and lock it by turning it anti-clockwise.
- Close cover.
Replace or turn vacuum lips

- Wear indicator
- Vacuum lip
The vacuum lips must be replaced or re-versed if they are worn down to the wear indicator.
- Remove the vacuum bar.
- Unscrew the star grips.

- Remove the plastic parts.
- Remove the vacuum lips.
- Insert new or reversed vacuum lips.
- Insert the plastic parts.
- Screw in and tighten the star grips. Replacing the disk brushes
- Push down the device holding the push handle so that the cleaning head is raised.
- Press the pedal for changing the brushes downward beyond its resistance.

- Pull the device towards the back so that the disc brush becomes accessible.
- Place a new disc brush on the floor in front of the device.
- Drive the device with the raised cleaning head over the new disc brush and lower the cleaning head.
The brush locks into the drive.
Removing the waste water tank
Drain off dirt water.
Lift up the waste water tank and put it aside.
Batteries
DANGER
Risk of explosion. Do not place tools or the like on the battery, i.e. on the terminal poles and cell connectors.
Recommended batteries
| Order No. | |
| 80 Ah | 6.654-454.0 |
| Insert batteries and connect | |
Insert batteries and connect
- Drain off dirt water.
- Lift up the waste water tank and put it aside.
- Pull out the battery plug.

- Spacer
- Battery
- Round plug
- Battery pole
- Place the battery into the device as shown above.
- Insert the spacer between the battery and the device on the side indicated in the picture.
CAUTION
When removing and installing the battery, the position of the machine might become unstable. Please ensure that it is in a se-cure position.
- Clamp the connecting cables supplied onto the (+) and (-) battery terminals.
- Plug both circular connectors into the battery.
ATTENTION
If the polarity is reversed (positive and negative terminals), the control electronics are destroyed.
Pay attention to correct poles.
- Place the waste water tank on the appliance.
Note:
Charge the batteries before commissioning the appliance.
See also “Charging the batteries”.
Removing the batteries
- Set the programme selector switch to “OFF”.
- Pull out the battery plug.
- Lift up the waste water tank and put it aside.
- Unplug both circular connectors from the battery.
- Clamp off the minus pole of the battery.
- Disconnect the cable from positive terminal of the battery.
- Remove the support blocks or the foam pieces.
CAUTION
When the batteries are installed and re-moved, the stability of the appliance can be compromised; ensure a safe stance.
- Remove the batteries.
- Dispose of the used batteries according to the local provisions.
Maintenance contract
To ensure a reliable operation of the appliance maintenance contracts can be concluded with the competent Kärcher sales office.
Frost protection
In case of danger of frost:
- Empty the fresh and waste water tank.
- Store the appliance in a frost-protected room.
Faults
DANGER
Risk of injury! Set the programme selector switch to “OFF” and pull the mains plug of the charger prior to performing any work on the appliance.
- Drain and dispose of the dirt water and the residual fresh water.
Faults with display
| Display | Correction |
| ERR B | Check if foreign objects block the brush; remove foreign object if required. Set the programme selector switch to “OFF”, release the safety switch, wait for 3 seconds, restart. |
| ERR T | Set the programme selector switch to “OFF”, release the safety switch, wait for 3 seconds, restart. If the event recurs, call Customer Service. |
| LOW BAT | Charge battery. If the error is still displayed, check the two circular connectors on the battery are properly connected. If the event recurs, call Customer Service. |
| ERR TEMP | Allow device to cool down. |
| HANDS OFF | Release the safety switch and wait until the operating hours or the battery status are displayed. Then operate the safety switch again. |
| ERR REL | Set the programme selector switch to “OFF”, release the safety switch, wait for 3 seconds, restart. If the event recurs, call Customer Service. |
| ERR PWM | Set the programme selector switch to “OFF”, release the safety switch, wait for 3 seconds, restart. If the event recurs, call Customer Service. |
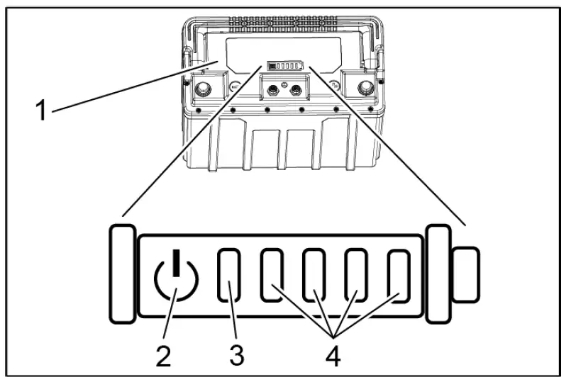
| Battery status display | |
Battery status display
- Battery
- Button
- “Status” LED
- Indicator LED
Press the button for 5 seconds.
No LED lights up: Charge the battery.
The status LED lights up green: Together, all 5 LEDs indicate the battery’s charging state.
The status LED lights up red:
The indicator LEDs indicate a malfunction. Malfunctions described in the following table can be remedied by the user. Contact KÄRCHER Customer Service for all mal-functions indicated not described above.

![]() | Cause | Correction | ||||
| red | – | – | – | – | Battery too hot. | Allow the battery to cool down. |
| red | – | – | – | green | Battery management system too hot. | Allow the battery to cool down. |
| red | – | – | green | – | Battery too cold for charging. | Move the device to a warmer place and wait until the battery has warmed up. |
| red | – | – | green | green | Current consumption too high during charging. | Unplug the mains plug of the charger. Wait 10 seconds. Reinsert the mains plug. If the mal- function is displayed again, replace the charger. |
| Device current consumption too high. | Switch off the device. If the malfunction occurs again after switching on, look for a fault in the device. | |||||
| red | – | green | – | green | Short-circuit | Check all battery connections. |
| red | – | green | green | – | Cell voltage too low during dis- charge. | Charge battery. |
| red | – | green | green | green | Cell voltage too high during charging. | Discharge battery to 20% remaining capacity. Then charge the battery. |
| red | green | – | – | green | Battery voltage too low. | Charge battery. |
| red | green | – | green | – | Malfunction during charging process. | Unplug the mains plug of the charger. Wait 10 seconds. Reinsert the mains plug. If the mal- function is displayed again, replace the charger. |
| red | green | – | green | green | ||
| red | green | green | – | – | Battery too cold to output power. | Move the device to a warmer place and wait until the battery has warmed up. |
| red | green | green | green | – | Power output malfunction. | Switch off the device. If the malfunction persists, contact Customer Service. |
Faults without display on the console
| Failure | Correction |
| Appliance cannot be started | Turn the program selection switch to the desired programme. |
| Operate the safety switch. | |
| Insert battery plug. | |
| Check battery; charge it if required. | |
| Make sure that all battery terminals are connected. | |
| Insufficient water quantity | Check fresh water level, refill tank if necessary. |
| Increase the water volume on the regulating knob for water volume. | |
| Clean sieve. | |
| Insufficient vacuum performance | Clean the seals between waste water tank and cover and check for tightness, replace if required. |
| Wastewater reservoir is full; shut off the appliance and empty the wastewater reservoir | |
| Clean the fluff filter. | |
| Clean the vacuum lips on the vacuum bar, replace if required | |
| Check if the cover on the dirt water discharge hose is closed | |
| Check the setting of the vacuum bar. | |
| Check suction hose for blockages; clean if required. | |
| Check the suction hose for tightness; replace if required. | |
| Insufficient cleaning result | Check the brushes for wear, replace if required. |
| Increase the water volume. | |
| Check the brush type and the detergent for their suitability. | |
| Suction turbine is running rough | Clean the swimmer. |
| Brush does not turn | Check if foreign objects block the brush; remove foreign object if required. |
| If over-current switch in the electronics system has been triggered, turn programme selection switch to “OFF”. Afterwards, set it back to the desired programme. | |
| Vibrations during cleaning | You might need to use a softer brush. |
| In case of faults that cannot be remedied using the table below please contact the customer service. | |
Cleaning the floater
- Open the cover of the waste water tank.
- Swimmer casing
- Lock hook
- Float
- Lower part

- Pull out the float casing towards the top.
- Detach locking hooks.
- Clean float and bottom part.
- Assemble the float casing and insert it into the device.
Accessories
| Description | Part no.: | Description |
| Disk brush, red (medium, standard) | 4.905-026.0 | For the use with all common cleaning tasks. |
| Disk brush, natural (white) | 4.905-027.0 | Made of natural fibers for spot cleaning and polishing. |
| Disk brush, black (hard) | 4.905-029.0 | For heavy soiling and for deep cleaning. For robust floorings only. |
| Driver plate pad | 4.762-534.0 | For cleaning with pads. With quick change coupling and center lock. |
| Pad, red (medium soft) | 6.369-079.0 | For cleaning and clearing of all floors. |
| Pad, green (medium hard) | 6.369-078.0 | For cleaning heavily soiled floors and for deep cleaning. |
| Pad, black (hard) | 6.369-077.0 | With stubborn soiling and for deep cleaning. |
| Pad, beige (light grain) | 6.369-468.0 | For polishing and refreshing of hard and flexible floorings. |
| Pad, beige (natural hair proportion) | 6.371-146.0 | |
| Suction bar, 850 mm, straight | 4.777-401.0 | |
| Suction bar, 850 mm, bent | 4.777-411.0 | |
| Set homebase box | 4.035-406.0 |
Technical specifications
| Power | ||
| Nominal voltage | V | 24 |
| Battery capacity | Ah (5h) | 80 |
| Average power consumption | W | 1100 |
| Rated power suction tur- bine | W | 500 |
| Rated power brush drive | W | 600 |
| Vacuuming | ||
| Vacuum power, air volume (max.) | l/s | 24 |
| Vacuuming power, negative pressure (max.) | kPa (mbar) | 120 |
| Type of protection | IPX 3 | |
| Cleaning brushes | ||
| Brush speed | 1/min | 180 |
| Brush diameter | mm | 510 |
| Dimensions and weights | ||
| Theoretical surface cleaning performance | m²/h | 2000 |
| Max. working range in- cline | % | 2 |
| Fresh/waste water tank volume | l | 50/50 |
| Max. water temperature | °C | 50 |
| max. water pressure | bar | 0.06 |
| Net weight (transport weight) | kg | 87 |
| Total weight (ready to operate) | kg | 138 |
| Dimensions of battery compartment | mm | 350 x 350 |
| Values determined as per EN 60335-2- 72 | ||
| Total oscillation value | m/s2 | <2.5 |
| Uncertainty K | m/s2 | 0.2 |
| Sound pressure level LpA | dB(A) | 66 |
| Uncertainty KpA | dB(A) | 2 |
| Sound power level LWA + Uncertainty KWA | dB(A) | 81 |
EU Declaration of Conformity
We hereby declare that the machine de-scribed below complies with the relevant basic safety and health requirements of the EU Directives, both in its basic design and construction as well as in the version put into circulation by us. This declaration shall cease to be valid if the machine is modified without our prior approval.
Product: Floor cleaner
Type: 1.127-xxx 1.515-xxx
Relevant EU Directives
2006/42/EC (+2009/127/EC)
2014/30/EU
2011/65/EU
Applied harmonized standards
EN 60335–1
EN 60335–2–72
EN 55012: 2007 + A1: 2009
EN 61000–6–2: 2005
EN 62233: 2008
EN IEC 63000: 2018
Applied national standards
–
The signatories act on behalf of and with of the authority of the company management.
Documentation supervisor: S. Reiser
Alfred Kärcher SE & Co. KG Alfred-Kärcher-Straße 28-40 71364 Winnenden (Germany)
Tel.: +49 7195 14-0
Fax: +49 7195 14-2212
Winnenden, 2021/02/01
Declaration of Conformity
We hereby declare that the product de-scribed below complies with the relevant provisions of the following UK Regulations, both in its basic design and construction as well as in the version put into circulation by us. This declaration shall cease to be valid if the product is modified without our prior approval.
- Product: Floor cleaner
- Type: 1.127-xxx 1.515-xxx
Currently applicable UK Regulations
- S.I. 2008/1597 (as amended)
- S.I. 2016/1091 (as amended)
- S.I. 2012/3032 (as amended)
Designated standards used
- EN 60335–1
- EN 60335–2–72
- EN 55012: 2007 + A1: 2009
- EN 61000–6–2: 2005
- EN 62233: 2008
- EN IEC 63000: 2018
National standards used
–
The signatories act on behalf of and with of the authority of the company management.
Documentation supervisor: S. Reiser
Alfred Kärcher SE & Co. KG Alfred-Kärcher-Straße 28-40 71364 Winnenden (Germany) Tel.: +49 7195 14-0
Fax: +49 7195 14-2212
Winnenden, 2021/02/01
Accessories and Spare Parts
Only use original accessories and spare parts, they ensure the safe and trouble-free operation of the device.
For information about accessories and spare parts, please visit www.kaerch-er.com.
THANK YOU!
Register your product and benefit from many advantages.
www.kaercher.com/welcome
Rate your product and tell us your opinion
www.kaercher.com/dealersearch
Alfred Kärcher SE & Co. KG
Alfred-Kärcher-Str. 28-40
71364 Winnenden (Germany)
Tel.: +49 7195 14-0
Fax: +49 7195 14-2212

References
Neu am Niederrhein: AAN Unternehmensverband
Ihr Partner für Gabionen und Steinkröge. Von der Planung bis zur Realisierung.
aspiration.La
batteria.Se
Cleaning equipment and pressure washers | Kärcher International
Marche Corporate | Home
KOZMETIČNI STUDIO MARIPOSA, KARMEN KRISTAN S .P . – Nega, obraza, Manikura, izdelava, umetnih, nohtov, z, akrilom, pedikura, masaža, oblikovanje, in, nega, obrvi, po, metodi, Anastasia, Beverly, Hills, Karmen, Jarc, Mariposa, kozmetični, salon, Lepota, tel
seconds.no
Cleaning equipment and pressure washers | Kärcher International
Dealer Search | Kärcher International
Home Garden Warranty Registration Karcher North America USA | Kärcher
Reinigungsgeräte und Hochdruckreiniger | Kärcher
Reinigungsgeräte und Hochdruckreiniger | Kärcher
Reinigungsgeräte und Hochdruckreiniger | Kärcher
Reinigungsgeräte und Hochdruckreiniger | Kärcher
Reinigungsgeräte und Hochdruckreiniger | Kärcher
Reinigungsgeräte und Hochdruckreiniger | Kärcher
Reinigungsgeräte und Hochdruckreiniger | Kärcher
Reinigungsgeräte und Hochdruckreiniger | Kärcher
Reinigungsgeräte und Hochdruckreiniger | Kärcher
Reinigungsgeräte und Hochdruckreiniger | Kärcher
Reinigungsgeräte und Hochdruckreiniger | Kärcher
Reinigungsgeräte und Hochdruckreiniger | Kärcher
Reinigungsgeräte und Hochdruckreiniger | Kärcher
Reinigungsgeräte und Hochdruckreiniger | Kärcher
Reinigungsgeräte und Hochdruckreiniger | Kärcher
Reinigungsgeräte und Hochdruckreiniger | Kärcher
Reinigungsgeräte und Hochdruckreiniger | Kärcher
Reinigungsgeräte und Hochdruckreiniger | Kärcher
Reinigungsgeräte und Hochdruckreiniger | Kärcher
Reinigungsgeräte und Hochdruckreiniger | Kärcher
Reinigungsgeräte und Hochdruckreiniger | Kärcher
Reinigungsgeräte und Hochdruckreiniger | Kärcher
Reinigungsgeräte und Hochdruckreiniger | Kärcher
























