KARCHER BD 70/75 W Classic Bp Vacuum Cleaner

Product Information
- Product Name: BD 70/75 W Classic Bp (NA), BD 80/100 W Classic Bp, BR 75/75 W Classic Bp, BR 85/100 W Classic Bp
- Language Options in User Manual: Deutsch, English, Italiano, Nederlands, Dansk, Norsk, Svenska, Suomi, Magyar, Cestina, Slovenscina, Polski, Slovencina, Hrvatski, Srpski, Eesti, Latviesu, Lietuviskai, Indonesia
- Product Dimensions: Not mentioned
- Weight: Not mentioned Manufacturer: Kärcher Model Number: Not mentioned
- Warranty: Not mentioned Included Components: Not mentioned Safety
- Features: Not mentioned
- Technical Specifications: Not mentioned
Product Usage Instructions
General Instructions
- Read all the instructions carefully before using the product.
- Keep the user manual handy for future reference.
Assembly
- The assembly instructions are not provided in the given text-extract.
Operation
- The operation instructions are not provided in the given text-extract.
Transport
- The transport instructions are not provided in the given text-extract.
Storage
- The storage instructions are not provided in the given text-extract.
Maintenance
- The maintenance instructions are not provided in the given text-extract.
Note: Due to the limited information provided in the text-extract, it is not possible to provide detailed product information and usage instructions. For complete and accurate information, please refer to the full user manual or contact the manufacturer directly.
General notes
Read these original operating instructions and the enclosed safety instructions before using the device for the first time. Proceed accordingly.
Keep both books for future reference or for future owners.
Function
This scouring and vacuum machine is used for wet cleaning of level floors.
The device can be adjusted to suit the respective cleaning task by setting the water volume and detergent volume appropriately. The detergent dosing is adjusted via the amount added to the tank.
The working width and the capacity of the fresh and waste water tanks (see chapter ” Technical data) enable effective cleaning with a long working time.
The device has a drive motor.
Note
The device can be equipped with various accessories to suit the respective cleaning task. Request a copy of our catalogue or visit our Internet website at www.kaercher.com.
Intended use
This device is suitable for commercial and industrial use, e.g. in hotels, schools, hospitals, factories, shops, offices, and rental companies. Use the device only in accordance with the information in these operating instructions.
- The device may only be used for cleaning smooth surfaces that are insensitive to water and polishing.
- The device is not suitable for cleaning frozen floors (e.g. in cold stores).
- The device is not suitable for use in potentially explosive environments.
- The device is approved for operation on surfaces with a maximum slope (see chapter Technical data).
Environmental protection
The packing materials can be recycled. Please dispose of packaging in accordance with the environmental regulations.
Electrical and electronic appliances contain valuable, recyclable materials and often components such as batteries, re-chargeable batteries or oil, which – if handled or disposed of incorrectly – can pose a potential threat to human health and the environment. However, these components are required for the correct operation of the appliance. Appliances marked by this symbol are not allowed to be disposed of together with the house-hold rubbish.
Notes on the content materials (REACH)
Current information on content materials can be found at: www.kaercher.com/REACH
Warranty
The warranty conditions issued by our relevant sales company apply in all countries. We shall remedy possible malfunctions on your appliance within the warranty period free of cost, provided that a material or manufacturing defect is the cause. In a warranty case, please contact your dealer (with the purchase receipt) or the next authorized customer service site.
(See overleaf for the address)
Accessories and spare parts
Only use original accessories and original spare parts. They ensure that the appliance will run fault-free and safely. Information on accessories and spare parts can be found at www.kaercher.com.
Scope of delivery
Check the contents for completeness when unpacking. If any accessories are missing or in the event of any shipping damage, please notify your dealer.
Safety instructions
Before using the device for the first time, read and observe these operating instructions and the accompanying brochure: Safety in-formation for brush cleaning units spray retraction devices, No. 5.956-251.0.
The device is approved for operation on surfaces with a specified limited slope (see Chapter Technical data).
WARNING
Risk of injury!
Device may tip over on sloping surfaces.
Do not operate the device on sloping surfaces.
The device may only be operated when the hood and all covers are closed.
Safety devices
CAUTION
Missing or modified safety devices!
Safety devices are provided for your own protection.
Do not bypass, remove or render ineffective any safety devices.
Safety switch
The device switches off when the safety switch is released.
Key-operated switch
Pulling the key out of the key-operated switch secures the device against unauthorized use.
Warning symbols
Observe the following warnings when handling the batteries:
![]() | Observe notes in the instructions for the battery, on the battery and in these operating instructions. |
![]() | Wear eye protection. |
![]() | Keep acids and batteries away from children. |
![]() | Risk of explosion |
![]() | Fire, sparks, open flames and smoking are prohibited. |
![]() | Risk of acid burns |
![]() | First aid. |
![]() | Warning |
![]() | Disposal |
![]() | Do not throw batteries in the bin. |
Description of the unit
Overview of front side
Illustration A

- Push handle
- Safety switch
- Waste water tank cap
- Homebase retaining rail
- Waste water tank
- Battery
- Fresh water filter
- Fresh water tank lock
- Pedal for brush replacement
- Disc brush
- Fresh water tank
- Hose holder
- Fresh water tank filling hole
- Not in scope of delivery
Overview of rear
Illustration B

- Waste water drain hose with dosing unit
- Cleaning head
- Pedal for brush replacement
- Suction hose
- Suction bar inclination adjustment
- Wing nuts for fastening the suction bar
- Suction bar height adjustment
- Suction bar
- Fresh water filling level indicator Fresh water drain hose
- Cleaning head lever
- Water volume regulation knob
- Suction bar lever
- Battery plug connector
- Key-operated switch
- Display
- Working speed rotary knob
- Driving direction switch
Overview of R head
Illustration D

- R head
- Scraper roll
- Water distribution strip
- Side skirt
- Sweep bin
Overview of waste water tank
Illustration E

- Coarse dirt filter Fluff filter
- Float
Type plate
Illustration C

- Type plate
Colour coding
- Control elements for the cleaning process are yellow.
- Control elements for maintenance and servicing are light grey.
Symbols on the appliance
Fresh water tank drain opening
Waste water tank drain opening
Increased cleaning head contact pressure
Battery access
Fresh water tank filling level (50%)
Insert the charger plug here
Lashing point
* Mop holder
ATTENTION
Incorrect socket
Risk of damage
DO NOT insert the charger plug here
Normal cleaning head contact pressure
Raise the cleaning head
Pedal for raising/lowering the cleaning head
Brush replacement pedal
* optional
Installation
Unloading
- Remove the carton.
- Remove the straps.
- Remove the wooden blocks fastened to the pallet by screws.
- Using the 3 upper reinforcing boards of the carton packaging and the securing board screwed laterally on the pallet, place a ramp in front of the pallet and secure it using board pallet screws.
Illustration F
Illustration G
- Securing board
- Beam
- Reinforcing board
- Push the beam which has been unscrewed from the pallet un-der the ramp for support and screw into place.
- Press the cleaning head lever down and latch it in place.
- Only for BD 80/100 and BR 85/100: Press the brake lever down.
Illustration H
Brake lever- Note For BD 70/75 and BR 75/75, there is no brake. Releasing the brake is not necessary with this device.
- Pull the device backwards off the pallet.
- Only for BD 80/100 and BR 85/100: Press the brake lever up.
Installing the suction bar
- Insert the suction bar in the suction bar mount.
Illustration J
- Tighten the wing nuts.
- Fit the suction hose.
Batteries
Recommended battery sets BD 70/75 and BR 75/75
| Description | Order no. | Volume (m3)* | Airflow (m3/ h)** |
| Only BD 70/ 75 W 115 Ah – maintenance-free | 2.815-091.0 1) | 1.98 | 0.792 |
| 170 Ah – mainte- nance-free | 2.815-092.0 2) | 2.31 | 0.924 |
| 180 Ah – maintenance-free | 2.815-101.0 3) | 4.785 | 1.914 |
* Minimum volume of the battery charging room
** Minimum airflow between battery charging room and environ-ment
For initial installation, an additional battery installation kit is required:
- 2638-198.0
- 2638-162.0
- 2638-106.0
Recommended battery sets BD 80/100 and BR 85/100
| Description | Order no. | Volume (m3)* | Airflow (m3/ h)** |
| 170 Ah – maintenance-free | 2.815-092.0 1) | 2.31 | 0.924 |
| 180 Ah – maintenance-free | 2.815-101.0 2) | 4.785 | 1.914 |
| 240 Ah – maintenance-free | 2.815-102.0 2) | 6.27 | 2.508 |
| 285 Ah – maintenance-free | 2.815-095.0 3) | 11.88 | 4.752 |
* Minimum volume of the battery charging room
** Minimum airflow between battery charging room and environ-ment
For initial installation, an additional battery installation kit is required:
- 2638-162.0
- 2638-106.0
- 2638-197.0
Low-maintenance batteries (wet batteries)
DANGER
Danger of burns due to acid leakage!
Only fill the battery with water when it is discharged.
When handling battery acid, use safety goggles and immediately rinse out any acid splashes on the skin or clothing with water.
ATTENTION
Risk of damage to the batteries!
Using water with additives will void the battery’s warranty.
Top up the batteries using only distilled or desalinated water (EN 50272-T3).
Do not use any foreign additives or touch-up agents.
- Add distilled water one hour before the charging process comes to an end. Observe the correct acid level according to the battery label.
All cells must produce gas at the end of the charging process.
Maintenance-free batteries (AGM and gel batteries)
ATTENTION
Risk of damage from AGM and gel batteries!
Opening or drilling the battery housing will damage an AGM or gel battery. It must then be replaced.
Do not open the battery housing and do not drill any holes. Do not cover the pressure relief valve and do not change it.
- Only charge AGM and gel batteries using the specified chargers, see chapter: Charging the battery.
Installing and connecting batteries
WARNING
Risk of injury due to the device tipping over!
Device may tip over when removing and installing batteries. Ensure that the device is positioned stably when removing and in-stalling the batteries.
ATTENTION
Risk of damage to the control electronics!
The control electronics can be destroyed by reversing the polarity of the battery connections.
Take care to ensure the correct polarity when connecting the batteries.
WARNING
Danger to life from fire or explosion if batteries are deeply discharged!
Incorrect charging of deeply discharged batteries can cause a fire.
Do not start the device if the battery is deeply discharged. Make sure that the battery is charged before starting the system.
- Drain the waste water.
- Pivot the waste water tank upwards.
- Place the battery in the device as shown.
Important: Push the batteries all the way back!
BD 80/100 and BR 85/100
Illustration K
170 Ah, 2.815-092.0180 Ah, 2.815-101.0
240 Ah, 2.815-105.0
285 Ah, 2.815-095.0
- Spacers
Illustration L
BD 70/75 and BR 75/75 115 Ah, 2.815-091.0
170 Ah, 2.815-092.0 180 Ah, 2.815-101.0 - Spacers
- Battery holder
- Additional weights
- Insert a spacer between the right batteries and the fresh water tank,
- for 115 Ah battery set: 1 piece lengthwise flat.
- for battery sets other than 115 Ah: 2 pieces lengthwise upright on top of each other.
- For BD 70/75 with 115 Ah battery set: Insert the 4 additional weights.
- Attach the battery fastener, to do so
- for BD 70/75: Install the 2 battery holders and for 115 Ah: Tighten at the left and middle threaded holes. For BR 75/75 and BD 70/75: 170 Ah / 180 Ah: Tighten at the right and middle threaded holes.
- For BD 80/100 and BR 85/100: Insert one or two spacers flat lengthwise or vertically between the front batteries and the fresh water tank so that the batteries cannot slip forward.
- Connect the poles to the connection cables from the battery installation kit.
- Clamp the connecting cables on the (+) and (-) battery terminals that are still free.
- Connect the device-side battery connector to the battery-side battery connector.
- Pivot the waste water tank downwards.
Removing the batteries
WARNING
Risk of injury due to the device tipping over!
Device may tip over when removing and installing batteries. Ensure that the device is positioned stably when removing and in-stalling the batteries.
- Turn the key-operated switch to “0” and remove the key.
- Disconnect the battery plug.
- Drain the waste water.
- Pivot the waste water tank upwards.
- Disconnect the device-end cable from the negative terminal of the battery.
- Disconnect the remaining cables from the batteries.
- For BD 80/100: Remove the spacer(s) between the front batteries and the fresh water tank.
- For 115 Ah battery set: Take out the additional weights.
- Remove the batteries.
- Dispose of the used batteries in accordance with statutory provisions.
Initial startup
Charging the battery
DANGER
Risk of injury from charger!
Electric shock due to improper use of the charger!
Adhere to the mains voltage and fuse values specified on the device type plate.
Only use the charger in dry rooms with sufficient ventilation.
ATTENTION
Danger of explosion due to battery!
Gases accumulate under the tank during the charging process. Pivot the waste water tank upwards before charging low-maintenance batteries.
ATTENTION
Risk of damage due to unsuitable charger!
Do not connect the charger to the device-side battery connector. Use only a charger suitable for the type of battery installed. Read the operating instructions of the charger manufacturer and observe the safety instructions in particular.
| Battery set | Capacity | Charger |
| 2.815-091.0 | 115 Ah | 6654-367.0 |
| 2815-092.0 | 170 Ah | 6654-436.0 |
| 2815-101.0 | 180 Ah | 6654-434.0 |
| 2815-105.0 | 240 Ah | 6654-437.0 |
| 2815-095.0 | 285 Ah | 6654-419.0 |
The average charging time is approx. 10-15 hours. The device cannot be used during the charging process.
Note
The device has deep discharge protection, i.e. the brush motor and turbine are switched off automatically when the permitted minimum capacity level is reached.
- Drive the device directly to the charger and do not drive on slopes.
- Pull out the device-side battery connector.
Illustration I
- Battery plug, device side
- Battery plug, battery side
- Connect the battery-side battery connector to the charger.
- Plug the mains plug of the charger into the socket.
- Carry out the charging process in accordance with the operating instructions for the charger.
- Connect the device-side battery connector to the battery-side battery connector.
Operation
ATTENTION
Risks during operation
Danger of injury
Release the safety switch in the case of danger.
Filling with operating materials
Notes on detergents
WARNING
Risk of damage to the device!
If unsuitable detergents are used, the device may get damaged. Use only recommended detergents. The operator carries all in-creased risks relating to operational safety and increased risk of accidents if using other detergents.
Use only detergents free of solvents, salt and hydrofluoric acid. Adhere to the safety instructions stated on the detergent packaging.
Note
Do not use heavily foaming detergent. Recommended detergents
| Application | Detergent |
| Floor maintenance cleaner extra low foaming with EU Ecolabel | APPROX. 50 C |
| Highly wetting universal cleaner | RM 756 |
| Intensive alcohol cleaner for floors and surfaces. Well-suited for hard rock such as granite | RM 755 |
| Fine stone cleaner, surfactant-free | RM 753 |
| Universal decorator, suitable for linoleum | RM 754 |
| Acidic vending machine basic cleaner. Suitable for sanitary areas and construction cleaning | RM 751 |
| Industrial maintenance cleaner | RM 69 |
| Industrial basic cleaner and alkaline de- coater | RM 752 |
| Surface disinfectant cleaner | RM 732 |
Detergent
- Fill the detergent into the fresh water tank.
Note: The cap for the fresh water tank filling hole can be used for measuring the correct quantity of detergent. It has a measuring scale marked on the inner side.
Adjusting the water volume
- Adjust the water volume via the regulating knob to suit the degree of soiling of the floor covering.
Note
Perform initial cleaning tests with a low water volume. Increase the water volume step by step until achieving the desired cleaning result.
Note
The cleaning head continues operating without a liquid supply if the fresh water tank is empty.
Adjusting the suction bar
Adjusting the inclination
The inclination must be adjusted so that the suction lips of the suction bar make even contact with the floor over the entire length of the suction bar.
- Loosen the screw.
Illustration N
- Screw
- Adjust the inclination of the suction bar.
- Tighten the screw.
Adjusting the height
The height adjustment affects the bending of the suction lips on contact with the floor.
- Push the device a small distance forwards.
- Compare the bending of the suction lips with the figure below.
Illustration O
- Spacer roller with holder
- Washer
- Screw
- Unscrew the screw.
- Insert a sufficient number of washers between the suction bar and spacer roller to create the correct bending of the suction lip.
- Fit the remaining unused washers above the spacer roller.
- Screw in and tighten the screw.
- Repeat the entire procedure at the second spacer roller.
- Push the device a small distance forwards.
- Check the bending of the suction lips over the entire length.
- Repeat the adjustment procedure if necessary.
Cleaning
Switching on the device
- Turn the key-operated switch to “1”.
The display shows the following one after the other:- Period of time until the next after-sales Customer Service
- Software version, control panel
- Charging state of the battery and number of operating hours
Cleaning
Note
The inclination and height of the suction bar can be adjusted to improve the vacuuming results (see chapter Adjusting the suction bar).
Note
When the waste water tank is full, the float switch closes the suction opening and the suction turbine runs at a higher speed. In this case, raise the suction bar and drive to the location for emptying the waste water tank.
- Turn the working speed rotary knob to the desired value. The speed is shown on the display during the adjustment. The display is shown in percentage of the maximum speed.
- Set the water volume at the regulating valve.
- Press the suction bar lever downwards.
The suction bar lowers.
Vacuuming begins. - Press the cleaning head lever downwards, unlatch it and allow it to move upwards.
- Pull the safety switch towards the push handle.
The cleaning head starts up and the device moves at the set speed.
Increasing brush contact pressure (BD variant only)
- Let go of the safety switch.
- Lift the cleaning head lever up with your hand and latch it to-wards the right.
Finishing operation
Finishing cleaning
- Let go of the safety switch.
- Press the cleaning head lever down and latch it in place. Continue moving a short distance.
The residual water is vacuumed up. - Lift the suction bar.
The suction continues to run for 10 seconds. - Turn the key-operated switch to “0”.
- Charge the battery if necessary.
Draining the waste water
WARNING
Environmental pollution!
Environmental pollution due to improper disposal in waste water. Observe the local waste water treatment regulations.
- Remove the drain hose from the support and lower it over a suitable collecting device.
Illustration P
- Press the dosing unit together or kink the hose.
- Open the dosing unit cover.
- Drain the waste water. Regulate the water volume by pressing or kinking.
- Rinse the waste water tank with clear water.
Draining fresh water
- Pull off the filling level indicator hose and swivel it down.
Quickly draining fresh water
- Unscrew the fresh water tank cap.
- Allow the fresh water to drain away.
- Fit the fresh water tank cap and screw into place.
Note: Take care to ensure that the hose connection in the fresh water tank cap is positioned at the lowest point in the tank after screwing the cap in place.
Transport
DANGER
Driving on slopes
Risk of injury
Observe the maximum permissible inclination when driving the device on slopes for loading and unloading purposes (see chapter “Technical data”).
Drive slowly.
CAUTION
Failure to observe the weight
Risk of injury and damage
Be aware of the weight of the device during transport.
Only load the device with the assistance of another person or by using the drive.
- Press the cleaning head lever down and latch it in place.
- Raise the suction bar.
- Turn the key-operated switch to “1”.
- Select the travel direction at the travel direction switch.
- Pull the safety switch towards the push handle.
- When transporting in vehicles, secure the device against slip-ping and tipping over according to the applicable guidelines. Illustration Q

- First fit the strap under the waste water tank.
Storage
CAUTION
Risk of injury and damage!
The device may tip over on sloping surfaces.
Be aware of the weight of the device during storage.
ATTENTION
Frost
Destruction of the device through freezing water Drain all water from the device.
Store the device in a frost-free location.
- This device may only be stored indoors.
- Fully charge the batteries before storing them for a long period.
- Fully charge the batteries at least every month during storage.
Care and maintenance
DANGER
Risk of injury!
The device may start moving unexpectedly and cause injury. Turn the key-operated switch to “0” and remove the key before performing any work on the device.
Pull out the charger mains plug.
- Drain and dispose of the waste water and fresh water.
Safety inspection/maintenance contract
You can agree on regular safety inspections or close a maintenance contract with your dealer. Please seek advice on this.
Maintenance intervals
Each time after use
ATTENTION
Risk of damage!
Risk of damage to the device due to improper cleaning.
Do not spray the device with water and do not use aggressive detergents.
A detailed description of the individual maintenance work is pro-vided in Chapter Maintenance work.
- Drain the waste water.
- Rinse the waste water tank with clear water.
- Clean the exterior of the device using a damp cloth, wetted with a mild washing lye.
- Check the fluff filter and clean if required.
- Clean the coarse dirt filter.
- Clean the coarse dirt filter.
- Only BR variants: Remove and empty the coarse dirt receptacle.
- Only BR variants: Clean the water distribution channel.
- Clean the suction lips, check for wear and adjust the height or replace if necessary.
- Check the disc brushes for wear and replace if necessary.
- Charge the battery.
- If the charging state of the battery is below 50%, charge the battery fully and without interruption.
- f the charging state of the battery is above 50%, only re-charge the battery if the entire operating duration will be required when next used.
Weekly
- When used regularly, charge the battery fully and without interruption at least once a week.
Monthly
A detailed description of the individual maintenance work is pro-vided in Chapter Maintenance work.
- Drain the fresh water tank and flush out deposits.
- Clean the fresh water filter.
- Clean the float and fluff filter.
- Check battery poles for oxidation, brush off if necessary. Make sure the connection cables are firmly in place.
- Clean the seals between the waste water tank and the cover, check for leaks and replace if necessary.
- Check the acid density of the cells if the batteries are not main-tenance-free.
If the device is not used for a longer period of time, shut down the device when the batteries are fully charged. Fully charge the battery at least once a month.
Annually
- Have the prescribed inspection performed by Customer Ser-vice.
Maintenance work
Turn over or replace the worn suction lips
The suction lips must be turned over or replace when they have worn down to the wear mark.
Illustration R

- Wear mark
- Suction lip
- Remove the suction bar.
- Unscrew the star handles.
Illustration S
- Pull off the plastic parts.
- Pull off the suction lips.
- Push in the turned over or new suction lips.
- Push on the plastic parts.
- Screw in and tighten the star handles.
Cleaning the fresh water filter
- Drain the fresh water (see Chapter Draining fresh water).
- Unscrew the fresh water tank lock.
Illustration U
- Fresh water tank lock
- Fresh water filter
- Pull out the fresh water filter and rinse with clean water.
- Insert the fresh water filter.
- Fit the fresh water tank lock.
Note: Take care to ensure that the hose connection in the fresh water tank cap is positioned at the lowest point in the tank after screwing the cap in place.
Cleaning the coarse dirt filter
- Open the waste water tank cover.
Illustration T
- Coarse dirt filter
- Pull the coarse dirt filter upwards and off.
- Rinse off the coarse dirt filter under running water.
- Reinsert the coarse dirt filter into the waste water tank.
Clean the float and fluff filter
- Open the waste water tank cover.
Illustration V
- Latching hooks
- Float
- Fluff filter
- Float housing
- Release the latching hooks.
- Pull the float housing downwards and off.
- Remove the float from the float housing and clean it.
- Remove the fluff filter and clean it.
- Assemble all parts in the reverse order.
Replacing the disc brushes
- Raise the cleaning head.
- Press the brush replacement pedal down, beyond the zone of resistance.
Illustration W
- Brush replacement pedal
- Pull the 1st disc brush sideways and out from underneath the cleaning head.
- Hold the new disc brush under the cleaning head, then press upwards and latch it into position.
- Repeat the procedure for the 2nd disc brush.
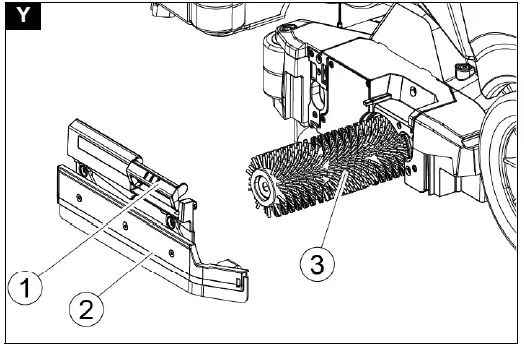
Replacing the roller brushes
- Raise the cleaning head.
- Pull out the brush replacement handle.
Illustration Y
- Brush replacement handle
- Bearing cover with squeegee blade
- Roller brush
- Remove the bearing cover including the squeegee blade.
- Pull out the roller brush.
- Fit the new roller brush and centre it on the driver.
- Install the bearing cover with the squeegee blade.
Note Make sure the roller brush sits on the mounting mandrel and not underneath. - Pivot the brush replacement handle upwards and latch it into place.
- Repeat the entire procedure at the other side.
Cleaning the water distribution strip
Illustration X

- Water distribution strip
- Unlocking button
- Press lock in the direction of the arrow and hold it there.
- Pivot water distribution strip forward.
- Pull out water distribution strip lengthways.
- Clean the water distribution strip.
- Fit water distribution strip back into the cleaning head and snap the lock into place.
Troubleshooting guide
DANGER
Risk of injury!
The device may start moving unexpectedly and cause injury. Turn the key-operated switch to “0” and remove the key before performing any work on the device.
Pull out the charger mains plug.
- Drain and dispose of the waste water and fresh water.
- Contact Customer Service in the case of malfunctions that cannot be corrected using this table.
| Malfunction | Rectification |
| The device cannot be started |
|
| The water volume is insufficient |
|
| The suction performance is too low |
|
| The cleaning results are un- satisfactory |
|
| The suction turbine runs at an increased speed |
|
| The brushes do not rotate | Check if the brushes are blocked by a foreign body and remove the foreign body if necessary. |
| The device vibrates during cleaning | Use a softer brush. |
Accessories BD variant
| Description | BD 70/75 part no. | BD 80/100 part no. | Description |
| Disc brush, white (soft) | 4.905-011.0 | 4905-030.0 | For cleaning lightly soiled or sensitive floors |
| Disc brush, natural colour (soft) | 4905-012.0 | 4905-031.0 | Made of natural fibers for cleaning and polishing |
| Disc brush, red (medium, standard) | 4905-010.0 | 4.905-000.0 | For use in all common cleaning tasks |
| Disc brush, black (hard) | 4905-013.0 | 4905-032.0 | For heavy soiling and basic cleaning, only for non-sensitive surfaces |
| Pad drive board | 4762-590.0 | 4762-447.0 | For cleaning with pads, with quick-change coupling and center-lock |
| Pad, white | – | 6.371-331.0 | For polishing floors |
| Pad, red (medium soft) | 6.369-003.0 | 6371-147.0 | For cleaning all floors |
| Pad, green (medium hard) | 6.369-002.0 | 6371-148.0 | For cleaning heavily soiled floors and for basic cleaning |
| Pad, black (hard) | 6.369-001.0 | 6371-169.0 | For stubborn soiling and for basic cleaning |
| Pad, brown (SPP) | 2.639-290.0 | 2639-288.0 | For protective film application on hard and elastic surfaces |
Accessories BR variant
| Description | BR 75/75 part no. | BR 85/100 part no. | Description |
| Roller brush, white | 6.907-771.0 | 6907-772.0 | For polishing and maintenance cleaning of sensitive floors. |
| Roller brush, red | 4.035-605.0 | 4.035-606-0 | For maintenance cleaning of heavily soiled floors. |
| Roller brush, orange | 6.907-730.0 | 6907-734.0 | For scrubbing structural floors (safety tiles, etc.). |
| Roller brush, green | 6.907-732.0 | 6907-735.0 | For basic cleaning of heavily soiled floors and for coating removal (e.g. waxes, acrylates). |
| Roller brush, black | 6.907-732.0 | 6907-736.0 | |
| Pad roller shaft | 4762-627.0 | 4762-628.0 | For holding roller pads. |
| Microfiber roller | 4114-007.0 | 4114-008.0 | For maintenance cleaning of smooth floors. |
| Accessories BD and BR variants | |||
Accessories BD and BR variants
| Description | BD 70/75 W Classic Bp NA Part no. | BD 70/75 + BR 75/75 part no. | BD 80/100 + BR 85/100 part no. | Description |
| Suction bar, 950 mm, curved | 4.777-108.0 | – | – | For narrow passage widths |
| Suction bar, 1030 mm, curved | – | 4.777-108.0 | – | Standard |
| Suction bar, 1160 mm, curved | – | – | 4.777-102.0 | Standard |
| Suction lip set, natural rubber | 4.037-174.0 | 4.037-144.0 | 4.037-138.0 | Standard |
| PU suction lip set | 4.037.173.0 | 4.037-145.0 | 4.037-140.0 | Oil-proof |
| Suction lip set, Linatex | 4.037-175.0 | 4.181-011.0 | 4.181-006.0 | Tear-proof |
| Technical data | ||||
Technical data
| BD 70/75 W Clas- BR 75/75 W Clas- BD 80/100 W | BR 85/100 W | ||||||
| sic Bp | sic Bp | Classic Bp | Classic Bp | ||||
| Device performance data | |||||||
| Nominal voltage | V | 24 | 24 | 24 | 24 | ||
| Battery capacity | Ah (5 h) | 115 / 170 / 180 | 170 / 180 | 170 / 180 / 240 / | 170 / 180 / 240 / | ||
| 285 | 285 | ||||||
| Mean power input | W | 1270 | 800 | 1320 | 1150 | ||
| Driving motor power | W | 250 | 250 | 300 | 300 | ||
| Suction turbine power | W | 500 | 500 | 500 | 500 | ||
| Brush drive power | W | 2 x 500 | 2 x 600 | 2 x 500 | 2 x 750 | ||
| Theoretical surface performance | m2/h | 3500 | 3.750 | 4000 | 4.250 | ||
| Fresh water tank capacity | 75 | 75 | 100 | 100 | |||
| Waste water tank capacity | 75 | 75 | 100 | 100 | |||
| Water temperature max. | °C | 50 | 50 | 50 | 50 | ||
| Water pressure max. | bar | 0,06 | 0,06 | 0,06 | 0,06 | ||
| Aisle turning width | mm | 1550 | 1550 | 1650 | 1650 | ||
| Max. working area slope | % | 2 | 2 | 2 | 2 | ||
| Vacuuming | |||||||
| Suction performance, air quantity | l/s | 24 | 24 | 24 | 24 | ||
| Suction performance, vacuum | kPa (mbar) | 16 (160) | 16 (160) | 16 (160) | 16 (160) | ||
| Cleaning brushes | |||||||
| Working width | mm | 700 | 750 | 800 | 850 | ||
| Brush diameter | mm | 356 | 105 | 410 | 105 | ||
| Brush speed | 1/min | 140 | 1200 | 140 | 1200 | ||
| Brush contact pressure | N | 300 / 500 | 400 | 400 / 680 | 400 | ||
| Brush length | mm | 700 | 800 | ||||
| Dimensions and weights | |||||||
| Approved total weight | kg | 325 | 330 | 435 | 440 | ||
| Net weight (transport weight) | kg | 251 | 225 | 325 | 340 | ||
| Battery compartment dimensions | mm | 575 x 380 | 575 x 380 | 622 x 384 | 622 x 384 | ||
| Determined values in acc. with EN 60335-2-72 | |||||||
| Overall vibration value | m/s2 | <2,5 | <2,5 | <2.5 | <2.5 | ||
| Uncertainty K | dB(A) | 0,2 | 0,2 | 0,2 | 0,2 | ||
| Sound pressure level LpA | dB(A) | 65 | 65 | 65 | 65 | ||
| Uncertainty KpA | dB(A) | 2 | 2 | 2 | 2 | ||
| Sound power level LWA + K uncertaintyWA | dB(A) | 81 | 81 | 81 | 81 | ||
| Subject to technical modifications. | |||||||
Declaration of Conformity
EU Declaration of Conformity
We hereby declare that the machine described below complies with the relevant basic safety and health requirements in the EU Directives, both in its basic design and construction as well as in the version placed in circulation by us. This declaration is invali-dated by any changes made to the machine that are not ap-proved by us.
- Product: Floor cleaner
- Type: 1.127-xxx, 1.515-xxx
Currently applicable EU Directives
2006/42/EC (+2009/127/EC)
2014/30/EU
2014/53/EU (TCU)
Harmonised standards used
EN 60335-1
EN 60335-2-72
EN 55012: 2007 + A1: 2009
EN 61000-6-2: 2005
EN 62233: 2008
TCU
EN 301 511 V12.5.1
EN 300 440 V2.1.1
EN 300 328 V2.2.2
EN 300 330 V2.1.1
National standards used
The signatories act on behalf of and with the authority of the com-pany management.
Documentation supervisor: S. Reiser
Alfred Kärcher SE & Co. KG Alfred-Kärcher-Str. 28 – 40 71364 Winnenden (Germany)
- Ph.: +49 7195 14-0
- Fax: +49 7195 14-2212 Winnenden, 2021/02/01
Declaration of Conformity (UK)
We hereby declare that the product described below complies with the relevant provisions of the following UK Regulations, both in its basic design and construction as well as in the version put into circulation by us. This declaration shall cease to be valid if the product is modified without our prior approval.
- Product: Floor cleaner
- Type: 1.127-xxx, 1.515-xxx
Currently applicable UK Regulations
S.I. 2008/1597 (as amended)
S.I. 2016/1091 (as amended)
S.I. 2017/1206 (as amended) (TCU)
Designated standards used
EN 60335-1
EN 60335-2-72
EN 55012: 2007 + A1: 2009
EN 61000-6-2: 2005
EN 62233: 2008
TCU
EN 301 511 V12.5.1
EN 300 440 V2.1.1
EN 300 328 V2.2.2
EN 300 330 V2.1.1
National standards used
The signatories act on behalf of and with the authority of the com-pany management.
Documentation supervisor: S. Reiser
Alfred Kärcher SE & Co. KG Alfred-Kärcher-Str. 28 – 40 71364 Winnenden (Germany)
- Ph.: +49 7195 14-0
- Fax: +49 7195 14-2212 Winnenden, 2021/02/01
THANK YOU!
Register your product and benefit from many advantages.
www.kaercher.com/welcome
Rate your product and tell us your opinion.
www.kaercher.com/dealersearch
Alfred Kärcher SE & Co. KG
Alfred-Kärcher-Str. 28-40
71364 Winnenden (Germany)
Tel.: +49 7195 14-0
Fax: +49 7195 14-2212

References
Cher - Official Site
her.com - Lady Resources and Information.
Cleaning equipment and pressure washers | Kärcher International
Cleaning equipment and pressure washers | Kärcher International
Dealer Search | Kärcher International
Home and Garden Warranty Registration USA | Kärcher
Lieferkette und Produkte | Kärcher











Fresh water tank drain opening
Waste water tank drain opening
Increased cleaning head contact pressure
Battery access
Fresh water tank filling level (50%)
Insert the charger plug here
Lashing point
* Mop holder
ATTENTION
Normal cleaning head contact pressure
Raise the cleaning head
Pedal for raising/lowering the cleaning head
Brush replacement pedal
Illustration G
Brake lever
170 Ah, 2.815-092.0180 Ah, 2.815-101.0
BD 70/75 and BR 75/75 115 Ah, 2.815-091.0


























