
User Manual
Product Name: Bluetooth module
Model Name: DX-BT04-E
Manufacture: SHEN ZHEN OX-SMART TECHNOLOGY CO., LTD
Overview

DX-BT04-E Bluetooth module is specially built for intelligent wireless data transmission by ShenzhenDX-SMARTTechnology Co., Ltd. SPP + BLE dual-mode Bluetooth. This module supports the UART interface and the SPP Bluetooth serial protocol. It has the advantages of low cost, small size, low power consumption, and high sensitivity of receiving and sending. It only needs to be equipped with a few peripheral components to achieve its powerful functions.
Module default parameters
| Bluetooth Protocol | Bluetooth Specification V3.0 SPP +V4.2 BLE |
| Working Frequency | 2. 4GHz ISM band |
| Communication Interface | UART |
| PowerSupply | MIN: 1 . 8V – MAX : 3. 6V (Suggest 3.3V) |
| antenna | PCB onboard antenna |
| Communication distance | 30-40M (Open and unobstructed environment) |
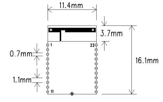
| Physical Dimension | 16. 1mm x 11. 4mm x 2 mm |
| Physical Dimension | ROHS REACH FCC |
| Bluetooth Name | BT04-E (custom sizable) |
| Pairing code | 1234 (SPP agreement is valid) |
| Serial Port Parameters | 9600, 8data bits, 1 stop b it, No check, Nof low control |
| Service UUID | FFEO |
| Notify UUID | FFE1 |
| Write UUID | FFE2 |
| Storage temperature | M I N:-40°C – MAX: +125°C |
| Work temperature | M I N : -20°C – MAX: +85°C |
| Customized requirements | If you have other special function requirements, you can contact us to customize the module. |
Application area
The module is mainly used in the field of short-range wireless data transmission. It can be easily connected to the Bluetooth devices of mobile phones and PCs, avoiding the cumbersome cable connection, and can directly replace the serial cable.
- Bluetooth wireless data transmission
- Industrial remote control, telemetry POS system
- Traffic, alarm
- Automated data acquisition system
- Wireless data transmission; banking system
- Wireless data collection
- Building automation, security, computer room equipment wireless monitoring, access control system;
- Smart home, industrial control;
- medical instruments
- Electronic scale Bluetooth printer, meow machine Bluetooth remote control toys
- Automotive testing equipment
- Car diagnostic system OBDII
Power consumption parameters
| DC-DC | Average Current | Unit |
| Discoverable | 4 | mA |
| Connected(BLE) | 4 | mA |
| Connected(SPP) | 9 | mA |
RF characteristics
| Rating | Value | Unit |
| Basic Rate Transmit power | 0 | dBm |
| Basic Rate Sensitivity | – 90 | dBm |
| BLE Transmit power | 0 | dBm |
| BLE Sensitivity |-93 | dBm | |
Transparent transmission parameters
BTO4-E dual-mode SPP data throughput:
| Android ->BT04-E -> UART | UART ->BT04-E -> Android | BAUD |
| 12000 bytes/s | 4500 bytes/s | 115200 |
BTO4-E dual-mode BLE data throughput
| iPhone ->BT04-E -> UART | UART ->BT04-E -> iPhone | ||
| Baud rate | 115200 | Baud rate | 115200 |
| Connection interval(ms) | 115200 | Connection interval(ms) | 15 |
| APP packet size(bytes) | 15 | Serial packet size (bytes) | 80 |
| Send interval(ms) | 80 | Send interval(ms) | 70 |
| Throughput(bytes/s) | 50 | Throughput(bytes/s) | 2500 |
| Characteristic Write | Write without Response | Characteristic Write | Notify |
Module pin description and minimum circuit diagram

Pin function description
| 1 | GND | Land | Land |
| 2 | P31 | output | Module disconnect indication port (see other Set up) |
| 3 | P13 | output | Connection status indicator LED port (see other Set up) |
| 4 | KEY | Bidirectional | Disconnectable (200ms low pulse disconnect) |
| 5 | P35 | Bidirectional | Programmable input and output port |
| 6 | P10 | Bidirectional | Programmable input and output port |
| 7 | P11 | Bidirectional | Programmable input and output port |
| 8 | P12 | Bidirectional | Programmable input and output port |
| 9 | P34 | Bidirectional | Programmable input and output port |
| 10 | P33 | Bidirectional | Programmable input and output port |
| 11 | P14 | Bidirectional | Programmable input and output port |
| 12 | GND | Land | Land |
| 13 | 3.3V | power input | +3.3V power supply |
| 14 | RESET | CMOS input | Reset/Restart Key (Low level reset at least 200ms) |
| 15 | P07 | Bidirectional | Programmable input and output port |
| 16 | P06 | Bidirectional | Programmable input and output port |
| 17 | P05 | Bidirectional | Programmable input and output port |
| 18 | PO4 | Bidirectional | Programmable input and output port |
| 19 | P03 | Bidirectional | Programmable input and output port |
| 20 | P02 | Bidirectional | Programmable input and output port |
| 21 | UART-RX | CMOS input | Serial port data input |
| 22 | UART-TX | CMOS output | Serial port data output |
Other configuration
Status indicator LED: P13
It is used to indicate the status of the Bluetooth module. The flashing mode of the below::
| mode | LED display | Module status |
| Standby | Flashes slowly and evenly(500ms— on,500ms—off) | Waiting for pairing |
| Long bright | establish connection | |
| Bluetooth module disconnect indication: P31 | ||
Bluetooth module disconnect indication: P31
Used to indicate whether the Bluetooth module is connected, the connection status is high, and the other status is low.
Dimensions

LAYOUT considerations
- The serial port level of the DX—BT04—E Bluetooth module needs to be 3.3V. If it is connected to a 5V level system, a level conversion chip needs to be added.
- The Bluetooth signal is greatly affected by the surroundings. Obstacles such as trees, metals, walls, etc. will absorb or shield the Bluetooth signal to a certain extent, so it is recommended not to install it in a metal enclosure.
- Since metal will weaken the antenna function, it is recommended not to lay the ground and wiring under the module antenna when giving the module Lay board, it is best to be hollowed out.

AT COMMAND
Users can communicate with the DX-BT04-E Bluetooth module through the serial port. The serial port uses Tx and Rx signal lines Baud rate support 2400, 4800, 9600, 19200, 38400, 57600, 115200bps Serial port default baud rate 9600bps
Detailed instruction set description (AT mode when the module is not connected, and transparent transmission mode when connected)
DX-BT04-E Bluetooth serial port module command is a Command command set. (Note: When the module is powered on, if it is not paired, it is in AT mode. AT commands can only take effect when the module is not connected. Once the Bluetooth module is connected to the device, the Bluetooth module enters data transparent transmission mode.)
AT command format example (Figure 1 is AT test command, Figure 2 is to change the Bluetooth name to 1234):
Test Command
| Down command | response | parameter |
| AT | OK | no |
Software restart
| Down command | response | parameter |
| AT+RESET | OK | No |
Get The Software Version
| Down command | response | parameter |
| AT+VERSION | +VERSION=<Param> OK | Param: Software version number |
Restore default settings
| Down command | response | parameter |
| AT+DEFAULT | OK | No |
Query Module Bluetooth MAC
| Down command | response | parameter |
| AT+LADDR | + LADDR =<Param> | Param:address code |
Example:
Send: AT+LADDR\r\n
Return: +LADDR=11:22:33:44:55:66
11:22:33:44:55:66is the actual address code obtained from the query.
Set/Query Device Name
| Down command | response | parameter |
| AT+NAME<Param> | OK | Param: Bluetooth device name default name: “BT04—E” |
| AT+NAME | 1. +NAME=<Param> OK success 2. FAIL failure |
Example: Modify the name of the Bluetooth device1234
Send: AT+NAME1234\r\n
Return: +NAME=1234
At this time, the Bluetooth name is changed to1234 Parameters can be saved after power-off.
Set/Query-Pairing password
| Down command | response | parameter |
| AT+PIN<Param> | OK | Param: Default name of the pairing code: “1234” |
| AT+ PIN | + PIN =<Param> OK |
Example: Modify the pairing code to 8888 Send: AT+PIN8888\r\n Return: +PIN=8888
At this time, the Bluetooth pairing password is changed to and the module’s default pairing password is 1234.
Set/Query – Serial Port Baud Rate
| Down command | response | parameter |
| AT+BAUD<Param> | OK | <Param>: Baudrate 2—2400 3—4800 4-9600 5—19200 6—38400 7–57600 8—115200 default: 4—9600 |
| A AT+BAUD | +BAUD=<Param> OK |
Example: Modify the baud rate to 38400
Send: AT+BAUD=6
Return: +BAUD=6
At this time the baud rate is 38400
Note: After the baud rate is changed, if it is not the default 9600, the parameter setting or data communication is required to use the set baud rate
Settings\Query-SERVICE UUID default:FFEO
| Down command | response | parameter |
| (Inquire) AT+UUID | +UUID=<Param> | Param: UUIDif |
| (Set up) AT+UUID<Param> | + UUID =<Param> OK |
Example: modify/InquireSERVICE UUID
Send: AT+UUID\r\n
Return:+UUID=FFE0
Send: AT+UUIDFFEl\r\n
Return: +UUID4TEl\r\n OK
Note: After the UUID is set, the setting will take effect after a reset operation.
Inquire/Set up— NOTIFY UUID\ READ MID default:FFE1
| Down command | response | parameter |
| (Inquire) AT+CHAR | +CHAR=<Param> | Param: UUID |
| (Set up) AT+CHAR<Param> | + CHAR =<Param> OK |
Example: modify/Inquire NOTIFY UUID\ READ UUID
Send: AT+CHAR\r\n
Return: +CHAR=FFE0
Send: AT+CHARFFEl\r\n
Return: +CHAR=FFEl\r\n OK
Note: After the UUID is set, the setting will take effect after a reset operation.
Inquire/Set up— WRITE UUID default: FFE2
| Down command | response | parameter |
| (Inquire) AT+WRITE | +WRITE=CParam> | Param: UWIDE, |
| (Set up) AT+WRITE<Param> | + WRITE =<Param> OK |
Example: Modify / Query write to WRITE UUID
Send: AT+WRITE\r\n
Return:+WRITE=FFE2
Send: AT+WRITEFFEl\r\n
Return: +WRITE=FFEl\r\n OK Note: After the UUID is set, the setting will take effect after a reset operation.
Inquire/Set up—Broadcast time interval defaults 0
| Down command | response | parameter |
| (Inquire) AT+ADVI\r\n (Set up)AT+ADVI<Param>\r\n | +ADVI=<Param>
| Param: Broadcast interval 0–100ms 1 –152.5ms 2 –211.25ms 3 –318.75ms 4 –417.5ms 5 –546.25ms 6 –760ms 7 –852.5ms 8–1022.5ms 9 –1285ms A-2000ms B–3000ms C–4000ms D—S000ms E–6000ms F-7000ms default setting: 0 |
Example: modify / query broadcast interval
Send: AT+ADVI\r\n
Return:+AYDI=0
Send: AT+AVID1\r\n
Return:+AVDI=1 OK (Corresponds to 152.5ms)
Note: After the broadcast interval is set, it needs to be reset to take effect.
Contact us
ShenZhenDX-SMARTTechnology Co., Ltd.
Address: 511, Building C, Yuxing Technology Park, Yuxing Chuanggu, Bao’anDistrict, Shenzhen, China
Tel: 0755-2997 8125
Fax: 0755-2997 8369
Website: http://www.szdx-smart.com/
FCC Statement
FCC standards: FCC CFR Title 47 Part 15 Subpart C Section 15.247
Integral antenna with antenna gain OdBi
This device complies with part 15 of the FCC Rules. Operation is subject to the following two conditions: (1) This device may not cause harmful interference, and (2) this device must accept any interference received, including interference that may cause undesired operation. Any Changes or modifications not expressly approved by the party responsible for compliance could void the user’s authority to operate the equipment.
Note: This equipment has been tested and found to comply with the limits for a Class B digital device, pursuant to part 15 of the FCC Rules. These limits are designed to provide reasonable protection against harmful interference in a residential installation. This equipment generates, uses and can radiate radio frequency energy and, if not installed and used in accordance with the instructions, may cause harmful interference to radio communications. However, there is no guarantee that interference will not occur in a particular installation. If this equipment does cause harmful interference to radio or television reception, which can be determined by turning the equipment off and on, the user is encouraged to try to correct the interference by one or more of the following measures:
—Reorient or relocate the receiving antenna.
—Increase the separation between the equipment and receiver.
—Connect the equipment into an outlet on a circuit different from that to which the receiver is connected.
—Consult the dealer or an experienced radio/TV technician for help.
FCC Radiation Exposure Statement
This modular complies with FCC RF radiation exposure limits set forth for an uncontrolled environment.
If the FCC identification number is not visible when the module is installed inside another device, then the outside of the device into which the module is installed must also display a label referring to the enclosed module. This exterior label can use wording such as the following: “Contains Transmitter Module FCC ID: 2AKS8DX-BT04-E Or Contains FCC ID:2AKS8DX-BT04-E” When the module is installed inside another device, the user manual of the host must contain below warning statements; 1. This device complies with Part 15 of the FCC Rules. Operation is subject to the following two conditions: (1) This device may not cause harmful interference. (2) This device must accept any interference received, including interference that may cause undesired operation. Note: This equipment has been tested and found to comply with the limits for a Class B digital device, pursuant to part 15 of the FCC Rules. These limits are designed to provide reasonable protection against harmful interference in a residential installation. This equipment generates, uses and can radiate radio frequency energy and, if not installed and used in accordance with the instructions, may cause harmful interference to radio communications. However, there is no guarantee that interference will not occur in a particular installation. If this equipment does cause harmful interference to radio or television reception, which can be determined by turning the equipment off and on, the user is encouraged to try to correct the interference by one or more of the following measures:
—Reorient or relocate the receiving antenna.
—Increase the separation between the equipment and receiver.
—Connect the equipment into an outlet on a circuit different from that to which the receiver is connected.
—Consult the dealer or an experienced radio/TV technician for help.
2. Changes or modifications not expressly approved by the party responsible for compliance could void the user’s authority to operate the equipment. The devices must be installed and used in strict accordance with the manufacturer’s instructions as described in the user documentation that comes with the product. Any company of the host device which installs this modular with single modular approval should perform the test of radiated & conducted emission and spurious emission,etc. according to FCC part 15C: 15.247 and 15.209 & 15.207,15B Class B requirement, Only if the test result complies with FCC part 15C: 15.247 and 15.209 & 15.207,15B Class B requirement, then the host can be sold legally.



















