

SKU: 657641
AGES 3+ YEARS
ADULT SUPERVISION REQUIRED
ADULT BATTERY INSTALLATION REQUIRED
CONTENTS
A. Learning Activity Suitcase
B. 3 Reversible Wipeable Maps
C. Passport
D. Boarding Pass
E. Sticker Sheet
F. Dry Erase Marker (With Eraser)

Illustrations are for reference only. Styles may vary from actual contents.
Please remove all packaging including tags, ties, and tacking stitches before giving this product to a child.
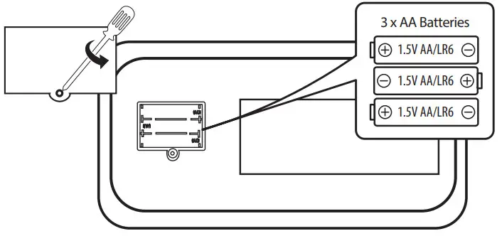
BATTERY INSTALLATION
The batteries included in the suitcase are for in-store demonstration. Before beginning, an adult must install fresh alkaline batteries. Here’s how:
- Using a Phillips screwdriver (not included), remove the screw and battery compartment cover located inside the suitcase. Lift tray to locate battery compartment.
- Install three (3) fresh 1.5V AA (LR6) alkaline batteries (not included) in the learning activity suitcase, making sure the (+) and (-) ends face the proper direction as indicated inside the battery compartment.
- Replace the compartment cover and tighten the screw.

LANGUAGE SETTING
Must be done by an adult:
– Using a pointed object, push the language button for two seconds to change the language.
– Recorded message will say English or French to confrm your selection.

QUICK START
Turn the Learning Activity Suitcase on by moving the switch located inside to volume (
). The Learning Activity Suitcase will welcome you to begin play. NOTE: Learning Activity Suitcase will say goodbye and turn off when no interaction is occurring.

LET’S PLAY
- Place the Learning Activity Suitcase on a flat surface.
- Open the top of the Learning Activity Suitcase to a 90-degree angle.
- . Begin to travel and explore with the help of your travel assistant!

FIG. 1
Press the airplane and magnify the glass button to hear travel-themed play phrases from your travel assistant.
FIG. 2
See letters and numbers light up as you play.
FIG. 3
– Press the button with letters to hear all the letters in the alphabet. Hold down to hear the alphabet song.
– Press the button with musical notes to hear fun and playful songs.
– Press the button with numbers to hear numbers from one to ten.
MAPS AND ACTIVITY PAGES
Your Learning Activity Suitcase has an alphabet and number card ready for you to learn with. There are additional maps with educational activities included for your adventures. Note: All three maps are reversible canvasing all seven continents.
To switch maps and activity pages:
- Select the card you wish to explore.
- Slide the card into the reader tab.
- Use the included dry-erase marker to complete the activities on each card.

PASSPORT

The Learning Activity Suitcase comes with a passport to help keep track of your travels. Use your stickers to mark some of the places you visit in your passport.
Note: Use a pencil when writing in your passport so you can re-use it as you travel the world.
BOARDING PASS
Don’t forget your boarding pass! Your included boarding pass is reusable. Be sure to use the included dry-erase marker to write your name on your pass before your trip.

ON THE GO
Take your Learning Activity Suitcase with you! Use the storage compartment to pack up your maps, passport and boarding pass to continue play time. The top handle of your Learning Activity Suitcase extends allowing you to roll your suitcase where ever you go.

CARE & MAINTENANCE
- Keep the toy and all contents clean. Wipe with damp cloth after play.
- Keep the toy out of direct sunlight and away from any direct heat source.
- Remove the batteries from the toy when not in use for an extended period of time to avoid battery corrosion.
- Do not expose the toy to water or moisture.
- Store maps and activity pages in the storage area when not in use to avoid any folding or bending.
IMPORTANT INFORMATION
- Do not play with Learning Activity Suitcase in the street or where there is vehicular traffic or in heavily traveled areas with pedestrians.
- Do not stand on, sit on or throw Learning Activity Suitcase as doing so can result in injury to the person and irreversible damage to the unit.
- Do not run Learning Activity Suitcase into furniture, walls, pets, people, etc., as doing so may cause injury to the person and pets and irreparable damage to the unit.
- Do not allow long hair or lose apparel such as shoestrings near the turning wheels of the Learning Activity Suitcase.
- Do not pull Learning Activity Suitcase through water, mud, etc.
- If the Learning Activity Suitcase stops working properly or doesn’t work as it should, turn off and turn it back on. If there is still a problem, replace the batteries.
- Dry erase markers and stickers are only meant to be used with this toy.
- If marks are made on clothes or other surfaces clean efected area immediately to avoid permanent stains.
- Do not place dry erase marker in mouth, ears, nose, or any other body part.
- Place cap back on dry erases marker when not in use. Ink will dry up if left with no cap on.
- Be careful and do not slam Learning Activity Suitcase when closing to avoid catching fingers.
- Learning Activity Suitcase rolls only, does not spin.
LIMITED WARRANTY
The Little Tikes Company makes fun, high-quality toys. We warrant to the original purchaser that this product is free of defects in materials or workmanship for one year * from the date of purchase (dated sales receipt is required for proof of purchase). At the sole election of The Little Tikes Company, the only remedies available under this warranty will be the replacement of the defective part or replacement of the product. This warranty is valid only if the product has been assembled and maintained per the instructions. This warranty does not cover abuse, accident, cosmetic issues such as fading or scratches from normal wear, or any other cause not arising from defects in material and workmanship. *The warranty period is three (3) months for daycare or commercial purchasers. U.S.A and Canada: For warranty service or replacement part information, please visit our website at www.littletikes.com, call 1-800-321-0183 or write to: Consumer Service, The Little Tikes Company, 2180 Barlow Road, Hudson OH 44236, U.S.A. Some replacement parts may be available for purchase after the warranty expires—contact us for details. Outside U.S.A and Canada: Contact the place of purchase for warranty service. This warranty gives you specifgc legal rights and you may also have other rights, which vary from country/state to country/state. Some countries/states do not allow the exclusion or limitation of incidental or consequential damages, so the above limitation or exclusion may not apply to you.
BATTERY SAFETY INFORMATION
- Use only size “AA” (LR6) alkaline batteries (3 required).
- Charging of rechargeable batteries should only be done under adult supervision.
- Remove rechargeable batteries from the product before recharging.
- Do not mix old and new batteries.
- Do not mix alkaline, standard (carbon-zinc), or rechargeable batteries.
- Be sure to insert the batteries correctly and follow the toy and battery manufacturer’s instructions.
- Always remove exhausted or dead batteries from the product.
- Dispose of dead batteries properly: do not burn or bury them.
- Do not attempt to recharge non-rechargeable batteries.
- Avoid short-circuiting battery terminals.
- Remove batteries before placing the unit into storage for a prolonged period of time.
FCC COMPLIANCE
NOTE: This equipment has been tested and found to comply with the limits for a Class B digital device, pursuant to Part 15 of the FCC
Rules. These limits are designed to provide reasonable protection against harmful interference in a residential installation. This equipment generates, uses, and can radiate radio frequency energy and, if not installed and used in accordance with the instructions, may cause harmful interference to radio communications. However, there is no guarantee that interference will not occur in a particular installation. If this equipment does cause harmful interference to radio or television reception, which can be determined by turning the equipment off and on, the user is encouraged to try to correct the interference by one or more of the following measures:
- Reorient or relocate the receiving antenna.
- Increase the separation between the equipment and receiver.
- Connect the equipment into an outlet on a circuit different from that to which the receiver is connected.
- Consult the dealer or an experienced radio/TV technician for help.
This device complies with Part 15 of the FCC Rules. Operation is subject to the following two conditions: (1) This device may not cause
harmful interference, and (2) this device must accept any interference received, including interference that may cause undesired operation.
Caution: Modifications not authorized by the manufacturer may void users’ authority to operate this device.
This device contains license-exempt transmitter(s)/receiver(s) that comply with Innovation, Science, and Economic Development Canada’s license-exempt RSS(s). Operation is subject to the following two conditions: (1) This device may not cause interference. (2) This
device must accept any interference, including interference that may cause undesired operation of the device.
CAN ICES-3 (B)/NMB-3(B).
‘Let’s care for the environment!’
The wheelie bin symbol indicates that the product must not be disposed of with other household waste. Please use designated collection points or recycling facilities when disposing of the item. Do not treat old batteries as household waste. Take them to a designated recycling facility.
Please keep this manual as it contains important information.
© The Little Tikes Company, an MGA Entertainment company.
LITTLE TIKES® is a trademark of Little Tikes in the U.S. and other countries. All logos, names, characters, likenesses, images, slogans, and packaging appearance are the property of Little Tikes.
Printed in China
0321-0-E/INT
Little Tikes Consumer Service
2180 Barlow Road
Hudson, Ohio 44236 U.S.A.
1-800-321-0183
MGA Entertainment UK Ltd.
50 Presley Way, Crownhill, Milton
Keynes, MK8 0ES, Bucks, UK
[email protected]
Tel: +0 800 521 558
MGA Entertainment (Netherlands) B.V.
Baronie 68-70, 2404XG Alphen a/d Rijn
The Netherlands
Tel: +31 (0) 172 758038
Imported by MGA Entertainment
Australia Pty Ltd
Suite 2.02, 32 Delhi Road
Macquarie Park NSW 2113
1300 059 676

www.littletikes.com
www.littletikes.co.uk
www.littletikes.com.au
















