dahua V1.1.0 Smart Interactive Whiteboard
Foreword
General
This manual introduces the functions and operations of the smart interactive whiteboard (hereinafter referred to as “the whiteboard”). Read carefully before using the whiteboard, and keep the manual safe for future reference.
Safety Instructions
The following signal words might appear in the manual.
| Signal Words | Meaning |
![]() | Indicates a high potential hazard which, if not avoided, will result in death or serious injury. |
![]() | Indicates a medium or low potential hazard which, if not avoided, could result in slight or moderate injury. |
![]() | Indicates a potential risk which, if not avoided, could result in property damage, data loss, reductions in performance, or unpredictable results. |
![]() | Provides methods to help you solve a problem or save time. |
![]() | Provides additional information as a supplement to the text. |
Revision History
| Version | Revision Content | Release Time |
| V1.1.0 | Added 55-inch series. | May 2022 |
| V1.0.0 | First release. | March 2022 |
About the Manual
- The manual is for reference Slight differences might be found between the manual and the product.
- We are not liable for losses incurred due to operating the product in ways that are not in compliance with the
- The manual will be updated according to the latest laws and regulations of related jurisdictions. For detailed information, see the paper user’s manual, use our CD-ROM, scan the QR code or visit our official website. The manual is for reference only. Slight differences might be found between the electronic version and the paper
- All designs and software are subject to change without prior written notice. Product updates might result in some differences appearing between the actual product and the Please contact customer service for the latest program and supplementary documentation.
- There might be errors in the print or deviations in the description of the functions, operations and technical data. If there is any doubt or dispute, we reserve the right of final
- Upgrade the reader software or try other mainstream reader software if the manual (in PDF format) cannot be opened.
- All trademarks, registered trademarks and company names in the manual are properties of their respective owners.
- Please visit our website, contact the supplier or customer service if any problems occur while using the device.
- If there is any uncertainty or controversy, we reserve the right of final explanation.
Important Safeguards and Warnings
This section introduces content covering the proper handling of the whiteboard, hazard prevention, and prevention of property damage. Read carefully before using the whiteboard, and comply with the guidelines when using it.
Storage Requirements
- Stably put the whiteboard onto a support platform that is strong enough to prevent the whiteboard from falling.
- Do not place the whiteboard in a place exposed to sunlight or near heat sources.
- Store the whiteboard under allowed humidity and temperature (–20 °C to +60 °C, or–4 °F to +140 °F) conditions.
Installation Requirements
- Do not install the whiteboard in a place exposed to sunlight or near heat sources.
- Keep the whiteboard away from dampness, dust, and soot.
- Install the whiteboard on a stable surface to prevent it from falling.
- Install the whiteboard in a well-ventilated place, and do not block its ventilation.
- The power supply must conform to the requirements of ES1 in IEC 62368-1 standard and be no higher than PS2. Please note that the power supply requirements are subject to the device label.
- The whiteboard is a class I electrical appliance. Make sure that the power supply of the whiteboard is connected to a power socket with protective earthing.
- The appliance coupler is a disconnection device. Keep it at a convenient angle when using it.
Operation Requirements

- High voltage inside the whiteboard. Do not disassemble the whiteboard without a qualified professional present to avoid the risk of being exposed to danger.
- Improper use of the battery might result in a fire or explosion.
- Replace unwanted batteries with new batteries of the same type and model.
- Use the standard power adapter. We will assume no responsibility for any problems caused by the use of a nonstandard power adapter.
- Use the power cords that are recommended for the region and conform to the rated power specifications.
- Make sure all cables are connected correctly before plugging the whiteboard into the power. Do not overload the power socket or pull the power code. Otherwise, it might cause fire or electric shock.
Do not drop or splash liquid onto the whiteboard, and make sure that there is no object filled with liquid on the whiteboard to prevent liquid from flowing into it.- Operate the whiteboard within the rated range of power input and output.
- Do not disassemble the whiteboard without professional instruction.
- Use the whiteboard under allowed humidity and temperature (0 °C to 40 °C, or 32 °F to 104 °F) conditions.
- The whiteboard is a class I electrical appliance. Make sure that the power supply of the whiteboard is connected to a power socket with protective earthing.
- The appliance coupler is a disconnection device. Keep it at a convenient angle when using it.
Maintenance Requirements
Power off the whiteboard before maintenance. Do not use the liquid cleaner or spray cleaner when cleaning the whiteboard.- Use the clean and soft cloth or use the special lens wiping cloth when cleaning the surface of display screen. Do not use the wet cloth to clean the display screen. Otherwise, it may do harm to the screen.
Introduction
The smart interactive whiteboard is an integrated multimedia device, which integrates large-screen
HD display, computer, TV, electronic whiteboard, audio amplifier, application, and central control system.
The whiteboard supports the following functions and features:
- 4K HD LCD display.
- Switch between Android and Windows systems (for Windows, you need to install a computer module).
- One-tap projection of devices such as mobile phones and tablets.
- Electronic white board.
- Various software such as Microsoft Office and audio and video players.
Packing List
Check whether there is any obvious damage on the packing box. Unpack the box and check whether
the components are complete according to the packing list.
Table 2-1 Packing list
| Name | Quantity | Name | Quantity |
| Smart interactive whiteboard | 1 | Power cord | 3 |
| Stylus pen | 2 | Quick Start Guide | 1 |
| Wall mount bracket (installed on whiteboard already) | 1 | Accessory package | 2 |
| Remote control | 1 | — | — |
Installation
Preparation
To ensure correct function and safety, remember to check whether your site is ready for the installation in the first place.
Step 1 Check the grounding.
The IR touch technology adopted by the whiteboard requires that the site should be grounded as follows:
- The voltage between the live and neutral wires is 210–240
- The voltage between the live and ground wires is 210–240 VAC, the same as the voltage between the live and neutral
- The voltage between the neutral and ground wires is 0 or near 0.
If the voltage between the neutral and ground wires is higher than 5 VAC, report the situation to our technical support.
Step 2 Check the power supply.
The power supply circuit for the whiteboard should be independent from lighting and other circuits to avoid unwanted interference.
Step 3 Make sure that the wall can bear a load of 160 kg or more.
Step 4 Make sure that there is enough space for the whiteboard.
The ideal reserved space is 10 mm greater than the length and height of the whiteboard.
Step 5 Prepare the installation tools.
- To install the whiteboard onto a brick or concrete wall, you need an electric hammer, drill bit, iron hammer, open-ended spanner, laser level or spirit level, crosshead screwdriver, and protective gloves.
- To install the whiteboard onto a wooden wall, you need an iron hammer, laser level or spirit level, crosshead screwdriver, self-tapping screws, and protective gloves.
Installation Accessories

| No. | Name | Quantity |
| 1 | Vertical bracket | 2 |
| 2 | Horizontal bracket | 1 |
| 3 | ø6 × 50 wall-mount screw | 8 |
| 4 | Plastic expansion plug for screw | 8 |
| 5 | Gasket | 8 |
The brackets have been installed on the whiteboard when you receive it.
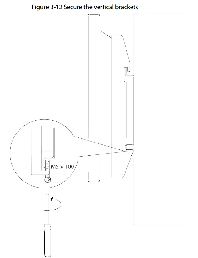
Step 1 Insert 2 M5 × 100 screws 2–10 mm into the vertical brackets.
If thicker gaskets are used, install the gaskets between the whiteboard and vertical brackets.- The M5 × 100 screws are already installed on the whiteboard.

Step 2 Mark screw locations on the wall and then drill holes.
- Identify a suitable installation position, and then mark the screw locations.


- Drill holes at the marked locations.


Step 4 Attach the vertical brackets onto the wall. You can use the holes on the vertical brackets to adjust the height of the whiteboard. Install the hooks on the rear panel of the whiteboard with screws
- For 55/65-inch series, you can use the first to the third hole from up to down, with the maximum adjustment range of 30 mm.
- For 75/86-inch series, you can use the first to the seventh hole from up to down, with the maximum adjustment range of 90 mm.




Step 5 Tighten the screws at the bottom of the vertical brackets to secure the brackets.
Make sure that the appropriate screwdriver is used.

Appearance


| No. | Description |
| 1 | LCD. |
| 2 | Power input port. Inputs 100–240 VAC power. After connecting to power supply, press the rocker switch to turn on the whiteboard. |
| 3 | USB 3.0 port. |
| 4 | Magnetic stylus pen attach area. |
| 5 | Speaker. Plays multimedia sound. |
| 6 | Indicator light. The light is red when the whiteboard is on standby and blue when the whiteboard is in normal use. |
| 7 | Light sensor. The device recognizes the ambient brightness through the light sensor and automatically adjusts the backlight brightness according to the ambient brightness. |
| 8 | IR sensor. Receives signals from the remote control. |
| 9 | RS-232 port. Transmits data between devices. You can connect to central control devices with RS-232 port. |
| 10 | LINE OUT. An audio output port that connects to the earphone or speaker. |
| 11 | Power button.
|
| 12 | Side panel ports. For details, see Table 4-2. |
| 13 | Microphones. Pick up live audio. |
| 14 | Built-in HD camera. |


Table 4-2 Port description
| No. | Name | Description |
| 1 | Micro USB | Used for debugging Android system. |
| 2 | HDMI IN | HD audio and video signal input port. Connects to the computer, set- top box, and other video devices with HDMI output ports. |
| 3 | USB 3.0 | Connects to USB devices such as mobile hard disk, USB flash drive, USB keyboard, and USB mouse. They are accessible both from the built-in Android system and the optional OPS computer module. |
| 4 | Touch | Transmits touch signals. The port is used together with the HDMI port to allow you to control the computer through touch operations on the whiteboard. |
| 5 | RJ-45 port | 1000 Mbps network port. Connects to network cable to access network. |
| 6 | RS-232 port | Transmits data between devices. You can connect to central control devices with RS-232 port. |
Appendix 1 Cybersecurity Recommendations
Cybersecurity is more than just a buzzword: it’s something that pertains to every device that is connected to the internet. IP video surveillance is not immune to cyber risks, but taking basic steps toward protecting and strengthening networks and networked appliances will make them less susceptible to attacks. Below are some tips and recommendations from Dahua on how to create a more secured security system.
Mandatory actions to be taken for basic device network security:
- Use Strong Passwords
Please refer to the following suggestions to set passwords:
● The length should not be less than 8 characters.
● Include at least two types of characters; character types include upper and lower case letters, numbers and symbols.
● Do not contain the account name or the account name in reverse order.
● Do not use continuous characters, such as 123, abc, etc.
● Do not use overlapped characters, such as 111, aaa, etc. - Update Firmware and Client Software in Time
● According to the standard procedure in Tech-industry, we recommend to keep your device (such as NVR, DVR, IP camera, etc.) firmware up-to-date to ensure the system is equipped with the latest security patches and fixes. When the device is connected to the public network, it is recommended to enable the“auto-check for updates” function to obtain timely information of firmware updates released by the manufacturer.
● We suggest that you download and use the latest version of client software.
“Nice to have” recommendations to improve your device network security:
- Physical Protection
We suggest that you perform physical protection to device, especially storage devices. For example, place the device in a special computer room and cabinet, and implement well-done access control permission and key management to prevent unauthorized personnel from carrying out physical contacts such as damaging hardware, unauthorized connection of removable device (such as USB flash disk, serial port), etc. - Change Passwords Regularly
We suggest that you change passwords regularly to reduce the risk of being guessed or cracked. - Set and Update Passwords Reset Information Timely
The device supports password reset function. Please set up related information for password reset in time, including the end user’s mailbox and password protection questions. If the information changes, please modify it in time. When setting password protection questions, it is suggested not to use those that can be easily guessed. - Enable Account Lock
The account lock feature is enabled by default, and we recommend you to keep it on to guarantee the account security. If an attacker attempts to log in with the wrong password several times, the corresponding account and the source IP address will be locked. - Change Default HTTP and Other Service Ports
We suggest you to change default HTTP and other service ports into any set of numbers between 1024–65535, reducing the risk of outsiders being able to guess which ports you are using. - Enable HTTPS
We suggest you to enable HTTPS, so that you visit Web service through a secure communication channel. - MAC Address Binding
We recommend you to bind the IP and MAC address of the gateway to the device, thus reducing the risk of ARP spoofing. - Assign Accounts and Privileges Reasonably
According to business and management requirements, reasonably add users and assign a minimum set of permissions to them. - Disable Unnecessary Services and Choose Secure Modes
If not needed, it is recommended to turn off some services such as SNMP, SMTP, UPnP, etc., to reduce risks.
If necessary, it is highly recommended that you use safe modes, including but not limited to the following services:
● SNMP: Choose SNMP v3, and set up strong encryption passwords and authentication passwords.
● SMTP: Choose TLS to access mailbox server.
● FTP: Choose SFTP, and set up strong passwords.
● AP hotspot: Choose WPA2-PSK encryption mode, and set up strong passwords. - Audio and Video Encrypted Transmission
If your audio and video data contents are very important or sensitive, we recommend that you use encrypted transmission function, to reduce the risk of audio and video data being stolen during transmission.
Reminder: encrypted transmission will cause some loss in transmission efficiency. - Secure Auditing
● Check online users: we suggest that you check online users regularly to see if the device is logged in without authorization.
● Check device log: By viewing the logs, you can know the IP addresses that were used to log in to your devices and their key operations. - Network Log
Due to the limited storage capacity of the device, the stored log is limited. If you need to save the log for a long time, it is recommended that you enable the network log function to ensure that the critical logs are synchronized to the network log server for tracing. - Construct a Safe Network Environment
In order to better ensure the safety of device and reduce potential cyber risks, we recommend:
● Disable the port mapping function of the router to avoid direct access to the intranet devices from external network.
● The network should be partitioned and isolated according to the actual network needs. If there are no communication requirements between two sub networks, it is suggested to use VLAN, network GAP and other technologies to partition the network, so as to achieve the network isolation effect.
● Establish the 802.1x access authentication system to reduce the risk of unauthorized access to private networks.
● Enable IP/MAC address filtering function to limit the range of hosts allowed to access the device.
More information
Please visit Dahua official website security emergency response center for security announcements and the latest security recommendations.
CUSTOMER SUPPORT
ZHEJIANG DAHUA VISION TECHNOLOGY CO.,LTD.
Address: No.1199 Bin’an Road, Binjiang District, Hangzhou, P. R. China I Website: www.dahuasecurity.com I Postcode: 310053
Email: [email protected] I Fax: +86-571-87688815 I Tel: +86-571-87688883






























