STANLEY EZM1000 Hydraulic/Pneumatic Blind Riveting Tools

INTRODUCTION
The information provided may not be reproduced and/or made public in any way and through any means (electronically or mechanically) without prior explicit and written permission from STANLEY Engineered Fastening. The information provided is based on the data known at the moment of the introduction of this product. STANLEY Engineered Fastening pursues a policy of continuous product improvement and therefore the products may be subject to change. The information provided is applicable to the product as delivered by STANLEY Engineered Fastening. Therefore, STANLEY Engineered Fastening cannot be held liable for any damage resulting from deviations from the original specific cations of the product.
The information available has been composed with the utmost care. However, STANLEY Engineered Fastening will not accept any liability with respect to any faults in the information nor for the consequences thereof. STANLEY Engineered
Fastening will not accept any liability for damage resulting from activities carried out by third parties. The working names, trade names, registered trademarks, etc. used by STANLEY Engineered Fastening should not be considered as being free, pursuant to the legislation with respect to the protection of trade marks.
This instruction manual must be read by any person installing or operating this tool with particular attention to the following safety rules.
Always wear impact-resistant eye protection during operation of the tool. The grade of protection required should be assessed for each use.
Use of the tool can expose the operator’s hands to hazards, including crushing, impacts, cuts and abrasions and heat. Wear suitable gloves to protect hands.
Use hearing protection in accordance with employer’s instructions and as required by occupational health and safety regulations.
SAFETY DEFINITIONS
The definitions below describe the level of severity for each signal word. Please read the manual and pay attention to these symbols.
DANGER: Indicates an imminently hazardous situation which, if not avoided, will result in death or serious injury.
WARNING: Indicates a potentially hazardous situation which, if not avoided, could result in death or serious injury.
CAUTION: Indicates a potentially hazardous situation which, if not avoided, may result in minor or moderate injury.
CAUTION: Used without the safety alert symbol indicates a potentially hazardous situation which, if not avoided, may result in property damage.
Improper operation or maintenance of this product could result in serious injury and property damage. Read and understand all warnings and operating instructions before using this equipment. When using power tools, basic safety precautions must always be followed to reduce the risk of personal injury.
SAVE ALL WARNINGS AND INSTRUCTIONS FOR FUTURE REFERENCE
GENERAL SAFETY RULES
- For multiple hazards, read and understand the safety instructions before installing, operating, repairing, maintaining, changing accessories on, or working near the tool. Failure to do so can result in serious bodily injury.
- Only qualified and trained operators must install, adjust or use the tool.
- DO NOT use outside the design intent of placing STANLEY Engineered Fastening Blind Rivets.
- Use only parts, fasteners, and accessories recommended by the manufacturer.
- DO NOT modify the tool. Modifications can reduce the effectiveness of safety measures and increase the risks to the operator. Any modification to the tool undertaken by the customer will be the customer’s entire responsibility and void any applicable warranties.
- Do not discard the safety instructions; give them to the operator.
- Do not use the tool if it has been damaged.
- Prior to use, check for misalignment or binding of moving parts, breakage of parts, and any other condition that affects the tool’s operation. If damaged, have the tool serviced before using. Remove any adjusting key or wrench before use.
- Tools shall be inspected periodically to verify that the ratings and markings required by this part of ISO 11148 are legibly marked on the tool. The employer/user shall contact the manufacturer to obtain replacement marking labels when necessary.
- The tool must be maintained in a safe working condition at all times and examined at regular intervals for damage and function by trained personnel. Any dismantling procedure will be undertaken only by trained personnel. Do not dismantle this tool without prior reference to the maintenance instructions.
PROJECTILE HAZARDS
- Disconnect the air supply from the tool before performing any maintenance, attempting to adjust, fi t or remove a nose assembly or accessories.
- Be aware that failure of the workpiece or accessories, or even of the inserted tool itself can generate high-velocity projectiles.
- Always wear impact-resistant eye protection during operation of the tool. The grade of protection required should be assessed for each use.
- The risks to others should also be assessed at this time.
- Ensure that the workpiece is securely fi xed.
- Check that the means of protection from ejection of fastener and/or mandrel is in place and is operative.
- DO NOT use the tool without mandrel collector installed.
- Warn against the possible forcible ejection of mandrels from the front of the tool.
- DO NOT operate a tool that is directed towards any person(s).
OPERATING HAZARDS
- Use of the tool can expose the operator’s hands to hazards, including crushing, impacts, cuts and abrasions and heat.
Wear suitable gloves to protect hands. - Operators and maintenance personnel shall be physically able to handle the bulk, weight and power of the tool.
- Hold the tool correctly; be ready to counteract normal or sudden movements and have both hands available.
- Keep tool handles dry, clean, and free from oil and grease.
- Maintain a balanced body position and secure footing when operating the tool.
- Release the start-and-stop device in the case of an interruption of the air supply.
- Use only lubricants recommended by the manufacturer.
- Contact with hydraulic fluid should be avoided. To minimize the possibility of rashes, care should be taken to wash
thoroughly if contact occurs. - Material Safety Data Sheets for all hydraulic oils and lubricants is available on request from your tool supplier.
- Avoid unsuitable postures as it is likely for these positions not to allow counteracting of normal or unexpected movement of the tool.
- If the tool is fixed to a suspension device, make sure that the fixation is secure.
- Beware of the risk of crushing or pinching if nose equipment is not fitted.
- DO NOT operate tool with the nose casing removed.
- Adequate clearance is required for the tool operator’s hands before proceeding.
- When carrying the tool from place to place keep hands away from the trigger to avoid inadvertent activation.
- DO NOT abuse the tool by dropping or using it as a hammer.
- Care should be taken to ensure that spent mandrels do not create a hazard.
- The mandrel collector must be emptied when approximately half full.
REPETITIVE MOTIONS HAZARDS
- When using the tool, the operator can experience discomfort in the hands, arms, shoulders, neck or other parts of the body.
- While using the tool, the operator should adopt a comfortable posture whilst maintaining a secure footing and avoiding awkward or off -balance postures. The operator should change posture during extended tasks; this can help avoid discomfort and fatigue.
- If the operator experiences symptoms such as persistent or recurring discomfort, pain, throbbing, aching, tingling, numbness, burning sensations or stiff ness, these warning signs should not be ignored. The operator should tell the employer and consult a qualified health professional.
ACCESSORY HAZARDS
- Disconnect the tool from the air supply before fitting or removing the nose assembly or accessory.
- Use only sizes and types of accessories and consumables that are recommended by the manufacturer of the tool; do not use other types or sizes of accessories or consumables.
WORKPLACE HAZARDS
- Slips, trips and falls are major causes of workplace injury. Be aware of slippery surfaces caused by use of the tool and also of trip hazards caused by the air line or hydraulic hose.
- Proceed with care in unfamiliar surroundings. There can be hidden hazards, such as electricity or other utility lines.
- The tool is not intended for use in potentially explosive atmospheres and is not insulated against contact with electric power.
- Ensure that there are no electrical cables, gas pipes, etc., which can cause a hazard if damaged by use of the tool.
- Dress properly. Do not wear loose clothing or jewellery. Keep your hair, clothing and gloves away from moving parts.
Loose clothes, jewellery or long hair can be caught in moving parts. - Care should be taken to ensure that spent mandrels do not create a hazard.
NOISE HAZARDS
- Exposure to high noise levels can cause permanent, disabling hearing loss and other problems, such as tinnitus (ringing, buzzing, whistling or humming in the ears). Therefore, risk assessment and the implementation of appropriate controls for these hazards are essential.
- Appropriate controls to reduce the risk may include actions such as damping materials to prevent workpieces from “ringing”.
- Use hearing protection in accordance with employer’s instructions and as required by occupational health and safety regulations.
- Operate and maintain the tool as recommended in the instruction manual, to prevent an unnecessary increase in the noise level.
- Ensure that the silencer within the mandrel collector is in place and in good working order when the tool is being operated.
VIBRATION HAZARDS
- Exposure to vibration can cause disabling damage to the nerves and blood supply of the hands and arms.
- Wear warm clothing when working in cold conditions and keep your hands warm and dry.
- If you experience numbness, tingling, pain or whitening of the skin in your fingers or hands, stop using the tool, tell your employer and consult a physician.
- Where possible support the weight of the tool in a stand, tensioner or balancer, because a lighter grip can then be used to support the tool.
ADDITIONAL SAFETY INSTRUCTIONS FOR PNEUMATIC POWER TOOLS
- The operating supply air must not exceed 7 bar (100 PSI).
- Air under pressure can cause severe injury.
- Never leave operating tool unattended. Disconnect air hose when tool is not in use, before changing accessories or when making repairs.
- DO NOT let air exhaust opening on the mandrel collector face in the direction of the operator or other persons. Never direct air at yourself or anyone else.
- Whipping hoses can cause severe injury. Always check for damaged or loose hoses and fittings.
- Prior to use, inspect airlines for damage, all connections must be secure. Do not drop heavy objects on hoses. A sharp impact may cause internal damage and lead to premature hose failure.
- Cold air shall be directed away from hands.
- Whenever universal twist couplings (claw couplings) are used, lock pins shall be installed, and whip check safety cables shall be used to safeguard against possible hose-to-tool or hose-to-hose connection failure.
- DO NOT lift the placing tool by the hose. Always use the placing tool handle.
- Vent holes must not become blocked or covered.
- Keep dirt and foreign matter out of the hydraulic system of the tool as this will cause the tool to malfunction.
STANLEY Engineered Fastening policy is one of continuous product development and improvement and we reserve the right to change the specification of any product without prior notice.
SAFETY
SAFETY INSTRUCTIONS

A Nose piece/front sleeve
B Mandrel collector
C Trigger
D Safety valve
E Air supply closing valve
F Air connection
PERSONS
- Use safety goggles. This also applies to persons in the immediate surroundings.
- Use hearing protection when the sound level exceeds 85 dB(A).
- Use safety gloves, certain blind rivets can become very warm at some places.
- Keep your fingers away from the front when connecting the compressed air.
- Do not look straight into the tool (front and rear).
- Never direct the tool at persons.
WORK ENVIRONMENT
- Keep the work environment clean and neat.
- Use dry, filtered and with anti-corrosive oil lubricated air. If not available, put 0.1 ml (approximately 5 drops) of anti-corrosive lubricating oil in air connection of tool three times each operating day.
- Work in a frost-free environment.
- The connection to the tools is G1 / 4 “.
A connection nipple has not been included. Provide an appropriate solution yourself.
Set a constant air pressure to 5 – 7 bars (maximum 7 bars)
TOOLS
Never use the tools
- when the nose piece/front sleeve (A) is missing;
- when the mandrel collector (B) has not been positioned
- Check the tools for damage before connecting the air pressure.
- Keep the tools in an optimum condition.
- Switch off the closing valve (C) when the tools are not used.
- Make sure that the flexible connection hose (D) is not pressurized when disconnecting.
- Do not modify the tools in anywa
- Only use the device for appropriate purposes.

DATE CODE
This is the place of the Date Code (A) of the tools.
TYPE IDENTIFICATION
This is the place of the type identification (B) of the tools.
MAIN COMPONENTS
COMPONENTS

A Nose pieces**
B Front sleeve
C Hydraulic body
D Mandrel collector
E Trigger
F Pneumatic body
G Safety valve
H Air connection
J Manual
K CE and guarantee form
L CD with manual in various languages
NOSE PIECES
The delivered box contains various nose pieces.
** EZM 1000: 3.0 – 5.0 mm
** EZM 2000: 4.0 – 6.4 mm
OPERATION
CONTROLS

A Bracket
B Mandrel collector
C Air outlet
D Trigger
E 360° Resolvable air supply unit
F Air supply closing valve
MANDREL COLLECTOR
The purpose of the mandrel collector is to collect the rest mandrel. The collector can be placed in three positions.
A Position/remove.
B Lock – without extraction. Tilting the tools will make sure that the mandrel will end up in the collector
C Lock – with extraction. The rest mandrel is automatically blown into the collector.
REVOLVABLE AIR OUTLET
The escaping airflow can be set using the resolvable air outlet (A) such, that people experience a minimum of discomfort during work
Do not remove this air outlet from the mandrel collector
360° REVOLVABLE AIR SUPPLY UNIT
When the air hose (A) causes discomfort during work, turn off closing valve (B). After this the 360º resolvable unit (C) can be turned into any required position.
USE
- Position the nipple (G1/4“).

- Position the mandrel collector.

- Set the mandrel collector (see 4.2).

- Set the resolvable air outlet (see 4.3).

- Mount the correct nose piece.

- Set the correct air pressure (see 2.3).

- Turn on the closing valve.

- Position the blind rivet.

- Position the tools.

- Press the trigger.

- Turn off the closing valve.

- Empty the mandrel collector after use.

MAINTENANCE
Use safety goggles
Use hearing protection
Use safety gloves
FRONT SLEEVE
Turn off the closing valve (A) and disconnect the air supply (B).
– Remove the front sleeve (A).
– Pay attention to the o-ring (B).
Clean the inside using an air blow gun.
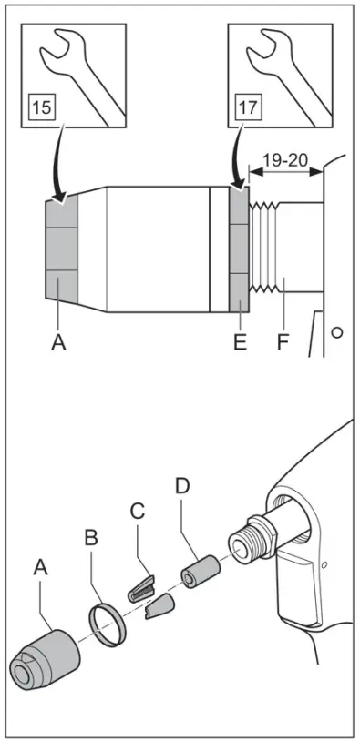
CLAMPING JAWS
Remove the front sleeve, see 6.1.
Remove the clamping sleeve (A) and the Teflon ring (B), the 2 clamping jaws (C) and the jaw pusher (D).
Clean the clamping jaws and the jaw pusher or replace them.
Make sure that the spanner does not slip off the locking nut (E). This may damage the hydraulic piston rod (F).
Mounting is done in reverse order.
When mounting, lightly spray the inside of the clamping sleeve with Teflon spray.
Make sure that the locking nut is positioned between 19-20 mm from the hydraulic body.
TROUBLE SHOOTING
| Problem | Cause | Corrective action |
| The tool does not work | The tool has not been connected to the air connection The air supply closing valve is still closed There is insufficient air pressure | Connect the tool to the air connection Open the air supply closing valve Use the correct air pressure 5-7 bar |
| Air is coming out of the safety valve | The air pressure is too high | Use the correct air pressure 5-7 bar |
| There is no or insufficient extraction | The extraction has not been turned on There is insufficient air pressure The mandrel collector is full The tool is blocked by rest mandrels | Check the position of the mandrel collector Use the correct air pressure 5-7 bar Empty the mandrel collector Remove the rest mandrel |
| The trigger does not work | There is insufficient air pressure | Use the correct air pressure 5-7 bar |
| The blind rivet cannot be placed into the nose piece | The incorrect nose piece has been mounted The tool is blocked by rest mandrels | Mount the correct nose piece Remove the rest mandrel |
| The blind rivet is not set correctly | Contaminated or worn clamping jaws There is insufficient air pressure The capacity of the tool has been exceeded | Clear or replace the clamping jaws Use the correct air pressure Use the correct tool |
| The rest mandrel does not release from the nose piece | The incorrect nose piece has been mounted The tool is blocked by rest mandrels | Mount the correct nose piece Remove the rest mandrel |
| During setting the rivet mandrel does not break | There is insufficient air pressure The capacity of the tool has been exceeded | Use the correct air pressure Use the correct tool |
| The rest mandrel is not extracted into the mandrel collector | The incorrect nose piece has been mounted The tool is blocked by rest mandrels The mandrel collector is full | Mount the correct nose piece Remove the rest mandrel Empty the mandrel collector |
| The air supply unit cannot be turned 360° | The tool is still under air pressure | Close the air supply closing valve and depressurize the tool by turning on the extraction or by operating the trigger |
| The tool does not perform well consistently | Contact a service centre |
TECHNICAL DATA

| EZM 1000 | EZM 2000 | |
| H | 264 mm | 275 mm |
| L | 272 mm | 272 mm |
| ø D | 102 mm | 125 mm |
| P | 70 mm | 70 mm |
| ø S | 23 mm | 23 mm |
| Weight | 1,25 kg | 1,65 kg |
| Air pressure | 5-7 bars | 5-7 bars |
| Pull force (6 bars) | 7.3 kN | 12.5 kN |
| Air consumption (per stroke) | 1.5 l | 2.0 l |
| Stroke | 17 mm | 21 mm |
| Capacity (standard blind rivet) | ø 3.0 – 5.0 mm (stainless steel) | ø 4.0 – 6.4 mm (stainless steel) |
EC DECLARATION OF CONFORMITY
We,
Rivet Factory Group s. r. o.
Lannova 2061/8
110 00 Praha 1, Nové Město,
declare under our sole responsibility that the product:
Description: HYDRO-PNEUMATIC RIVETING TOOL
Model: EZM1000, EZM2000
To which this declaration relates is in conformity with the following harmonized standards
Safety:
Machinery Directive: ČSN EN ISO 11148-1:2015
Technical documentation is compiled in accordance with Annex 1, section 1.7.4.1, of the following Directive: 2006/42/EC
The Machinery Directive (Statutory Instruments 2008 No 1597 – The Supply of Machinery (Safety) Regulations).
The undersigned makes this declaration on behalf of Rivet Factory Group
Bc. Ondřej Slezák, CEO
Rivet Factory Group s. r. o.
Lannova 2061/8
110 00 Praha 1, Nové Město
Place of Issue: Drtinovo náměstí 171, 547 01 Náchod, Czech republic
Date of Issue: 11. 6. 2021
The undersigned is responsible for compilation of the technical fi le for products sold in the European Union and makes this declaration on behalf of STANLEY Engineered Fastening.
Matthias Appel
Team Leader Technical Documentation
Stanley Engineered Fastening, Tucker GmbH, Max-Eyth-Str.1,
35394 Gießen, Germany
This machinery is in conformity with Machinery Directive 2006/42/EC
UK DECLARATION OF CONFORMITY
We,
Rivet Factory Group s. r. o.
Lannova 2061/8
110 00 Praha 1, Nové Město,
declare under our sole responsibility that the product:
Description: HYDRO-PNEUMATIC RIVETING TOOL
Model: EZM1000, EZM2000
To which this declaration relates is in conformity with the following harmonized standards
Safety:
The Supply of Machinery (Safety) Regulations 2008 S.I. 2008/1597 (as amended):
Designated Standards ČSN EN ISO 11148-1:2015
Technical documentation is compiled in accordance with the Supply of Machinery (Safety) Regulations 2008, S.I. 2008/1597 (as amended).
The undersigned makes this declaration on behalf of Rivet Factory Group
Bc. Ondřej Slezák, CEO
Rivet Factory Group s. r. o.
Lannova 2061/8
110 00 Praha 1, Nové Město
Place of Issue: Drtinovo náměstí 171, 547 01 Náchod, Czech republic
Date of Issue: 11. 6. 2021
The undersigned is responsible for compilation of the technical fi le for products sold in the United Kingdom and makes this declaration on behalf of Stanley Engineered Fastening.
A. K. Seewraj
Director of Engineering, UK
Avdel UK Limited, Stanley House, Works Road, Letchworth Garden City, Hertfordshire, SG6 1JY UNITED KINGDOM
This machinery is in conformity with Supply of Machinery (Safety) Regulations 2008, S.I. 2008/1597 (as amended)
































