GRAUGEAR G-M2HS05-F Heat Pipe Cooler

Package Contents

Features
- Heat Pipe from copper provides maximum cooling performance.
- 25 mm PWM fan which is able to control the speed of fan by changing temperatures.
- Reduces the heat of M.2 SSD up to 50%
- Design for PC
- Compatible with single/double sided M.2 2280 SSDs
Specification
- Fan Rated Voltage : DC12V
- Fan Rated Current : 70mA(Max 90mA)
- Fan Rated Speed : 8500RPM
- Fan Dimension : 25x25x10 mm
- Fan Cable Type : 4 Pin (Connection to MB SYS_FAN)
- Cable length : 500mm
- Air flow : 2.87CFM
- Dimension : L87 mm x W26 mm x H34 mm
- Weight : 100 g
- Heat Pipes : 4mm heatpipe x
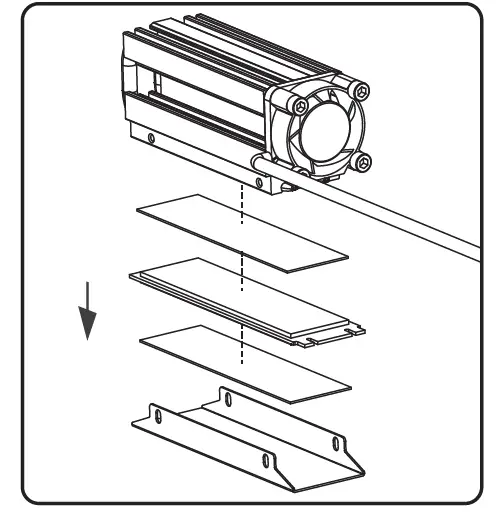
Installation

- Unscrew all 4 screws and remove 1 the bracket from Heatsink.

- Install the M.2 SSD with thermal pads into bracket and reattach the bracket with 4 screws

- Place the Heat Pipe Cooler with M.2 SSD into the M.2 slot of motherboard and attach the SSD mounting screw.

- Plug the 4 Pin connector into the 4 Pin socket on the motherboard and the installation is complete.
Safety information
For your own safety and to avoid physical damage as well as damage to property, equipment and loss of data, please observe the following instructions
Warning signs
DANGER You will be alerted to an imminently hazardous situation which may result in serious injury or even death!
WARNING You will be alerted to a potentially dangerous situation that could result in serious injury, even death!
CAUTION You will be alerted to a potentially dangerous situation that may result in minor injury!
IMPORTANT Your attention is drawn to a possible situation that could result in property damage and possibly environmental damage and disrupt operations.
Dangers due to electric current and voltage!
WARNING
- Avoid any contact with electrically conductive parts, there is a danger to life due to electric shock.
- Please read the operating instructions before use.
- Make sure the product is not energized before opening or working on it.
- Please do not remove the contact protection cover under any circumstances.
- Avoid contact with live parts.
- Do not touch any plug-in connectors with metallic or pointed objects.
- Use the product only in designated environments.
- If necessary, operate the product only with power supplies that correspond to the nameplate.
- Do not expose the product or power supply to moisture and liquid, steam and dust.
- Do not make any independent modifications to the product.
- Do not connect / use the product during a thunderstorm.
- In case of repair, please contact the specialist dealer or GrauGear.
Possible dangers during assembly due to sharp-edged components!
Cutting and hand injuries possible during assembly.
CAUTION
- Please read the operating instructions before assembly.
- Avoid contact with sharp or pointed objects.
- Do not use force during assembly.
- Only use suitable tools or supplied accessories and tools.
Danger of heat generation due to insufficient ventilation of the product/power supply!
In this case, overheating and/or failure of the product/power supply unit is possible.
- Avoid external heat supply and provide air exchange.
- Keep fan outlets and heat sinks free.
- Avoid direct sunlight on the product/power supply.
- Make sure there is enough environmental space for the product/power supply.
- Do not place any objects on the device/power supply.
Danger of suffocation! Danger due to small parts and packaging!
Danger to life due to choking and swallowing.
WARNING
- Please be sure to read the instructions for use.
- Keep small parts and accessories safe from children.
- Keep and dispose of plastic bags and packaging from children.
- Never put small parts and packaging into children’s hands!
Possible data loss / data loss during commissioning
Irrecoverable data loss possible!.
IMPORTANT
- Please be sure to read the operating instructions.
- Use the product only if all specifications and requirements are met.
- Always perform a data backup of storage media to be installed.
- Always perform a data backup before commissioning.
- Always perform a data backup before connecting new hardware.
- Only use the accessories supplied with the product.
Cleaning of the product
Damaging cleaning agent – scratches, color changes, moisture damage or short circuit on the device.
IMPORTANT
- Take the product out of operation before each cleaning.
- Do not use aggressive / harsh cleaners.
- Make sure that there is no residual moisture in the device after cleaning.
- It is best to use an antistatic cloth for cleaning.
Disposal of the product – environmental pollution, recycling not possible!
WARNING
“The adjacent symbol on the product and packaging indicates that this product must not be disposed of with other household waste. If necessary, remove old batteries, rechargeable batteries and lamps before returning the product (if possible without destroying the old device and if it is not to be reused).
According to the Waste Electrical and Electronic Equipment (WEEE) Directive, you may not dispose of this product and any batteries/rechargeable batteries it may contain in
your normal household waste.
If you wish to dispose of this product/batteries, please take them to a suitable disposal point (recycling collection point in your city) or return them to your point of purchase.”
If you have any questions, please do not hesitate to contact our support at [email protected] or visit our website www.graugear.de
© Copyright 2021 by CHAB GmbH. All Rights Reserved
Ohlstedter Strasse 17, 22949 Ammersbek / Germany
Made in China
Windows and the Windows logo are registered trademarks of Microsoft Corporation. Apple, macOS, MAC, iTunes and Macintosh are registered trademarks of Apple Computer.






















