Hansa Architect Lamp LED Manhattan

LED bulb 5 Watt
- Nominal lamp power 5 Watt
- Voltage 220-240 V AC / 50Hz
- Socket E27
- Nominal luminous flux 400 Lumen
- Nominal life time 20 000 h
- Number of switching cycles 10 000
- Colour temperature 5000 Kelvin
- Warm-up time (60%) < 1 s
- Dimmable no
- Mercury content (Hg) 0 mg
- Length × diameter 105 × 55 mm
Check to be sure
- Check that the delivery is complete and that the light does not exhibit any trans-port damages.
- If the delivery is incomplete or exhib-its transport damages, do not use the light. Contact your vendor, where you pur-chased the light.
Proper use
This light is only suitable for lighting dry in-door areas (home/office).
Before you use the light
Before you use the device, please first carefully read through the safety notes and operating in-structions.Keep all safety notes and instructions for future use. Pass on all safety notes and instructions to any subsequent user of the light.
For your safety
WARNING
Failure to observe the warning may result in injury to life and limb.
CAUTION
Indicates a hazard with a low risk that could result in a minor or moderate physical injury.
Symbols
- Only suitable for indoor spaces!
- Do not use any sprays when cleaning!
- Double insulation
- The light is suitable for installa-tion on surfaces with normal flam-mability.
Safety notes
WARNING
Hazardous grid voltage! Risk of electric shock! Deficient electrical installation or excessive mains voltage may result in an electric shock.
- Do not use the light if it exhibits visible damages.
- Check the device and cable for damages on a regular basis.
- Have repairs performed by a qualified workshop.
- For repairs, only parts may be used that correspond to the original device specifi-cations. There are electrical and mechan-ical parts in this unit which are essential in order to avoid exposure to sources of danger.
- Immerse neither the light nor the mains cord or plug in water.
- Never take hold of the mains cord with wet hands.
- Keep the light, mains plug, and mains cord away from open flames, and hot surfaces.
- Never attempt to grasp an electric appli-ance once it has fallen in water. In such a case, immediately disconnect the mains plug.
- If you are not using the light, cleaning it or in the event of a malfunction, turn the light off and always pull the plug out of the socket.
- Never pull the mains cord out of the sock-et by the cord, instead always take hold of the mains plug.
- Never use the connector cord as a carry-ing strap.
- If the mains cord of this device is dam-aged, it must be replaced by the man-ufacturer or its customer service department or a person with similar quali-fications in order to avoid risks.
- Render the device, which has outlived its purpose, unusable. Pull the mains cord out of the socket and cut the mains cord in half.
WARNING
Danger to children and other persons! Children often do not recognise the risks of handling electric appliances or underestimate them. Children can be-come trapped in the packing film when playing and suffocate.
- Do not allow children to play with the packing film and never allow them to use electric appliances without supervision.
CAUTION
Fire hazard! Do not use any sprays or the like to clean the light.
- The heat radiated from the light could cause them to catch fire.
- Do not cover the light head with cloths or the like. The heat radiated from the light could cause them to catch fire.
- Set up the light on a solid, level surface (e. g. table or sideboard) close to a socket.
- Make sure that there is no risk of it tipping and that the cord does not pose a trip hazard.
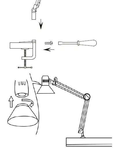
Assembly
- Mount the clamp on a solid, hard, even board with parallel surfaces.
- Ensure that the clamp is sufficiently se-cured.
- Insert the pin of the lamp into the clamp and secure with the screw.
- Screw the lamp shade in the thread on the lamp head.
- Screw the enclosed bulb in the socket.
Turning the light on/off
- Insert the plug in a socket.
- Arrange the light in the desired position.
- Set the On / Off switch on the mains cable to I.
- Set the On / Off switch to O to turn off the light.
Changing the bulb
The lighting source can be replaced.
- Replaceable bulb: LED 5 W / socket E 27
CAUTION
Burn hazard! The casing of the light and the bulb become very hot during use.Do not touch the casing or the bulb with bare hands when in use and after turning off the light, allow it to cool before tou-ching it.
- Turn off the light and pull the mains plug.
- Allow the light to cool off completely.
- Screw the bulb out of the socket.
- Screw the new bulb in the socket.
Care and cleaning
WARNING
Hazardous grid voltage! Risk of electric shock! Improper use could result in electric shock.
- When cleaning the light, always pull the mains plug out of the socket. When doing so, always take hold of the plug and not the cord.
- Make sure that no water penetrates the inside of the light or other parts carrying a current.
Technical data
- Voltage: 220 – 240 V AC / 50Hz
- Power: 5 W
- Luminous flux: 400 lm
- Colour temperature: 5000 K
- Protection class: II
- Model number: 41-5010.680/681
- This product contains a light source of energy efficiency class F.
Distribution
- styro GmbH
- Industriestrasse 2
- D-91583 Schillingsfürst
- Tel. +49 9868 98949-0 www.styro.de styroag
- Frauholzstrasse 27
- CH-6422 Steinen
- Tel. +41 (0)41 833 80 10 www.styro.ch
Hansa Architect Lamp LED Manhattan



















