
![]()
OPERATING INSTRUCTIONS
LED lamp LED 4 Stars
LED lamp LED 4 Stars
Check to be sure
- Check that the delivery is complete and that the light does not exhibit any transport damages.
- If the delivery is incomplete or exhibits transport damages, do not use the light. Contact your vendor, where you purchased the light.
Proper use
This light is only suitable for lighting dry indoor areas (home/office).
Before you use the light
Before you use the device, please first carefully read through the safety notes and operating instructions.
Keep all safety notes and instructions for future use. Pass on all safety notes and instructions to any subsequent user of the light.
For your safety
Signal words
| WARNING Failure to observe the warning may result in injury to life and limb. | |
| CAUTION Indicates a hazard with a low risk that could result in a minor or moderate physical injury. |
Symbols
| Only suitable for indoor spaces! | |
| Do not use any sprays when cleaning! | |
![]() | Double insulation |
| The light is suitable for installation on surfaces with normal flammability. |
Safety notes
WARNING
Hazardous grid voltage!
Risk of electric shock!
Deficient electrical installation or excessive mains voltage may result in an electric shock.
– Do not use the light if it exhibits visible damages.
– Check the device and cable for damages on a regular basis.
– Have repairs performed by a qualified workshop.
– For repairs, only parts may be used that correspond to the original device specifi- cations. There are electrical and mechan- ical parts in this unit which are essential in order to avoid exposure to sources of danger.
– Immerse neither the light nor the mains cord or plug in water.
– Never take hold of the mains cord with wet hands. – Keep the light, mains plug, and mains cord away from open flames, and hot surfaces.
– Never attempt to grasp an electric appliance once it has fallen in water. In such a case, immediately disconnect the mains plug.
– If you are not using the light, cleaning it or in the event of a malfunction, turn the light off and always pull the plug out of the socket.
– Never pull the mains cord out of the socket by the cord, instead always take hold of the mains plug.
– Never use the connector cord as a carrying strap.
– If the mains cord of this device is damaged, it must be replaced by the manufacturer or its customer service department or a person with similar qualifications in order to avoid risks.
– Render the device, which has outlived its purpose, unusable. Pull the mains cord out of the socket and cut the mains cord in half.
WARNING Danger to children and other persons!
Children often do not recognise the risks of handling electric appliances or underestimate them.
Children can become trapped in the packing film when playing and suffocate.
– Do not allow children to play with the packing film and never allow them to use electric appliances without supervision.
CAUTION
Fire hazard!
Do not use any sprays or the like to clean the light.
– Do not cover the light head with cloths or the like. The heat radiated from the light could cause them to catch fire.
Notes on the place of installation
- Set up the light on a solid, level surface (e. g. table or sideboard) close to a socket.
- Make sure that there is no risk of it tipping and that the cord does not pose a trip hazard.
Assembly with clamp
- Insert the pin of the lamp arm into the holder on the clamp.
- Mount the lamp on a solid, hard, even board with parallel surfaces.
- Ensure that the clamp is sufficiently secured.
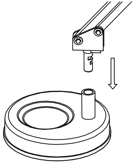
Assembly with stand
- Insert the pin of the light arm into the holder on the base.
Turning the light on/off
- Insert the plug in a socket.
- Arrange the light in the desired position.
- Touch the button to switch the lamp on/off.
Lighting source
- Lighting source service life: 20 000 hours
- The lighting source cannot be replaced.
- The construction of the luminaire does not allow the lighting source to be replaced, as there is a risk of damaging the luminaire.
Care and cleaning
WARNING
Hazardous grid voltage!
Risk of electric shock!
Improper use could result in electric shock.
– When cleaning the light, always pull the mains plug out of the socket. When doing so, always take hold of the plug and not the cord.
– Make sure that no water penetrates the inside of the light or other parts carrying a current.
– Carefully wipe off the light with a damp cloth or a dry dust cloth.
- If after a time the lamp will no longer stay in the desired position, you can tighten the joints with the toggle screws or the lamp joint with a cross-headed screwdriver.
Technical data
| Voltage: | 220 – 240 V AC / 50Hz |
| Power: | 7 W |
| Luminous flux: | 400 lm |
| Colour temperature: | 5000 K |
| Protection class: | II |
Model number:
| Base: | 41-5010.640 – 641 |
| Clamp: | 41-5010.642-643 |
This product contains a light source of energy efficiency class E.
Distribution
styro GmbH
Industriestrasse 2
D-91583 Schillingsfürst
Tel. +49 9868 98949-0
www.styro.de
styro ag
Frauholzstrasse 27
CH-6422 Steinen
Tel. +41 (0)41 833 80 10
www.styro.ch




















