LECTRON V-BOX EV Charging Station

In the Box



Note:
- Allen key is not included.
- Stoppers can be used for empty screw holes.
Installation (Method A)
- Lay pole B flat on the ground and fix the mounting plate to it.

- Attach the V-BOX to the mounting plate.

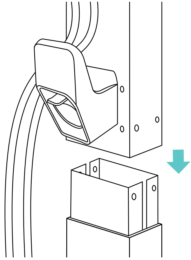
- Attach the holder to pole B.

- Secure pole A to the ground with the four fixing screws provided.

- Place the power cable into pole A and slide pole B onto the top of pole A.

- Screw together pole A and pole B.

- Wrap up the cable and hang it on the holder

- Connect the power cord to the power outlet.
Note: Please use a weatherproof outlet for outdoor use.
Installation (Method B – Licensed Electrician Recommended)
- Lay pole B flat on the ground and fix the mounting plate to it.

- Detach the NEMA 14-50 plug from the V-BOX power cord.

- Attach the V-BOX to the mounting plate.

- Insert the power cord into the hole on pole B.

- Attach the holder to pole B.

- Secure pole A to the ground with the four fixing screws provided.

- Pull out the power cord from the bottom hole of pole A.

- Place the power cable into pole A and slide pole B onto the top of pole A.

- Screw together pole A and pole B.

- Wrap up the cable and hang it on the holder.

- Connect the power cord to the power supply.

Get More Support
Scan the QR code below or email us at [email protected].
www.ev-lectron.com
Made in China






































