Husqvarna HUSO2022 EPOS Reference station

Introduction
Serial number:
The serial number is on the product rating plate and on the product carton. Use the serial number to register your product on www.husqvarna.com.
Support
For support about the product, speak to your Husqvarna servicing dealer.
System description
The EPOS system contains a robotic lawn mower, a charging station and a reference station. The robotic lawn mower and the reference station receives satellite signals for positioning. The reference station is stationary and sends correction data to the robotic lawn mower to get an accurate position for the mower. The work area is made virtually in an app by operating the product and adding waypoints to make a map in an app.
Product description
Note: Husqvarna regularly updates the appearance and function of the products. Refer to Support on page 2.
The product is a reference station that receives satellite signals and sends correction data to the mower. One reference station can be used for several robotic lawn mowers.
Product overview

- Reference station
- Arm
- Support bracket
- Post bracket small, for post dimensions 32-44 mm/ 1.26-1.73 in.
- Post bracket large, for post dimensions 44-55 mm/1.73-2.16 in.
- Screws
- Screws
- Washers
- Power supply1
- Low-voltage cable
- Operator’s manual
Symbols on the product
These symbols can be found on the product. Make sure that you understand them. This product complies with the applicable EU Directives. This product complies with the applicable UK Directives.
It is not permitted to dispose the product as usual domestic waste. Obey national regulations and use the local recycling system. Use a detachable power sup-ply as specified on the rating plate adjacent to the symbol.
Note: Other symbols/decals on the product refer to certification requirements for some markets.
Safety
Safety definitions
Warnings, cautions and notes are used to point out specially important parts of the manual.
WARNING: Used if there is a risk of injury or death for the operator or bystanders if the instructions in the manual are not obeyed.
CAUTION: Used if there is a risk of damage to the product, other materials or the adjacent area if the instructions in the manual are not obeyed.
Note: Used to give more information that is necessary in a given situation.
General safety instructions
WARNING: Read the warning instructions that follow before you use the product.
- Obey national regulations about electrical safety.
- The product is only to be used with the power supply unit supplied by Husqvarna.
- The product may only be used with the equipment recommended by the manufacturer. All other types of use are incorrect. The manufacturer’s instructions with regard to operation/maintenance must be followed precisely.
- The product may only be operated, maintained and repaired by persons that are fully conversant with its special characteristics and safety regulations. Please read the Operator’s Manual carefully and make sure you understand the instructions before using the product.
- Husqvarna does not guarantee full compatibility between the product and other types of wireless systems such as remote controls, radio transmitters, hearing loops, underground electric animal fencing or similar.
- It is not permitted to modify the original design of the product. All modifications are made at your own risk.
- The operating temperature is -20°C to 45°C / -4°F to 113°F. The storage temperature is -20°C to 70°C / -4°F to 158°F.
Safety instructions for installation
WARNING: Read the warning instructions that follow before you use the product.
- Do not put the power supply at a position where there is a risk that it can become wet. Do not put the power supply on the ground.
- Do not encapsulate the power supply. Condensed water can harm the power supply and increase the risk of electrical shock.
- Risk of Electric Shock. Install only to an residual-current device (RCD) when connecting the power supply to the wall socket. Applicable to USA/Canada. If power supply is installed outdoors: Risk of Electric Shock. Install only to a covered Class A GFCI receptacle (RCD) that has an enclosure that is weatherproof with the attachment plug cap inserted or removed.
- Make sure that the plugs of the low-voltage cable and the power supply unit are clean and dry before you connect them.
- There is a risk of falling objects during the installation of the reference station. This can result in injury.
- The power supply cable and extension cable must be outside the work area to avoid damage to the cables.
- There is a risk of falling when you install the reference station in a high position. Make sure that you have a stable position when you install the reference station.
Safety instructions for maintenance
WARNING: Read the warning instructions that follow before you use the product.
- Disconnect the product from the power supply before you clean or do maintenance on the product.
In the event of a thunderstorm
To decrease the risk of damage to electrical components in the reference station, we recommend that the power supply to the reference station is disconnected if there is a risk of a thunderstorm. Connect the power supply again when there is no a risk of thunderstorm.
Installation
Introduction – Installation
WARNING: Read and understand the safety chapter before you install the product.
CAUTION: Use original spare parts and installation material.
Note: Refer to www.husqvarna.com for more information about installation.
To examine where to put the reference station
CAUTION: If there is a lightning rod near by, do not install the reference station higher than the lightning rod.
CAUTION: Do not install the reference station on a flagpole. Movements of the reference station will affect the correction data sent to the product with the accurate position.
- Install the reference station on a fixed object that cannot move or rotate.
- Install the reference station on a post or a wall. The post must be 32-55 mm / 1.26-2.16 in. in diameter to fit the attachments on the reference station.
Note: If the reference station is installed on a wall the top of the reference station must be above the wall. There must be no metal in the wall. - The reference station needs to have full view of the sky. The sky must be visible without obscuration in all directions above 10° elevation angle.

- Install the reference station at minimum 2.5 m / 8 ft. height.
- The maximum distance between the reference station and the product is 500 m / 1640 ft. when free line of view. Objects between the reference station and product decreases the distance.
- Install the reference station where the radio signal reaches all parts of the work area. Large objects can block the radio signals.
It is recommended to have free line of sight between product and reference station for optimal performance. - Special settings are necessary if the site has more than one robotic lawn mower and reference station. Speak to your local Husqvarna representative for more information.
To examine where to put the power supply
WARNING: Do not cut the low-voltage cable. There is a risk of electrical shock.
CAUTION: Make sure that the blades on the robotic lawn mower do not cut the power cables.
- Put the power supply in an area with a roof and protection from the sun and rain.
- Put the power supply in an area with good airflow.
- Use a residual-current device (RCD) when you connect the power supply to the power outlet.
- Extend the low-voltage cable if necessary. The low-voltage cable can be extended up to 100 m / 328 ft.
Installation of the product
Read and understand the instructions about the reference station. Refer to To examine where to put the reference station on page 5.
Read the Operator’s manual for the robotic lawn mower to be used together with the reference station.
You can install the reference station on a post or a wall.
CAUTION: Movements of the reference station will affect the correction data sent to the product with the accurate position. The reference station must be installed tightly on the post or wall.
CAUTION: The items on the map will change position if you move the reference station. Adjust the items on the map or do the installation again in the Automower® Connect app.
Installation tools
- Screwdriver, Torx 20.
- Hex key, 4 mm. Included in the carton.
To install the reference station on a post
- Attach the post tightly to a wall, roof top or the ground. Make sure that the post cannot move or be accidentally moved.
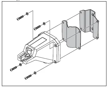
- Attach the support bracket and one of the post brackets to the arm with the 4 screws (4 mm hex key).
Note: The post brackets are available in 2 dimensions to fit different dimensions of the post. Select the applicable post bracket for your installation. - Put the arm on top of the post.
Note: The reference station must be installed at the top of the post. - Attach the reference station to the post with the 2 screws (4mm hex key).

- Pull the cable on the reference station through the slot in the arm and install the reference station on the arm.

- Attach the connector to the clips on the arm.

- Tighten the screw (Torx 20) on the arm of the reference station.

- Connect the low-voltage cable to the reference station and the power supply. Refer to To examine where to put the power supply on page 5.
- Attach the low-voltage cable to the post from the reference station to the power supply with cable ties.
CAUTION: If the low-voltage cable is not attached tightly with cable ties it can be damaged in hard wind. - Put the power supply at a minimum height of 30 cm / 12 in. from the ground.
- Connect the power supply cable to a 100-240V power outlet.
- Wait until the LED status indicator is solid green. First the LED status indicator is flashing green for some minutes. Refer to LED indicator lamp on the reference station on page 9.
To install the reference station on a wall
Note: As wall materials vary, screws for fixing to the wall are not included.
- Hold the arm for the reference station on the wall where you will attach it. Make 4 marks on the wall where you will attach 4 screws.
Note: If the reference station is installed on a wall the top of the reference station must be above the wall. - Drill 4 holes in the wall for the 4 screws.
- Install the reference station on the wall with 4 screws.

- Put the cable of the reference station through the slot in the arm and install the reference station on the arm.

- Attach the connector to the clips on the arm.

- Tighten the screw (Torx 20) on the arm of the reference station.

- Connect the low-voltage cable to the reference station and the power supply.
- Attach the low-voltage cable to the wall from the reference station to the power supply with cable ties.
CAUTION: If the low-voltage cable is not attached tightly with cable ties it can be damaged in hard wind. - Put the power supply at a minimum height of 30 cm / 12 in. from the ground. Refer to To examine where to put the power supply on page 5.
- Connect the power supply cable to a 100-240V power outlet.
- Wait until the LED status indicator is solid green. First the LED status indicator is flashing green for some minutes. Refer to LED indicator lamp on the reference station on page 9.
Maintenance
Introduction – maintenance
Do a check of the installation each year.
- Make sure that the post is tightly attached.
- Do a check of the tightening torques for all screws.
| Screw | Tool | Tightening torque (Nm) |
| Upper to lower chassis | Torx 20 | 1.8 |
| Reference station to arm | Torx 20 | 1.8 |
| Arm to post | Hex key, 4 mm | 5-6 |
| Arm, support bracket and post bracket | Hex key, 4 mm | 5-6 |
Clean the product
WARNING: Disconnect the product from the power supply before any maintenance or cleaning.
CAUTION: Do not use a high-pressure washer to clean the product. Do not use solvents for cleaning.
Troubleshooting
LED indicator lamp on the reference station
| Light | Status |
| Green flashing light | Startup of the reference station. This can take some minutes. |
| Green constant light | In operation. |
| Red flashing light | The reference station is not working due to an error. Restart the product. If the prob- lem stays, speak to your approved servicing dealer. |
| White flashing light | Firmware update is necessary. Speak to your local Husqvarna representative. |
Storage and disposal
Storage
If you store the reference station indoors, keep the arm installed at the post or wall to be able to install the reference station on its original position again.
If you keep the reference station outdoors during the winter, we recommend you to keep the power supply connected.
Disposal
Obey the local recycling requirements and applicable regulations.
Technical data
| Dimensions | ||
| Length, max length including plate for post installation cm / in. | 36 / 13.8 | |
| Width, cm / in. | 19 / 7.5 | |
| Height, cm / in. | 36 / 13.8 | |
| Weight, reference station kg / lb | 0.88 / 1.9 | |
| Weight, arm kg / lb | 0.33 / 0.73 | |
| Reference station | ||
| Type of Power Supply Unit | ADP-40BR, ADP-40EW XX | |
| Power supply input, V AC | 100-240 | |
| Power supply output, V DC | 28 | |
| Power supply output, A | 1.3 | |
| Low-voltage cable, length m/ft | 20 / 66 | |
| IP-code reference station | IPX5 | |
| IP-code power supply unit | IPX4/IP44 | |
| Power consumption, W | 2 | |
| Frequency Band Support | ||
| Bluetooth® Frequency range (for service) | 2400.0-2483.5 MHz | |
| SRD868 (Europe) | 863-870 MHz | |
| SRD915 (North America) | 902-928 MHz | |
| SRD915 (Australia) | 915-928 MHz | |
| SRD915 (New Zealand) | 915-928 MHz | |
| Power Class | ||
| Bluetooth® Output power (for service) | 8 dBm | |
| SRD868 (Europe) | 13 dBm | |
| SRD915 (North America) | 13 dBm | |
| SRD915 (Australia) | 13 dBm | |
| SRD915 (New Zealand) | 13 dBm | |
Registered trademarks
The Bluetooth® word mark and logos are registered trademarks owned by Bluetooth SIG, inc. and any use of such marks by Husqvarna is under license.
Warranty
Warranty terms
Husqvarna® warranty covers this product’s functionality for a period of 2 years from date of purchase. The warranty covers serious faults relating to materials or manufacturing faults. Within the warranty period, we will replace the product or repair it at no charge if the following terms are met:
- The product may only be used in compliance with the instructions in this Operator’s Manual. This manufacturer’s warranty does not affect warranty entitlements against the dealer/retailer.
- End-users or non-authorized third parties must not attempt to repair the product.
- Damage caused by water seepage from using a high-pressure washer.
- Damage caused by lightning.
- Damage caused by not using Husqvarna original spare parts and accessories.
- Damage caused by non-authorized changing or tampering with the product or its power supply.
If an error occurs with your Husqvarna product, please contact Husqvarna local representative for further instructions. Please have the receipt and the product’s serial number at hand when contacting Husqvarna local representative.
Applicable to US/CA market
Supplier’s Declaration of Conformity
Issuer: Husqvarna AB, Drottninggatan 2, S-561 82 Huskvarna, Sweden www.husqvarnagroup.com.
Responsible party: Husqvarna Professional Products, Inc. 9335 Harris Corners Parkway Suite 500 Charlotte, NC 28269 United States U.S. Contact information: Michael Campbell, Sr Director Quality, test compliance, Telephone: +1 704 597 5000.
Compliance requirements
FCC ID: MCQ-XBSX (Reference station).
FCC ID ZASHQ-BLE-1D (Bluetooth® module).
The Bluetooth module and radio module are located inside the reference station. They must only be accessed by an authorized service technician.
WARNING: To comply with RF exposure requirements, please maintain a separation distance of at least 20 cm/7 inches from any part of the product.
Note: Changes or modifications made to this equipment not expressly approved by Husqvarna may void the FCC authorization to operate this equipment.
Note: This device complies with Part 15 of the FCC Rules [and with Industry Canada licence-exempt RSS standard(s)]. Operation is subject to the following two conditions: this device may not cause harmful interference, and this device must accept any interference received, including interference that may cause undesired operation.
Note: This equipment has been tested and found to comply with the limits for a Class B digital device, pursuant to part 15 of the FCC Rules. These limits are designed to provide reasonable protection against harmful interference in a residential installation. This equipment generates, uses and can radiate radio frequency energy and, if not installed and used in accordance with the instructions, may cause harmful interference to radio communications. However, there is no guarantee that interference will not occur in a particular installation. If this equipment does cause harmful interference to radio or television reception, which can be determined by turning the equipment off and on, the user is encouraged to try to correct the interference by one or more of the following measures:
- Reorient or relocate the receiving antenna.
- Increase the separation between the equipment and receiver.
- Connect the equipment into an outlet on a circuit different from that to which the receiver is connected.
- Consult the dealer or an experienced radio/TV technician for help.
WARNING: Cancer and Reproductive Harm – www.P65Warnings.ca.gov.


Note: The post brackets are available in 2 dimensions to fit different dimensions of the post. Select the applicable post bracket for your installation.
Note: The reference station must be installed at the top of the post.



Note: If the reference station is installed on a wall the top of the reference station must be above the wall.






















