
![]()
SMART 40/40E, SMART 48/48E, SMART 56/56E, SMART 65
Introduction
Product description
The product is a concrete vibrator with a built-in frequency converter.
The intended use
The product is for professional operation only. The product removes air bubbles from wet concrete. Do not use the product for other tasks.
Product overview

- Endcap
- Vibrator head
- Hose
- LED indicator
- ON/OFF button
- Frequency converter
- Rating plate
- Rubber sleeve
- Electrical cable with power plug
- Operator’s manual
Symbols on the product
| WARNING: This product can be dangerous and cause serious injury or death to the operator or others. Be careful and use the product correctly. | |
| Read the manual carefully and make sure that you understand the instructions before you use the product. | |
| Use approved protective gloves. | |
| Use hearing protection. | |
| This product is in compliance with applicable EC directives. |
Note: Other symbols/decals on the product refer to special certification requirements for some markets.
Rating plate

1. Serial number
2. Product type
3. Manufacturer
4. Voltage, V
5. Current, A
6. Production year
7. Rated power
8. Phase
9. Frequency, Hz
Product liability
As referred to in the product liability laws, we are not liable for damages that our product causes if:
- the product is incorrectly repaired.
- the product is repaired with parts that are not from
- the manufacturer or not approved by the manufacturer.
- the product has an accessory that is not from the manufacturer or not approved by the manufacturer.
- the product is not repaired at an approved service center or by an approved authority.
Safety
Safety definitions
Warnings cautions and notes are used to point out especially important parts of the manual.
WARNING: Used if there is a risk of injury or death for the operator or bystanders if the instructions in the manual are not obeyed.
CAUTION: Used if there is a risk of damage to the product, other materials, or the adjacent area if the instructions in the manual are not obeyed.
Note: Used to give more information that is necessary for a given situation.
General power tool safety warnings
WARNING: Read all safety warnings, instructions, illustrations, and specifications provided with this power tool. Failure to follow all instructions listed below may result in electric shock, fire, and/or serious injury.
- Save all warnings and instructions for future reference. The term “power tool” in the warnings refers to your mains-operated (corded) power tool or battery-operated (cordless) power tool.
Work area safety - Keep work area clean and well-lit. Cluttered or dark areas invite accidents.
- Do not operate power tools in explosive atmospheres, such as in the presence of flammable liquids, gases, or dust. Power tools create sparks that may ignite dust or fumes.
- Keep children and bystanders away while operating a power tool. Distractions can cause you to lose control.
Electrical safety
- Power tool plugs must match the outlet. Never modify the plug in any way. Do not use any adapter plugs with earthed (grounded) power tools. Unmodified plugs and matching outlets will reduce the risk of electric shock.
- Avoid body contact with earthed or grounded surfaces, such as pipes, radiators, ranges, and refrigerators. There is an increased risk of electric shock if your body is earthed or grounded.
- Do not expose power tools to rain or wet conditions. Water entering a power tool will increase the risk of electric shock.
- Do not abuse the cord. Never use the cord for carrying, pulling, or unplugging the power tool. Keep cord away from heat, oil, sharp edges, or moving parts. Damaged or entangled cords increase the risk of electric shock.
- When operating a power tool outdoors, use an extension cord suitable for outdoor use. The use of a cord suitable for outdoor use reduces the risk of electric shock.
- If operating a power tool in a damp location is unavoidable, use a residual current device (RCD) protected supply. The use of an RCD reduces the risk of electric shock.
Personal safety
- Stay alert, watch what you are doing, and use common sense when operating a power tool. Do not use a power tool while you are tired or under the influence of drugs, alcohol, or medication. A moment of inattention while operating power tools may result in serious personal injury.
- Use personal protective equipment. Always wear eye protection. Protective equipment such as dust masks, non-skid safety shoes, hard hats or hearing protection used for appropriate conditions will reduce personal injuries.
- Prevent unintentional starting. Ensure the switch is in the off-position before connecting to the power source and/or battery pack, picking up or carrying the tool. Carrying power tools with your finger on the switch or energising power tools that have the switch on invites accidents.
- Remove any adjusting key or wrench before turning the power tool on. A wrench or a key left attached to a rotating part of the power tool may result in personal injury.
- Do not overreach. Keep proper footing and balance at all times. This enables better control of the power tool in unexpected situations.
- Dress properly. Do not wear loose clothing or jewelry. Keep your hair and clothing away from moving parts. Loose clothes, jewelry, or long hair can be caught in moving parts.
- If devices are provided for the connection of dust extraction and collection facilities, ensure these are connected and properly used. The use of dust collection can reduce dust-related hazards.
- Do not let familiarity gained from frequent use of tools allow you to become complacent and ignore tool safety principles. A careless action can cause severe injury within a fraction of a second.
Power tool use and care
- Do not force the power tool. Use the correct power tool for your application. The correct power tool will do the job better and safer at the rate at which it was designed.
- Do not use the power tool if the switch does not turn on and off. Any power tool that cannot be controlled with the switch is dangerous and must be repaired.
- Disconnect the plug from the power source and/or remove the battery pack, if detachable, from the power tool before making any adjustments, changing accessories, or storing power tools. Such preventive safety measures reduce the risk of starting the power tool accidentally.
- Store idle power tools out of the reach of children and do not allow persons unfamiliar with the power tool or these instructions to operate the power tool. Power tools are dangerous in the hands of untrained users.
- Maintain power tools and accessories. Check for misalignment or binding of moving parts, breakage of parts, and any other condition that may affect the power tool´s operation. If damaged, have the power tool repaired before use. Many accidents are caused by poorly maintained power tools.
- Keep cutting tools sharp and clean. Properly maintained cutting tools with sharp cutting edges are less likely to bind and are easier to control.
- Use the power tool, accessories and tool bits, etc. in accordance with these instructions, taking into account the working conditions and the work to be performed. Use of the power tool for operations different from those intended could result in a hazardous situation.
- Keep handles and grasping surfaces dry, clean, and free from oil and grease. Slippery handles and grasping surfaces do not allow for safe handling and control of the tool in unexpected situations.
Service
- Have your power tool serviced by a qualified repair person using only identical replacement parts. This will ensure that the safety of the power tool is maintained.
General safety instructions
WARNING: Read the warning instructions that follow before you use the product.
- This product is a dangerous tool if you are not careful or if you use the product incorrectly. This product can cause serious injury or death to the operator or others. Before you use the product, you must read and understand the contents of this operator’s manual.
- Save all warnings and instructions.
- Comply with all applicable laws and regulations.
- The operator and the employer of the operator must know and prevent the risks during the operation of the product.
- Do not let a person operate the product unless they read and understand the contents of the operator’s manual.
- Do not operate the product unless you receive training before use. Make sure that all operators receive training.
- Do not let a child operate the product.
- Only let approved persons operate the product.
- The operator is responsible for accidents that occur to other persons or their property.
- Do not use the product if you are tired, ill, or under the influence of alcohol, drugs, or medicine.
- Always be careful and use your common sense.
- This product produces an electromagnetic field during operation. This field can under some circumstances interfere with active or passive medical implants. To decrease the risk of serious injury or death, we recommend persons with medical implants to speak to their physician and the medical implant manufacturer before operating this product.
- Keep the product clean. Make sure that you can clearly read signs and decals.
- Do not use the product if it is defective.
- Do not do modifications to this product.
- Do not operate the product if it is possible that other persons have done modifications to the product.
Safety instructions for operation
WARNING: Read the warning instructions that follow before you use the product.
- Make sure that you know how to stop the product quickly in an emergency.
- The operator must have the physical strength that is necessary to operate the product safely.
- Use personal protective equipment. Refer to Personal protective equipment on page 6.
- Make sure that only approved persons are in the work area.
- Keep the work area clean and bright.
- Make sure that you are in a safe and stable position during operation.
- Make sure that there is no risk that you or the product can fall from a height.
- Make sure that there is no grease or oil on the handle.
- Do not use the product in areas where fire or explosions can occur.
- The product can cause objects to eject at high speed. Make sure that all persons in the work area use approved personal protective equipment. Remove loose objects from the work area.
- Before you go away from the product, stop the product and disconnect the power source.
- Make sure that the power outlet voltage agrees with the voltage that is given on the rating plate of the product.
Make sure that clothes, long hair, and jewelry do not get caught in moving parts. - Do not sit on the product.
- Do not hit the product.
- Make sure that you or other persons cannot get caught in and fall on cables, hoses, and shafts in the work area.
- Before you operate the product, find out if there are hidden wires, electrical cables, or other sources of electricity. Do not operate the product unless you know that it is in a safe work area.
Vibration safety
WARNING: Read the warning instructions that follow before you use the product.
- During the operation of the product, vibrations go from the product to the operator. Regular and frequent operation of the product can cause or increase the degree of injuries to the operator. Injuries can occur in fingers, hands, wrists, arms, shoulders, and/or nerves and blood supply or other body parts. The injuries can be debilitating and/or permanent and can increase gradually during weeks, months, or years. Possible injuries include damage to the blood circulation system, the nervous system, joints, and other body structures.
- Symptoms can occur during the operation of the product or at other times. If you have symptoms and continue to operate the product, the symptoms can increase or become permanent. If these or other symptoms occur, get medical aid:
- Numbness, loss of feeling, tingling, pricking, pain, burning, throbbing, stiffness, clumsiness, loss of strength, changes in skin color, or condition.
- Symptoms can increase in cold temperatures. Use warm clothing and keep your hands warm and dry when you operate the product in cold environments.
- Do maintenance on and operate the product as given in the operator’s manual, to keep a correct vibration level.
- The product has a vibration damping system that decreases the vibrations from the handles to the operator. Let the product do the work. Do not push the product with force. Hold the product at the handles lightly, but make sure that you control the product and operate it safely. Do not push the handles into the end stop more than necessary.
- Keep your hands on the handle or handles only. Keep all other body parts away from the product.
- Stop the product immediately if strong vibrations suddenly occur. Do not continue the operation before the cause of the increased vibrations is removed.
Dust safety
WARNING: Read the warning instructions that follow before you use the product.
- The operation of the product can cause dust in the air. Dust can cause serious injury and permanent health problems. Silica dust is regulated as harmful by several authorities. These are examples of such health problems:
- The fatal lung diseases chronic bronchitis, silicosis, and pulmonary fibrosis
- Cancer
- Birth defects
- Skin inflammation
- Use correct equipment to decrease the quantity of dust and fumes in the air and to decrease dust on work equipment, surfaces, clothing, and body parts. Examples of controls are dust collection systems and water sprays to bind the dust. Decrease dust at the source where possible. Make sure that the equipment is correctly installed and used and that regular maintenance is done.
- Use approved respiratory protection. Make sure that respiratory protection is applicable for the dangerous materials in the work area.
- Make sure that the airflow is sufficient in the work area
- If it is possible, point the exhaust of the product where it cannot cause dust to go into the air.
Noise safety
WARNING: Read the warning instructions that follow before you use the product.
- High noise levels and long-term exposure to noise can cause noise-induced hearing loss.
- To keep the noise level to a minimum, do maintenance on and operate the product as given in the operator’s manual.
- Use approved hearing protection while you operate the product.
- Listen for warning signals and voices when you use hearing protection. Remove the hearing protection when the product is stopped unless hearing protection is necessary for the noise level in the work area.
Personal protective equipment
WARNING: Read the warning instructions that follow before you use the product.
- Always use approved personal protective equipment when you operate the product. Personal protective equipment cannot fully prevent injury but it decreases the degree of injury if an accident does occur. Let your dealer help you select the correct personal protective equipment.
- Regularly do a check of the condition of the personal protective equipment.
- Use an approved protective helmet.
- Use approved hearing protection.
- Use approved respiratory protection.
- Use approved eye protection with side protection. Use protective gloves.
- Use boots with steel toe-cap and non-slip soles.
- Use approved work clothing or equivalent closefitting clothing that has long sleeves and long legs.
Safety instructions for maintenance
WARNING: Read the warning instructions that follow before you use the product.
- If the maintenance is not done correctly and regularly, the risk of injury and damage to the product increases.
- Use personal protective equipment. Refer to Personal protective equipment on page 6.
- Clean the product to remove dangerous material before you do the maintenance.
- Disconnect the product from the power source before you do the maintenance.
- Do not do modifications to the product. Modifications that are not approved by the manufacturer can cause serious injury or death. Always use original accessories and spare parts. Accessories and spare parts that are not approved by the manufacturer can cause serious injury or death.
- Replace damaged, worn, or broken parts.
- Only do the maintenance as given in this operator’s manual. Let an approved service agent do all other servicing.
- After maintenance, do a check of the vibration level in the product. If it is not correct, speak to an approved service agent.
- Let an approved service agent do service on the product regularly.
Operation
Introduction
WARNING: Read and understand the safety chapter before you use the product.
To start and stop the product
Note: Only use the product with a residual-current device (RCD). The RCD must have protection for 16 A or more. The product is a grounded class 1 device.
- Connect the product to an applicable power socket.
- Push the ON/OFF button to start the product. The vibration starts after 1.5 seconds.
Note: The vibrations start at a very low speed and then increase slowly to maximum speed. - Push the ON/OFF button to stop the product.
- Disconnect the product from the power socket.
- Push and hold the ON/OFF button pushed for 5 seconds. This removes the voltage from the capacitors and prevents injury from remaining electricity on the lug pins.
To operate the product
CAUTION: Do not use the product to move the concrete to the side.
- Fill concrete in equally thick layers, 30–50 cm / 12– 19 in. (B).
- Put the vibrator head approximately 15 cm / 6 in. (A) down into the nearest lower layer of concrete. This causes the layers of concrete to mix correctly.

- Wait approximately 10–20 seconds until the surface around the vibrator head is shiny and no air bubbles come to the surface.

- Remove the vibrator head slowly to let the concrete fill the hole from the vibrator head.
- Put the vibrator head down into the concrete at a distance of 30–50 cm / 12–19 in. (C) from where you put it before.
- Do steps 4 and 5 again and again. Continue until the air bubbles are fully removed from the area of concrete.
Maintenance
Introduction
WARNING: Read and understand the safety chapter before you do maintenance on the product.
To clean the product
CAUTION: Do not use a high-pressure washer to clean the product.
- Use running water from a hose to clean the product.
- Remove concrete from the surfaces of the product after each operation before the concrete becomes hard.
- Remove grease and oil from the handle.
To remove the vibrator head
- Disconnect the product from the power outlet.
- Cut and discard the clamp that holds the wires on the hose end that is adjacent to the frequency converter.
- Remove the cover from the frequency converter.
- Cut the 3 connector wires and disconnect the ground wire from the frequency converter.
- Pull the hose from the end that is adjacent to the frequency converter and remove the nut from the casing.
- Put the vibrator head in a tube vise and tighten the tube vise fully.
- Cut and discard the clamp that holds the wires on the hose end that is adjacent to the vibrator head. Pull the red hose until you can see the connectors.
- Cut and discard the thermal insulation and disconnect the terminals.
- Disconnect the ground wire from the hose nipple.
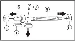
To disassemble and assemble the vibrator head
WARNING: The vibrator head contains high voltage components. Wait 2 minutes after the operation before you disassemble the vibrator head.
- Remove the end cap (A) from the stator tube (B).
Note: The end cap (A) has a right-hand thread. - Remove the nut (C), the wire cover (D), and the rubber gasket (E).
Note: The nut (C) has a right-hand thread. - Remove the hose nipple (F).
Note: The hose nipple (F) has a right-hand thread. - Use an applicable rod and rubber hammer to carefully push the rotor (G) through the bearing holder (H).

- Remove the bearing holder (H), the eccentric element (I), and the screws (J).
- Remove the bearing (K).
- Clean and examine the vibrator head. Refer to To clean and examine the vibrator head on page 8.
- Assemble the vibrator head in the opposite sequence.
CAUTION: If you replace the screws (J), make sure that they are not too long. If the screws go through the eccentric element, they can touch the inner surface of the stator tube. This prevents movement of the rotor and can cause damage to the product.
To clean and examine the vibrator head
Note: Replace the O-rings regularly.
- Examine the vibrator head for damage and wear. Replace damaged parts.
- Clean all parts.
CAUTION: Do not use high-pressure water to clean the drive unit. - Fill the vibrator head with oil, refer to Lubrication on page 9.
- Examine the end cap for damage. Replace the end cap if it is damaged.
To install the end cap
CAUTION: Wait 6 hours after you install the end cap before you use the product.
- Carefully clean the threads of the vibrator head. Make sure that the parts are dry with no oil, grease, or dirt.
- Apply 4 strings of thread locker vertically on the end cap threads. Make sure that you use the correct thread locker type, refer to Tightening torque and thread locker type on page 9. Make sure that no thread locker goes into the vibrator head.
- Put oil into the end cap. Keep the end cap vertical and make sure that no oil goes on the end cap
threads. - Keep the end cap vertical and install the stator tube.
CAUTION: Do not tilt the end cap when you install the stator tube. If oil goes on the end cap thread, the thread locker does not lock the thread. - Tighten the end cap to the specified torque, refer to Tightening torque and thread locker type on page
To install the vibrator head
- Connect the ground wire to the hose nipple on the vibrator head.
- Attach the screw to the hose nipple and the vibrator head with a thread locker. Make sure that you use the correct thread locker type, refer to Tightening torque and thread locker type on page 9.
- Use connectors to keep the wires together. Use thermal insulation to connect the wires to the stator.
- Put the wires into the red hose and put the red hose adjacent to the gland.
- Use a clamp to connect the hose to the hose nipple on the vibrator head.
- Move the wires into the frequency converter casing, through the gland.
- Tighten the nut and put the red hose on the hose nipple on the frequency converter. Attach the red hose with a clamp.
- Use connectors to connect the wires in the frequency converter.
- Put the cover on the frequency converter.
Lubrication
| Vibrator head | SMART40/ 40E | SMART48/ 48E | SMART56/ 56E | SMART65 |
| Shell T46, cm3(cl) | 5 (0.5) | 10 (1) | 15 (1.5) | 20 (2) |
Tightening torque and thread locker type

| Tightening torque, Nm | ||||
| Vibrator head | 40/ 40E | 48/ 48E | 56/ 56E | 65 |
| End cap (A) | 170 Nm | 350 Nm | 520 Nm | 750 Nm |
| Screw (B) | 5 Nm | 8 Nm | 8 Nm | 20 Nm |
| Nipple (C) | 120 Nm | 200 Nm | 250 Nm | 250 Nm |
| Threadlocker type | ||||
| Vibrator head | 40/ 40E | 48/ 48E | 56/ 56E | 65 |
| End cap (A) | LOCTITE®638™ | LOCTITE®638™ | LOCTITE®638™ | LOCTITE®638™ |
| Nipple (C) | LOCTITE®243™ | LOCTITE®243™ | LOCTITE®243™ | LOCTITE®243™ |
| Thrust screw (D)1 | LOCTITE®243™ | LOCTITE®243™ | LOCTITE®243™ | LOCTITE®243™ |
The thrust screw holds the ground cable and seals the vibrator head. If the thrust screw is not sealed correctly, oil can leak from the vibrator head.
| Threadlocker type | ||||
| Vibrator head | 40/ 40E | 48/ 48E | 56/ 56E | 65 |
| Screw (E) | LOCTITE®243™ | LOCTITE®243™ | LOCTITE®243™ | LOCTITE®243™ |
Troubleshooting
Problem | Cause | Solution |
| The residual-current device is re-leased. | Damaged cable or plug. | Examine the cable and plug. If it is necessary, replace damaged or de- fective parts. |
| Damaged frequency converter. | Replace the frequency converter. | |
| Problem with the frequency converter. | Overload in the frequency converter because of a defective part. | Replace the defective part. |
| The vibrator head can not move freely. | Stop the frequency converter and wait 30 seconds. Start the frequency converter. | |
| Not sufficient vibration. | Defective stator tube or wires. | Disconnect the product from the frequency converter. Disconnect the wires between the frequency converter and the vibrator head. Measure the resistance between phases on the side of the vibrator head. Compare the values with those on the rating plate and with the table, refer to Technical data on page 13. If the values are incorrect, examine the wires and the stator tube. Replace the defective part. |
| Short circuit between phases and ground. Measure the resistance be- tween each phase and the ground. If the resistance is 10 mega-ohms or less, examine the wires and the stator tube. Replace the defective part. | ||
| Damaged parts. | Lift the product from the concrete, wait 2 minutes. Measure the input current to the product, refer to Technical data on page 13 for maximum values. If the values are incorrect, disassemble the vibrator head and examine the parts. Replace damaged parts. | |
| Overload in the frequency converter. | Put the vibrator head into the concrete. Measure the input current to the product. Make sure that the current is not more than the values on the rating plate. | |
| Overheating, the temperature of the frequency converter casing is more than 60°C (140°F). | Wait until the temperature of the casing decreases 10°C (50°F). | |
| The product stops during operation. | The residual-current device found a fault. | Examine the cables and the frequency converter. Replace the cable or the frequency converter. |
| The product is too hot. | Stop the product and move it from sunlight. | |
| Overload in the product. | Examine if there is a short circuit be- tween the phases on the vibrator head side. | |
| Examine if there is a short circuit be- tween the phases and ground on the side of the vibrator head. |
LED light status

| LED status | Product status | Procedure |
| Greenlight | Connected to the power source | N/A |
| Flashes green | Work in progress. Too low current. | Examine if the vibrator head is blocked or overloaded. |
| Flashes red | The frequency converter box or the vibrator head is too hot. | Let the frequency converter and vibrator head cool down. |
| Flashes green and red | Too high or too low voltage. | Examine the voltage of the power source. |
| Red light | Overload. Short circuit between phases. Insulation fault in the vibrator head. The problem in the frequency converter. | Examine the frequency converter and vibrator head for damage. If it is necessary, send the product to an authorized service center. |
Storage and disposal
Storage
- Clean the product before storage.
- Keep the product in a dry and frost-free area.
- Keep the product in a locked area to prevent access for children or persons that are not approved.
Disposal of the product
- Obey the local recycling requirements and applicable regulations.
- When the product no longer is used, send it to the dealer or discard it at a recycling location.
Technical data
Technical data
| SMART 40 | SMART 40E | SMART 48 | SMART 48E | SMART 56 | SMART 56E | SMART 65 | ||
| Performance | ||||||||
| Voltage, V | 230/115 | 230/115 | 230/115 | 230/115 | 230/115 | 230/115 | 230/115 | |
| Stator resistance, Ohm, 230 V/115 V | 26.50/6.60 | 26.50/6.60 | 9.30/2.40 | 9.30/2.40 | 5.60/1.50 | 5.60/1.50 | 2.60/ N/A | |
| Input current, A, 230 V/115 V2 | 1.9/3.8 | 1.9/3.8 | 2.2/4.4 | 2.2/4.4 | 2.7/5.4 | 2.7/5.4 | 3.7/ N/A | |
| Phases | 1 | 1 | 1 | 1 | 1 | 1 | 1 | |
| Frequency, Hz | 50/60 | 50/60 | 50/60 | 50/60 | 50/60 | 50/60 | 50/60 | |
| Power, W | 400 | 400 | 920 | 920 | 1170 | 1170 | 1800 | |
| Input power, kW (electric drive unit) | 0.40 | 0.40 | 0.92 | 0.92 | 1.17 | 1.17 | 1.80 | |
| Amperage, (A) 230 V/115 V | 2.5/5 | 2.5/5 | 4.5/9 | 4.5/9 | 6.4/12.8 | 6.4/12.8 | 10/ N/A | |
| Protection | IPX7 | IPX7 | IPX7 | IPX7 | IPX7 | IPX7 | IPX7 | |
| Max. the speed at full load, rpm | 12 000 | 12 000 | 12 000 | 12 000 | 12 000 | 12 000 | 12 000 | |
| Max. the speed at full load (electric drive unit), rpm | 12 000 | 12 000 | 12 000 | 12 000 | 12 000 | 12 000 | 12 000 | |
| Weighted effective acceler- ation uncertainty (K) m/s23 | 3.81 (0.42) | <2.5 | 2.47 (0.44) | <2.5 | 5.87 (1.00) | <2.5 | 4.62 (0.66) | |
| Dimensions | ||||||||
| Cable length (plug to frequency converter), m/ft | 15/49.2 | 1.7/5.6 | 15/49.2 | 1.7/5.6 | 15/49.2 | 1.7/5.6 | 15/49.2 | |
| Cable length (frequency converter to handle) 230 V, m/ft | N/A | 15/49.2 | N/A | 15/49.2 | N/A | 15/49.2 | N/A | |
| Cable length (frequency converter to handle) 115 V, m/ft | N/A | 10/32.8 | N/A | 10/32.8 | N/A | 10/32.8 | N/A | |
| Frequency converter weight, kg/lbs | 2.8/6.17 | 2.8/6.17 | 2.8/6.17 | 2.8/6.17 | 2.8/6.17 | 2.8/6.17 | 2.8/6.17 | |
| Operating weight, kg/lbs | 13.1/28.88 | 12/26.40 | 14.7/32.40 | 13.6/29.98 | 15.9/35.05 | 14.8/32.63 | 18.5/40.78 | |
| Frequency converter length, mm/in. | 300/11.8 | 300/11.8 | 300/11.8 | 300/11.8 | 300/11.8 | 300/11.8 | 300/11.8 | |
| SMART 40 | SMART 40E | SMART 48 | SMART 48E | SMART 56 | SMART 56E | SMART 65 | ||
| Frequency converter width, mm/in. | 103/4.05 | 103/4.05 | 103/4.05 | 103/4.05 | 103/4.05 | 103/4.05 | 103/4.05 | |
| Frequency converter height, mm/in. | 80/3.14 | 80/3.14 | 80/3.14 | 80/3.14 | 80/3.14 | 80/3.14 | 80/3.14 | |
| Vibrator head diameter, mm/in. | 40/1.58 | 40/1.58 | 48/1.90 | 48/1.90 | 56/2.20 | 56/2.20 | 65/2.56 | |
| Vibrator head length, mm/in. | 320/12.59 | 320/12.59 | 350/13.78 | 350/13.78 | 380/14.96 | 380/14.96 | 410/16.14 | |
| Total weight, kg/lbs | 2.3/5.0 | 2.3/5.0 | 3.9/8.6 | 4.2/9.3 | 5.1/11.2 | 5.2/11.5 | 7.7/16.9 | |
| Noise emissions | ||||||||
| Sound pressure level LP at the operator’s ear, dB(A)4 | 75 | 75 | 80 | 80 | 83 | 83 | 88 | |
| Sound power level LW measured, dB(A) rel 1pW5 | 86 | 86 | 91 | 91 | 94 | 94 | 99 | |
Noise and vibration declaration statement
These declared values were obtained by laboratory type testing in accordance with the stated directive or standards and are suitable for comparison with the declared values of other products tested in accordance with the same directive or standards. These declared values are not suitable for use in risk assessments and values measured in individual workplaces may be higher. The actual exposure values and risk of harm experienced by an individual user are unique and depend upon the way the user works, in what material the product is used, as well as upon the exposure time and the physical condition of the user, and the condition of the product.
EC Declaration of Conformity
EC Declaration of Conformity
We, Husqvarna AB, SE-561 82 Huskvarna, Sweden, tel:
+46-36-146500, declare on our sole responsibility that the product:
| Description | Concrete Vibrator |
| Brand | Husqvarna |
| Type/Model | SMART 40/40E/48/48E/56/56E/65 |
| Identification | Serial numbers dating from 2020 and onwards |
complies fully with the following EU directives and regulations:
Directive/Regulation | Description |
| 2006/42/EC | “relating to machinery” |
| 2014/30/EU | “relating to electromagnetic compatibility” |
| 2011/65/EU | “relating to the restriction of hazardous substances” |
and that the following harmonized standards and/or technical specifications are applied;
EN 12649:2008+A1:2011
EN 55014-1:2017
EN 55014-2:2015
EN 61000-3-2:2014
EN 61000-3-3:2013
Partille, 2020-03-05
Martin Huber
R&D Director, Concrete Surfaces & Floors
Husqvarna AB, Construction Division
Responsible for technical documentation
Original instructions
1140466-26


Note: The end cap (A) has a right-hand thread.
Note: The nut (C) has a right-hand thread.



















