Instruction Manual For Ceramic Hob
CEHDD30TCT
![]()
Thank you for purchasing the CANDY ceramic hob. Please read this instruction manual
carefully before using the hob and keep it in a safe place for future reference.
Safety Warnings
Your safety is important to us. Please read this information before using your cooktop.
Installation
Electrical Shock Hazard
- Disconnect the appliance from the mains electricity supply before carrying out any work or maintenance on it.
- Connection to a good earth wiring system is essential and mandatory.
- Alterations to the domestic wiring system must only be made by a qualified electrician.
- Failure to follow this advice may result in electrical shock or death.
Cut Hazard
- Take care – panel edges are sharp.
- Failure to use caution could result in injury or cuts.
Important safety instructions
- Read these instructions carefully before installing or using this appliance.
- No combustible material or products should be placed on this appliance at any time.
- Please make this information available to the person responsible for installing the appliance as it could reduce your installation costs.
- In order to avoid a hazard, this appliance must be installed according to these instructions for installation.
- This appliance is to be properly installed and earthed only by a suitably qualified person.
- This appliance should be connected to a circuit which incorporates an isolating switch providing full disconnection from the power supply.
- Failure to install the appliance correctly could invalidate any warranty or liability claims.
Operation and maintenance Electrical Shock Hazard
- Do not cook on a broken or cracked cooktop. If the cooktop surface should break or crack, switch the appliance off immediately at the mains power supply (wall switch) and contact a qualified technician.
- Switch the cooktop off at the wall before cleaning or maintenance.
- Failure to follow this advice may result in electrical shock or death.
Health Hazard
- This appliance complies with electromagnetic safety standards.
Hot Surface Hazard
- During use, accessible parts of this appliance will become hot enough to cause burns.
- Do not let your body, clothing or any item other than suitable cookware contact the Induction glass until the surface is cool.
- Metallic objects such as knives, forks, spoons and lids should not be placed on the hob surface since they can get hot.
- Keep children away.
- Handles of saucepans may be hot to touch. Check saucepan handles do not overhang other cooking zones that are on. Keep handles out of reach of children.
- Failure to follow this advice could result in burns and scalds.
Cut Hazard
- The razor-sharp blade of a cooktop scraper is exposed when the safety cover is retracted. Use with extreme care and always store safely and out of reach of children.
- Failure to use caution could result in injury or cuts.
Important safety instructions
- Never leave the appliance unattended when in use. Boilover causes smoking and greasy spillovers that may ignite.
- Never use your appliance as a work or storage surface.
- Never leave any objects or utensils on the appliance.
- Never use your appliance for warming or heating the room.
- After use, always turn off the cooking zones and the cooktop as described in this manual (i.e. by using the touch controls).
- Do not allow children to play with the appliance or sit, stand, or climb on it.
- Do not store items of interest to children in cabinets above the appliance. Children climbing on the cooktop could be seriously injured.
- Do not leave children alone or unattended in the area where the appliance is in use.
- Children or persons with a disability which limits their ability to use the appliance should have a responsible and competent person to instruct them in its use. The instructor should be satisfied that they can use the appliance without danger to themselves or their surroundings.
- Do not repair or replace any part of the appliance unless specifically recommended in the manual. All other servicing should be done by a qualified technician. · Do not use a steam cleaner to clean your cooktop.
- Do not place or drop heavy objects on your cooktop.
- Do not stand on your cooktop.
- Do not use pans with jagged edges or drag pans across the Induction glass surface as this can scratch the glass.
- Do not use scourers or any other harsh abrasive cleaning agents to clean your cooktop, as these can scratch the Induction glass.
- If the supply cord is damaged, it must be replaced by the manufacturer, its service agent or similarly qualified persons in order to avoid a hazard.
- This appliance is intended to be used in household and similar applications such as: -staff kitchen areas in shops, offices and other working environments; -farm houses; -by clients in hotels, motels and other residential type environments; -bed and breakfast type environments.
- WARNING: The appliance and its accessible parts become hot during use. Care should be taken to avoid touching heating elements. Children less than 8 years of age shall be kept away unless continuously supervised.
- This appliance can be used by children aged from 8 years and above and persons with reduced physical, sensory or mental capabilities or lack of experience and knowledge if they have been given supervision or instruction concerning use of the appliance in a safe way and understand the hazards involved.
- Children shall not play with the appliance. Cleaning and user maintenance shall not be made by children without supervision.
- WARNING: Unattended cooking on a hob with fat or oil can be dangerous and may result in fire. NEVER try to extinguish a fire with water, but switch off the appliance and then cover flame e.g. with a lid or a fire blanket.
- WARNING: Danger of fire: do not store items on the cooking surfaces.
- Warning: If the surface is cracked, switch off the appliance to avoid the possibility of electric shock, for hob surfaces of glass-ceramic or similar material which protect live parts
- A steam cleaner is not to be used.
- The appliance is not intended to be operated by means of an external timer or separate remote-control system.
Congratulations on the purchase of your new Ceramic Hob.
We recommend that you spend some time to read this Instruction / Installation Manual in order to fully understand how to install correctly and operate it. For installation, please read the installation section. Read all the safety instructions carefully before use and keep this Instruction / nstallation Manual for future reference.
Product Overview
Top View

- max. 1200 W zone
- max. 2000/1000 W zone
- Glass plate
- Control panel
Control Panel
- Heating zone selection controls
- Timer control
- Power / Timer regulating controls
- keylock control
- ON/OFF control
- Dual zone control
Product Information
The microcomputer ceramic cooker hob can meet different kinds of cuisine demands because of resistance wire heating, micro-computerized control and multi-power selection, really the optimal choice for modern families. The ceramic cooker hob centers on customers and adopts personalized design. The hob has safe and reliable performances, making your life comfortable and enabling to fully enjoy the pleasure from life.
Before using your New Ceramic Hob
- Read this guide, taking special note of the `Safety Warnings’ section.
- Remove any protective film that may still be on your ceramic hob.
Using the Touch Controls
- The controls respond to touch, so you don’t need to apply any pressure.
- Use the ball of your finger, not its tip.
- You will hear a beep each time a touch is registered.
- Make sure the controls are always clean, dry, and that there is no object (e.g. a utensil or a cloth) covering them. Even a thin film of water may make the controls difficult to operate.
Choosing the right Cookware
Do not use cookware with jagged edges or a curved base.

Make sure that the base of your pan is smooth, sits flat against the glass, and is the same size as the cooking zone. Always centre your pan on the cooking zone.

Always lift pans off the ceramic hob do not slide, or they may scratch the glass.

Using your Ceramic Hob
To start cooking
- Touch the ON/OFF control. After power on, the buzzer beeps once, all displays show “-” or “–“, indicating that the induction hob has entered the state of standby mode.
- Place a suitable pan on the cooking zone that you wish to use.
• Make sure the bottom of the pan and the surface Of the cooking zone are clean and dry.
- Touching the heating zone selection control, and a indicator next to the key will flash.
- Set a power level by touching the “-” or “+” control.
• If you don’t choose a heat setting within 1 minute, the ceramic hob will automatically switch off. You will need to start again at step 1.
• You can modify the heat setting at any time during cooking.
- When zone 1 is working, touch the heating zone selection control then activate double zone by pressing .

When double zone is working, touch the heating zone selection control then turning off the double zone by pressing ![]()
When you have finished cooking
Touching the heating zone selection control that you wish to switch off.- Turn the cooking zone off by touching the “-” and scrolling down to “0”, or holding the “+” and “-” button at the same time for 1 second, it will cut down to “0” directly.
Make sure the power display shows “0”, then shows “H”.
- Turn the whole cooktop off by touching the “ON/OFF” control.

- Beware of hot surfaces
“H” will show which cooking zone is hot to touch. It will disappear when the surface has cooled down to a safe temperature. It can also be used as an energy-saving function if you want to heat further pans, use the hotplate that is still hot.
Locking the Controls
- You can lock the controls to prevent unintended use (for example children accidentally turning the cooking zones on).
- When the controls are locked, all the controls except the ON/OFF control are disabled.
To lock the controls
Touch the keylock control. The timer indicator will show “Lo”.
To unlock the controls
- Make sure the ceramic hob is turned on.
- Touch and hold the keylock control for a while.
- You can now start using your ceramic hob.
When the hob is in the lock mode, all the controls are disable except the
ON/OFF
, you can always turn the ceramic hob off with the ON/OFF
control in an emergency, but you shall unlock the hob first in the next Operation
Over-Temperature Protection
A temperature sensor equipped can monitor the temperature inside the ceramic hob. When an excessive temperature is monitored, the ceramic hob will stop operation automatically.
Over-spillage Protection
Over-spillage protection is a safety protection function. It switch off the hob automatically within 10s if the water flow to the control panel, while buzzer will beep 1 second.
Residual Heat Warning
When the hob has been operating for some time, there will be some residual heat. The letter ” H “appears to warn you to keep away from it.
Auto Shutdown
Auto shut down is a safety protection function for your ceramic hob. It shut down automatically if ever you forget to turn off your cooking. The default working times for various power levels are shown in the below table:
| Power level | 1 | 2 | 3 | 4 | 5 | 6 | 7 | 8 | 9 |
| Default working timer (hour) | 8 | 8 | 8 | 4 | 4 | 4 | 2 | 2 | 2 |
Using the Timer
You can use the timer in two different ways:
- You can use it as a minute minder. In this case, the timer will not turn any cooking zone off when the set time is up.
- You can set it to turn one cooking zone off or more than one after the set time is up.
- You can set the timer for up to 99 minutes.
Using the Timer as a Minute Minder
If you are not selecting any cooking zone
- Make sure the cooktop is turned on.
Note: you can use the minute minder even if you’re not selecting any cooking zones. - Touch timer control, the minder indicator will start flashing and “30” will show in the timer display.

- Set the time by touching the “-” or “+” control
Hint: Touch the “-” or “+” control of the timer once to decrease or increase by 1 minute. Touch and hold the “-” or “+” control of the timer to decrease or increase by 10 minutes.
- Cancel the time by touching the timer control and the”00″ will show in the minute display.

- When the time is set, it will begin to count down immediately. The display will show the remaining time and the timer indicator will flash for 5 seconds.

- Buzzer will beep for 30 seconds and the timer indicator shows “- -” when the set time finished.

Setting the timer to turn one cooking zone off
Cooking zones set for this feature will:
- Touching the heating zone selection control that you want to set the timer for. (e.g. zone 1#)

- Touch timer control, the minder indicator will start flashing and “30” will show in the timer display.

- Set the time by touching the “-” or “+” control.
Hint: Touch the “-” or “+” control of the timer once will decrease or increase by 1 minute.
Touch and hold the “-” or “+” control of the timer will decrease or increase by 10 minutes. If the setting time exceeds 99 minutes, the timer will automatically return to 0 minute. - When the time is set, it will begin to count down immediately. The display will show the remaining time and the timer indicator flash for 5 seconds.
NOTE: The red dot next to power level indicator will illuminate indicating that zone is selected. - To cancel the timer, touch the heating zone selection control, and then touch the timer control, the timer is cancelled, and the “00” will show in the minute display, and then “–“.

- When cooking timer expires, the corresponding cooking zone will be automatically switch off and show “H”.

Other cooking zones will keep operating if they are turned on previously.
Setting the timer to turn more than one cooking zone off
- If more than one heating zone use this function, the timer indicator will show the shortest time. (e.g. zone 1# setting time of 2 minutes, zone 2# setting time of 5 minutes, the timer indicator shows “3”.)
NOTE: The flashing red dot next to power level indicator means the timer indicator is showing time of the heating zone. If you want to check the set time of other heating zone, touch the heating zone selection control. The timer will indicate its set time.
- When cooking timer expires, the corresponding cooking zone will be switch off automatically and show “H”.

NOTE: If you want to change the time after the timer is set, you have to start from step 1.
Care and Cleaning
| What? | How? | Important! |
| Everyday soiling on glass(fingerprints, marks, stains left by food or non-sugary spillovers on the glass) | 1. Switch the power to the cooktop off. 2. Apply a cooktop cleaner while the glass is still warm (but not hot!) 3. Rinse and wipe dry with a clean cloth or paper towel. 4. Switch the power to the cooktop back on. | • When the power to the cooktop is switched off, there will be no ‘hot surface’ indication but the cooking zone may still be hot! Take extreme care. • Heavy-duty scourers, some nylon scourers and harsh/abrasive cleaning agents may scratch the glass. Always read the label to check if your cleaner or scourer is suitable. • Never leave cleaning residue on the cooktop: the glass may become stained. |
| Boilovers, melts, and hot sugary spills on the glass | Remove these immediately with a fish slice, palette knife or razor blade scraper suitable for ceramic glass cooktops, but beware of hot cooking zone surfaces: 1. Switch the power to the cooktop off at the wall. 2. Hold the blade or utensil at a 30° angle and scrape the soiling or spill to a cool area of the cooktop. 3. Clean the soiling or spill up with a dish cloth or paper towel. 4. Follow steps 2 to 4 for ‘Everyday soiling on glass’ above. | • Remove stains left by melts and sugary food or spillovers as soon as possible. If left to cool on the glass, they may be difficult to remove or even permanently damage the glass surface. • Cut hazard: when the safety cover is retracted, the blade in a scraper is razor-sharp. Use with extreme care and always store safely and out of reach of children. |
| Spillovers on the touch controls | 1. Switch the power to the cooktop off. 2. Soak up the spill 3. Wipe the touch control areawith a clean amp sponge orcloth. 4. Wipe the area completely dry with a paper towel. 5. Switch the power to the cooktop back on. | • The cooktop may beep and turn itself off, and the touch controls may not function while there is liquid on them. Make sure you wipe the touch control area dry before turning the cooktop back on. |
Hints and Tips
| Problem | Possible causes | What to do |
| The cooktop cannot Be turned on. | No power. | Make sure the cooktop is connected to the power supply and that it is switched on. Check whether there is a ower outage in your home or area. If you’ve checked verything and the problem persists, call a qualified technician. |
| The touch controls are unresponsive. | The controls are locked. | Unlock the controls. See section ‘Using your ceramic cooktop’ for instructions. |
| The touch controls are difficult to operate. | There may be a slight film of water over the controls or you may be using the tip of your finger when touching the controls. | Make sure the touch control area is dry and use the ball of your finger when touching the controls. |
| The glass is being scratched. | Rough-edged cookware. Unsuitable, abrasive scourer or cleaning products being used. | Use cookware with flat and smooth bases. See ‘Choosing the right cookware’. See ‘Care and cleaning’. |
| Some pans make crackling or clicking noises. | This may be caused by the construction of your cookware (layers of different metals vibrating differently). | This is normal for cookware and does not indicate a fault. |
Technical Specification
| Cooking Hob | CEHDD30TCT |
| Cooking Zones | 2 Zones |
| Supply Voltage | 220-240V~, 50-60Hz |
| Installed Electric Power | 2928-3484W |
| Product Size L×W×H(mm) | 288X520X52 |
| Building-in Dimensions A×B (mm) | 268X500 |
Weight and Dimensions are approximate. Because we continually strive to improve our products we may change specifications and designs without prior notice.
Installation
Selection of installation equipment
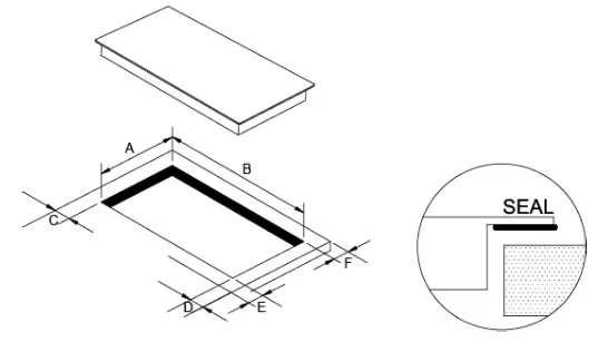
Cut out the work surface according to the sizes shown in the drawing. For the purpose of installation and use, a minimum of 5 cm space shall be preserved around the hole.
Be sure the thickness of the work surface is at least 30mm. Please select heat-resistant work surface material to avoid larger deformation caused by the heat radiation from the hotplate. As shown below:

| A(mm) | B(mm) | C(mm) | D(mm) | E(mm) | F(mm) |
| 268+4 -0 | 500+4 -0 | 50mini | 50 mini | 50 mini | 50 mini |
Under any circumstances, make sure the ceramic cooker hob is well ventilated and the air inlet and outlet are not blocked. Ensure the ceramic cooker hob is in good work state. As shown below
Note: The safety distance between the hotplate and the cupboard above the hotplate should be at least 760mm.

| A(mm) | B(mm) | C(mm) | D | E |
| 760 | 50 mini | 30 mini | Air intake | Air exit 5 mm |
Before you install the hob, make sure that
- the work surface is square and level, and no structural members interfere with space requirements
- the work surface is made of a heat-resistant material
- if the hob is installed above an oven, the oven has a built-in cooling fan
- the installation will comply with all clearance requirements and applicable standards and regulations
- a suitable isolating switch providing full disconnection from the mains power supply is incorporated in the permanent wiring, mounted and positioned to comply with the local wiring rules and regulations. The isolating switch must be of an approved type and provide a 3 mm air gap contact separation in all poles (or in all active [phase] conductors if the local wiring rules allow for this variation of the requirements)
- the isolating switch will be easily accessible to the customer with the hob installed
- you consult local building authorities and by-laws if in doubt regarding installation
- you use heat-resistant and easy-to-clean finishes (such as ceramic tiles) for the wall surfaces surrounding the hob.
When you have installed the hob, make sure that
- the power supply cable is not accessible through cupboard doors or drawers
- there is adequate flow of fresh air from outside the cabinetry to the base of the hob
- if the hob is installed above a drawer or cupboard space, a thermal protection barrier is installed below the base of the hob
- the isolating switch is easily accessible by the customer
Before locating the fixing brackets
The unit should be placed on a stable, smooth surface (use the packaging). Do not apply force onto the controls protruding from the hob.
Fix the hob on the work surface by screw 4 brackets on the bottom case of hob (see picture) after installation.

| A | B | C | D |
| screw | bracket | Screw hole | base |

Cautions
- The ceramic cooker hob must be installed by qualified personnel or technicians. We have professionals at your service. Please never conduct the operation by yourself.
- The ceramic cooker hob shall not be mounted to cooling equipment, dishwashers and rotary dryers.
- The ceramic cooker hob shall be installed such that better heat radiation can be ensured to enhance its reliability.
- The wall and induced heating zone above the work surface shall withstand heat.
- To avoid any damage, the sandwich layer and adhesive must be resistant to heat.
- A steam cleaner is not to be used.
- This ceramic can be connected only to a supply with system impedance no more than 0.427 ohm. In case necessary, please consult your supply authority for system impedance information.
Connecting the hob to the mains power supply
The power supply should be connected in compliance with the relevant standard, or a single-pole circuit breaker. The method of connection is shown below.
- If the cable is damaged or needs replacing, this should be done by an after-sales technician using the proper tools, so as to avoid any accidents.
- If the appliance is being connected directly to the mains supply, an omnipolar circuit breaker must be installed with a minimum gap of 3mm between the contacts.
- The installer must ensure that the correct electrical connection has been made and that it complies with safety regulations.
- The cable must not be bent or compressed.
- The cable must be checked regularly and only replaced by a properly qualified person.
This appliance is labelled in accordance with European Directive 2012/19/EU regarding electric and electronic appliances (WEEE). The WEEE contain both polluting substances (that can have a negative effect on the environment) and base elements (that can be reused). It is important that the WEEE undergo specific treatments to correctly remove and dispose of the pollutants and recover all the materials. Individuals can play an important role in ensuring that the WEEE do not become an environmental problem; It is essential to follow a few basic rules:
- the WEEE should not be treated as domestic waste;
- the WEEE should be taken to dedicated collection areas managed by the town council or a registered company.
In many countries, domestic collections may be available for large WEEEs. When you buy a new appliance, the old one can be returned to the vendor who must accept it free of charge as a one-off, as long as the appliance is of an equivalent type and has the same functions as the purchased appliance.
| Product Information for Domestic Electric Hobs Compliant to Commission Regulation (EU) No 66/2014 | |||||
| Position | Symbol | Value | Unit | ||
| Model identification | CEHDD3OTCT | ||||
| Type of hob: | Electric Hob | ||||
| Number of cooking zones and/or areas | zones | 2 | |||
| areas | |||||
| Heating technology (induction cooking zones and cooking areas, radiant cooking zones, solid plates) | Induction cooking zones | ||||
| Induction cooking cooking areas | |||||
| radiant cooking zones | X | ||||
| solid plates | |||||
| For circular cooking zones or areas’ diameter of useful surface area per electric heated cooking zone, rounded to the nearest 5mm | Rear left | Ø | 20,0 | cm | |
| Rear central | Ø | – | cm | ||
| Rear right | Ø | – | cm | ||
| Central left | Ø | – | cm | ||
| Central central | Ø | – | cm | ||
| Central right | Ø | – | cm | ||
| Front left | Ø | 16,5 | cm | ||
| Front central | Ø | – | cm | ||
| Front right | Ø | – | cm | ||
| For non-circular cooking zones or areas: length and width of useful surface area per electric heated cooking zone or area, rounded to the nearest 5mm | Rear left | L W | – | cm | |
| Rear central | I_ W | – | cm | ||
| Rear right | W L | – | cm | ||
| Central left | L W | – | cm | |
| Central central | L W | – | cm | |
| Central right | L W | – | cm | |
| Front left | L W | – | cm | |
| Front central | L W | – | cm | |
| Front right | L W | – | cm | |
| Energy consumption for cooking zone or area calculated per kg | Rear left | ECelectric cooking | 187 | Wh/kg |
| Rear central | ECelectric cooking | – | Wh/kg | |
| Rear right | ECelectric cooking | – | Wh/kg | |
| Central left | ECelectric cooking | – | Wh/kg | |
| Central central | ECelectric cooking | – | Wh/kg | |
| Central right | ECelectric cooking | – | Wh/kg | |
| Front left | ECelectric cooking | 186 | Wh/kg | |
| Front central | ECelectric cooking | – | Wh/kg | |
| Front right | ECelectric cooking | – | Wh/kg | |
| Energy consumption for the hob calculated per kg | ECelectric hob | 186.5 | Wh/kg |
Standard applied: EN 60350-2 Household electric cooking appliances – Part 2: Hobs – Methods for measuring performance
Suggestions for Energy Saving:
- To obtain the best efficiency of your hob, please place the pan in the centre of the cooking zone.
- Using a lid will reduce cooking times and save energy by retaining the heat.
- Minimise the amount of liquid or fat to reduce cooking times.
- Start cooking on a high setting and reduce the setting when the food has heated through.
- Use pans whose diameter is as large as the graphic of the zone selected.
Choosing the right Cookware

Touching the heating zone selection control that you wish to switch off.







NOTE: The red dot next to power level indicator will illuminate indicating that zone is selected.















