

Warranty card and instruction manual for bathtubs with and without hydro system.
INTRODUCTION
Congratulations on purchasing Your Wellis product and thank you for your trust. We trust that Your bathtub will live up to your expectations. The decades-long tradition of our company is based on offering sanitation products of exceptional quality to our customers. Our products contribute to the everyday pleasures of the family and provide a means for regeneration to its members.
Please study the user’s manual before usage to make sure that you have all the information necessary for the safe and proper use of the product you have purchased.
SAFETY REGULATIONS
TO GUARANTEE YOUR SAFETY ALWAYS FOLLOW THE FOLLOWING SAFETY REGULATIONS. FAILURE TO HEED WARNINGS AND INSTRUCTIONS MAY LEAD TO EQUIPMENT DAMAGE, PERSONAL INJURY, OR EVEN LOSS OF LIFE. IMPROPER INSTALLATION OR OPERATION VOIDS THE WARRANTY.
Initial safety precautions
If the product has any electrical equipment attached, the power supply must be provided using a residual current device (FI) with an RCD sensitivity under 30mA. Equipment and parts that contain active components – except where power is supplied using especially low current limit protection of no more than 12V – must be inaccessible from the bathroom. The equipment must be connected to the power supply by a qualified professional. The power grid must have certification of protection against electric shock.
Environmentally safe usage
The bathtub is directly connected to the building’s wastewater drainage network. Please do not pour any unknown or environmentally harmful substances down the drain, because this may adversely affect the environment.
Safe usage
When using your bathtub for bathing, never let the water temperature exceed 40°C (104°F). The maximum safe water temperature for a healthy adult is 36 – 38°C. For young children and for adults using the bathtub for more than 10 minutes we recommend a lower temperature.
The temperature of the water may cause hyperthermia! Symptoms: drowsiness, weariness. Children under the age of 14 may only use and operate products equipped with hydro-massage systems under adult supervision.
Users suffering from heart problems, low or high blood pressure, circulatory problems, diabetes, or obesity should consult their physicians before using the product.
Using the product while under the influence of alcohol, other intoxicants, narcotics or sedatives is expressly forbidden- den and extremely dangerous.
The surface of the product can become slippery, especially when using hygiene products. We ask that you pay special attention when using the product, especially when getting in or out of the bathtub. Warn and inform your children of these dangers before letting them use the bathtub.
Users taking medication should consult their physicians before using the product. Some medications may cause drowsiness, while others my affect the heart rate, blood pressure, or blood circulation.
People suffering from contagious illnesses should consult their physicians about using the product and about the necessary sanitizing procedures. The aquatic medium can stimulate the reproduction of several harmful and infectious microbes.
Since high water temperature is a serious danger to the fetus and may cause irreversible effects, we recommend that pregnant women (and women who might be pregnant) avoid using the bathtub with higher than 38 °C water temperature.
Never place electrical devices within two meters of the bathtub when using it – this may lead to lethal electric shock. Electrical devices falling into the water may cause death, electric shock, or serious injury. 17
For bathtubs installed along with electrical equipment
Before using the product check your residual current device (FI) by pushing its dedicated test button. The user must inspect the electrical wiring at least every 3 months. A similar inspection should be carried out by a qualified professional every 3 years. If you notice any irregularities, immediately contact a professional. The residual current device switch cannot be in the same room as the bathtub!
The main fuses/circuit breakers activate when a power failure occurs.
Before performing maintenance on electrical components disconnect the massage pool from the power supply (Such procedures may only be performed by qualified professionals).
The installation of the bathtub and its wiring, the replacement of cords, and any repairs must be carried out by qualified professionals. Connections must be circuit protected and inaccessible. The sizing and length of the power supply cables of the product must be planned and inspected.
The electrical installation must be done in accordance with local regulations.
INSTALLING THE PRODUCT
Planning and preparation
The location for the installation of the product must be planned with respect to future use. When selecting the location ensure that the product can be properly installed and, if needed (after making a warranty claim), properly removed. Removability and movability are installation requirements. If the product is not installed with respect to these factors, the warranty does not cover related removal and rebuilding expenses. For sunken bathtubs, vertical movability and physical access to the area under the tub (via maintenance hatch or door) must be ensured. Please contact a qualified professional to ensure proper installation.
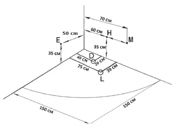
Every bathtub must be provided with adequate drainage (min. 50 mm), proper tilting, and connection to hot and cold water. Refer to the connection diagram of the product.
For bathtubs without hydraulic or electrical accessories (hereinafter referred to as: Empty bathtub) use of the level-stand purchasable for the product is obligatory. All other products (standing bathtubs, bathtubs with hydraulic systems) are self-supporting and do not need additional support.
The attachable front and side covers available for bathtubs with hydraulic systems provide access to the mechanical components of the product.
In case of a malfunction, the bathtub may leak large amounts of water. To avoid damages proper floor drainage must be installed in the room where the product is located! We accept no liability for damages due to improper drainage, as per article 340.§ (1) of the Civil Code of Hungary.
The area under the bathtub must be a waterproof, level surface. Water protection for the bathtub area is mandatory; water protection for the whole room is recommended. Tiles and glazed tiles with joints are not watertight in and by themselves. We recommend covering the level floor and the walls with a liquid film.
It is advisable to cover the area beneath the (hydro massage) bathtub as well!
If the tiling does not reach the flooring, the tiles must be 150 – 200 mm below the bathtub’s flanges! The flooring must reach 150 – 200 mm below the bathtub from the front cover!
Using underfloor heating under the bathtub is prohibited!
Bathtub installation procedure
The (hydro massage) bathtub must not be damaged during the installation! It is advisable to cover the inner surface of the bathtub until it is set up!
The ‘empty’ bathtub surface is covered by a protective film!
Do not lift the bathtub by the fixtures or piping!
For certain types of products, it is also prohibited to lift the bathtub by the ornamental frames or the glass parts!
Electrical connections, odor control siphon outputs, faucets (optional) must be accessible from the maintenance hatch!
The fixtures, electrical cables, flexible pipes, and water connections under the bathtub must be as long as needed so that they will not be damaged if the bathtub is lifted! The warranty does not cover damages relating to any such insufficiencies!
Ensure proper ventilation and access to the vents when installing the hydro massage bathtub! The vent must be at least 100 cm2! The warranty does not cover damages relating to improper ventilation!
Level installation and the proper setup of the level-stand is mandatory. Contact a qualified professional for help. If the level-stand is not set up properly, the tension in the body of the bathtub may lead to cracks in the acrylic body.
Before operating the bathtub see if the conditions of operation are suitable and check for leakage.
When setting up drainage fixtures you must inspect the return airflow guard.
If your bathtub has any glass panels, you must take extra care when transporting or moving the product.
It is expressly forbidden to push, lift by, or otherwise put load on the glass panels. These actions may lead to leakage. If your bathtub has any handles, towel bars, or pillow holders, you must take extra care when transporting or moving the product. It is expressly forbidden to push, lift by, or otherwise put load on these accessories. These actions may lead to the straining, deformation, or breakage of the acrylic device.
The supporting structure under the bathtub’s flanges must be used to lift and move the bathtub.
The warranty does not cover breakdowns due to improper installation.
Bathtub feet
The leveling feet are not load-bearing!
You are therefore required to construct proper support for those!
Hydromassage bathtubs can only be ordered with feet that are in themselves load-bearing! When installing the bathtub, every foot must be adjusted to stand on the floor. Failure to do so may result in cracking of the bathtub body, which the manufacturer cannot be liable for!
The bathtub must be leveled by adjusting the bathtub feet!
Acrylic front panel installation procedure
The hydro massage bathtub’s stand must be set up so as to leave a 1 cm wide gap between the front panel and the floor! This ensures the engine’s proper ventilation!
You may install a commercially available drainage profile between the wall and the bathtub’s flange to prevent water dripping off of wall surfaces pooling behind/under the bathtub.
Installing water-, drainage-, electrical fixtures
- Water fixture installation (optional faucet)
Faucets must be installed at the points marked on the connection diagram, using ½” angle valves! - Drainage fixtures
The diameter of the connection for the flexible drainage pipe is 40 mm!
The point marked on the connection diagram represents the exact drainage fixture! Its location is in accordance with the support, we do not recommend deviating from it! - Electrical fixtures
Only qualified professionals may carry out the installation of bathtubs with electrical fixtures. Installation must be carried out in accordance with safety regulations.
A 3 meters long, 3 x 2,5 mm thick MTK cable must be installed behind the bathtub’s body, at least 300 mm above the floor!
An equipotential bonding grid (EPH) must be installed in the vicinity of the device!
Using a plug for the electrical connection is expressly forbidden!
You can find the exact locations of the fixtures on the attached connection diagram! - Flare connection
During transportation, the flare connections found at the engine connections may become loose. Check them before using the product!
When transporting or moving hydro-massage bathtubs with a bubble bath function test the bubble bath system, then remove the flare connection, so that no water remaining in the pipes may reenter the engine. Reattach the flare connection before operating the product!
FAUCET (OPTIONAL)
Wellis faucets are only to be used with drinking water and hot water systems!
Technical conditions:
Supply pressure must be between 1 and 5 bars! If the supply pressure is over 5 bars, you must install a pressure relief valve!
Maximum hot water temperature: 80 °C
Recommended hot water temperature: 65 °C
Faucets must be installed and set up by qualified professionals!
Installation certified by a qualified professional is required for guarantee claims to be valid!
We recommend installing a fine filter into the water system in order to avoid pollutants entering the system, thus maintaining the integrity of the faucet!
The warranty does not cover damages caused by limescale deposits!
If we find any signs of pollution inside the product during a repair of the faucet, the warranty is considered void!
OPERATING A BATHTUB EQUIPPED WITH A HYDRAULIC SYSTEM
Adjust the temperature and fill the bathtub with water!
The bathtub must be filled with water 2 cm over the upper edge of the upmost jet! Turn the pump on using the pneumatic or electrical switch. Water should start flowing through the jets. Use the air-enrichment valve to let the desired amount of air into the water to fine-tune the optimal water-air mixture (The more air you add to the water jets, the more forceful the massage becomes).
Start with a short massage and gradually adjust the duration.
This will focus the massage potential of the water to the open jets. Please note that closing all the jets and obstructing water flow may lead to the engine overheating the function switching off.
Turn off the massage system before getting out of the bathtub – the water level may have dropped due to overflow, meaning that the water may not cover the uppermost jet!
Warnings
- The motor is protected against overload by a thermal cutout (so-called klaxon).
- Switch off the main power switch before performing any repairs, adjustments or cleaning.
- Filtering of the water must be ensured! Faucets with ceramic are very sensitive to small impurities found in drinking water, such as sand, metal shavings, etc.
- Cardiac patients, people with hypertension, and people with poor overall health should consult their doctor before using the product.
- A young child under 14 years of age may only use and operate products equipped with a hydromassage system under parental supervision. Wallis Magyarország Ltd is not liable for any claims whatsoever arising from improper use.
- If you are under the influence of alcohol or drugs, hot water can cause loss of consciousness!
- Do not stay in the bath for a prolonged period during pregnancy because hot water can damage your baby’s
health! You may stay up to 10 minutes in the tub at a time! - Never place any operating electrical equipment within the 2-meter radius of the bath!
Operating the pneumatic start buttons (for Hydro system)
If your hydro massage bath does not have an electrical control system, then, in accordance with your configuration, you will find one (Hydro) start button on the flange of the bathtub. The buttons are used for the control of the massage and bubble bath functions. A single push of the button starts the function, the second push shuts it down. For both systems turning the air-enrichment valve located on the flange of the bathtub will boost the massage function by letting more air into the system.
Operating the E-Drive, E-Max
If your hydro massage bathtub is equipped with an E-Drive, E-Max system you will see the control unit pictured below. Use the 4 buttons of the control unit to control the product’s functions.

The lower row of the display features the bathtub’s function icons:
![]() | Radio | ![]() | Water heating function |
![]() | Hydromassage | ![]() | Lighting |
![]() | Ozone generator | ![]() | Bubble bath function |
Using the control unit’s buttons the bathtub functions can be adjusted as per the following. If you do not use the unit, it automatically locks its buttons. It can be unlocked by pushing and holding the OK button.
The control buttons
Power button
Push the button to turn the system on. Push and hold the button for 3 seconds to turn the system off. Both procedures are followed by an audio prompt.
Function button
Push the button to turn the selected function on. Push and hold the button for 3 seconds to turn it off.
Cursor buttons
Use the cursor buttons to select the desired function, or to change the function settings.
Using the functions
- Radio function (E-Max functions only)
Select the icon and push the OK button to turn the radio on/off.
The radio function menu item has 3 sublevels. You can choose between them by shortly pushing the power button.
Frequency; Volume (1-20 vol.); Channel (1-18 ch.)
Frequency menu item settings:
After activating the radio function, you can access the frequency settings by shortly pushing the power button once. Use the left (lower) and right (higher) cursor buttons to adjust the frequency.
Volume menu item settings:
After activating the radio function, you can access the volume settings by shortly pushing the power button twice. Use the left (lower) and right (higher) cursor buttons to adjust the volume. You can adjust the volume within the 1 – 20 range.
Channel menu item settings:
After activating the radio function, you can access the channel settings by shortly pushing the power button three times. Use the left (down) and right (up) cursor buttons to switch between the channels.
Saving to memory:
After activating the radio function, shortly push the power button four times. The channel number will start flashing. Use the left (down) and right (up) cursor buttons to switch between the channels (1-18). After selecting the channel, save the set frequency by pushing the OK button. - Ozone function
Use the cursor to select the ozone generator icon. Push the OK button to activate the system. The system will run for 10 minutes. After 10 minutes have passed, the system automatically shuts down. You can manually disable the system at any time by pushing the OK button.
The molecules produced by the ozone generator disinfect the water in the bathtub. - Lighting function
Press the OK button to activate the cursor. The cursor will start flashing. Move the cursor to the lighting icon and press the OK button. Pushing the button multiple times adjusts the color. After reaching the end of the color options, pushing the button turns off the lighting. If you would like to turn the lights back on, push the OK button again. - Hydromassage function
If the bathtub is already filled with water, at least to the minimal level dictated by the water level detector, you can start the massage engine by using the cursor buttons to select the function and pushing the OK button.
Press the OK button again to turn the massage function off.
For security reasons, the function is automatically turned off after 15 minutes of operation. If you would like to continue using the function, push the button again to switch it on.
Turning the air-enrichment valve located on the flange of the bathtub will boost the massage function by letting more air into the system. - Water heating function (E-Max functions only)
This function is only accessible when the massage function is on.
Use the cursor to select the water heating icon, then push the OK button to start the function. The heating temperature is not adjustable. When the desired temperature has been reached, push the OK button again to turn the function off. For security reasons, the function is automatically turned off after reaching 40°C. If you turn the massage function off, the water heating function is automatically turned off.
If the temperature sensor malfunctions, the system emits a warning sound and the water heating function becomes unavailable. If this happens, please contact a service center. - Bubble bath function
Use the cursor buttons to select the bubble bath icon and push the OK button. Push the button again to turn off the function.
For security reasons, the function is automatically turned off after 15 minutes of operation. If you would like to continue using the function, push the button again to switch it on.
Bathtubs equipped with the E-Plus, E-Drive, E-Max system have an automatic drying function. If the water level falls below the minimum value after 10 minutes, the aeration engine is turned on, the pipes are dried, and the function automatically turns off after 10 minutes.
PERFECT RELAXATION
The ideal bathroom serves not only for hygiene but provides relaxation and health while ensuring that you leave in a great mood. Hungary has a centuries-old spa culture. Take advantage of this tradition and enjoy its benefits in Your home. By purchasing this hydro massage bathtub You gain access to a healthier lifestyle!
The hydro massage bathtub provides refreshing massages, just relaxes your muscles, and enjoy the pleasurable power of the waterjets! The joint flow of water and air gives not only pleasure but therapeutic benefits as well. The relaxation of muscles and the stimulation of blood circulation around the heart is not only delightful, but it contributes to the breakdown of waste matter, thus improving health. A proper blood supply to cells, tissues, and bones prevents calcification and bone attrition.
The bathtub uses jets to massage every part of your body. We especially recommend massaging the neck, shoulders, and back muscles, since these body parts are strained daily and are under a lot of stress. Desk work similarly adversely affects these muscle groups. There are few more effective methods for treating muscle soreness and minor pains of the muscles than hot water hydro-massage! At the end of a hard day, waterjets imperceptibly reduce stress and relax the muscles, giving the feeling of a potent, professional massage.
With the bubble bath function, upward flowing bubbles provide an exclusive pleasure. You can enhance relaxation by taking advantage of the integrated Hi-Fi system. Turn on the bubble bath function and put on some pleasant music! Set the water temperature between 33 and 38°C!
By turning on the bubble bath function you activate a whole-body massage. At any stage of the massage, you can use the air-intake controller to fine-tune the power of the waterjets (or, instead, you can turn on the automatic massage-intensity controller). Start with a low setting, then, when your muscles are sufficiently relaxed, move on to higher settings. On occasion, try to spend more than half an hour in the bathtub, using the hydro-massage and bubble bath functions!
Use bath oils as often as possible. Bath oils hydrate, soothe, and grease the skin. Their aromatic properties have beneficial effects on the psyche. The more serene atmosphere will enhance the calming effects of the bubble bath and massage.
TROUBLESHOOTING
If you experience any malfunctions, please take a look at the sheet below before contacting a repairman:
| 1. The pump is not starting: | |
| Incorrect power supply | → The voltage of the power grid and the engine must be equal. |
| The thermal trip switch was activated | → Try starting the unit in a few minutes. If you are unsuccessful, contact a service center! |
| The vacuum tube slipped off of the pneumatic switch or the engine | → Check and put back the thin silicone tube onto the engine or switch. |
| No power supply | → Check to see if it is on. |
| The pump is stuck | → Contact a service center! |
| 2. The pump is not carrying water: | |
| There is not enough water in the system | → The water level must reach over the jets, but should be below the overflow |
| 3. Insufficient water flow, the pump is noisy: | |
| The jets are closed, the pipes are blocked | → Clean the system with a pipe disinfection system |
BATHTUB MAINTENANCE
About once a month, clean the bottom side of the showerhead with a soft brush. This will ensure the proper operation of the showerhead. If there are limescale deposits on the showerhead, wash it with lukewarm vinegar water. Do not use abrasive materials (e.g. scouring powder) or corrosive chemicals (e.g. thinners, acetone, hydrochloric acid, or any derivatives of these) when performing maintenance. The manufacturer accepts no liability for damages due to improper cleaning. The only proper way to perform cleaning is to use dedicated cleansing products.
Bathtub body and front and side covers
Wipe the surface with a damp cloth. Always use a neutral detergent (not abrasive) and a soft cloth. Do not scratch the acrylic surface with an abrasive tool, blade or knife, as this may result in damage. Do not use nail polish remover, acetone, or paint remover when cleaning the surface, as this may cause damage.

WARRANTY CARD
Serial number: ………………………………………………………
Type: …………………………………………………………………
Name of the installer: …………………………………………………
Date of the installation: ………………………………………………
Wholesaler Day of purchase: _________________________ | Retailer Day of purchase: _________________________ |
WARRANTY
Product warranty period
Export warranty:
10 years for the bathtub shell:
Willis offers a 10-year warranty for water loss in the bathtub shell, i.e. In case, there is a loss in its applicability, not its appearance.
3 years for the bathtub surface:
The warranty is offered for the acrylic bathtub (breakage not due to physical impact) in case of blistering, unsticking – or for manufacturing defects from the date of delivery
2 years for the bathtub piping system – if a Wellis service installed it:
We offer a two-year warranty from the original delivery date for the bathtub plumbing fixtures leakage – due to the material of manufacturing defects.
1 year for the bathtub piping system – if the installation was not done by a Wellis service:
We offer a one-year warranty from the original delivery date for the bathtub plumbing fixtures leakage – due to the material of manufacturing defects.
1-year warranty for the following parts:
- Tap sets: tap operation without leakage, ceramic insertion, tap house!
- led lights
For the bathtub’s electronic systems – due to the material of manufacturing defects. – for one year from the original delivery date.
The warranty does not cover fuses, light bulbs, plugs, and bearings.
90 days for the pillow
The pillows are exposed to the chemical effects of water but we offer a ninety-day warranty from the original delivery date.
Warranty conditions
If the warranty ticket is not filled out properly or it is not given to the customer, that does not affect the warranty validity.
- The installation certificate provided by an installation technician is essential for warranty validity.
- Electronic connection All the electronic connections have to be made by an electrician. Failure to do so will immediately void the warranty. The bathtub must be connected to a separate circuit with a circuit breaker and a life safety relay! Having the Protection Protocol is not necessary!
- This warranty does not cover cleaning and scaling and the damages occurring due to unintended use.
- Wells reserves the right to replace the bathtub or the parts, with new or factory-quality manufactured parts!
- Wallis undertakes no responsibility for damages that occurred due to alteration, modification done by the customer!
- The radio receipt quality is not covered by the warranty because of the following provision: The radio receipt can deteriorate because of the devices, high voltage grids, transmission towers, and other metal structures in its vicinity. The receipt quality can deteriorate if the receipt place is out of the radio station broadcasting range. Outside receipt support may be necessary, but that is not covered by the warranty.
- Wells shall not be liable for any incidental or consequential damages. All costs, including the foregone use, damages, and contingent liabilities related to alleged shortcomings are excluded from the warranty.
- When installing the bathtub mounting holes need to be provided! The demolition work shall be borne by the customer if they are not provided!
- When installing a hydro-massage bathtub a ventilation duct of min.100 cm² needs to be built! If this is not provided, you lose the warranty!
- To perform the warranty work that may arise, it is the customer’s obligation to provide access: in case of a built-in bathtub with the appropriate mounting holes, in case of replacement with taking out the bathtub that is why we do not recommend the installation of a fixed cover!
Reasons for the exclusion of warranty claims
The following points do not belong expressly within the warranty:
- Using underfloor heating under a hydro-massage bathtub is prohibited!
- During the transportation of the bathtub, it is prohibited to lift it holding the fittings, pips, decor frame or glass!
- Damages due to unprofessional water handling and chemical dosage.
- Damages due to foreign substances in the jet.
- Faulty operation because of foreign substances in the tap handlers or limescale buildup.
- Damage caused by wear due to usage!
- If the damage is due to force majeure inappropriate installation, movement, negligence.
- If the bathtub surface is damaged or its color changed because of inappropriate chemicals. Certain household cleaners can damage the equipment, thus the warranty becomes void.
- Damage caused by the operation of the bathtub if the water temperature is more than 40 Celsius.
- Damage due to vandalism, misuse or in the event of modification that was not approved by the company The warranty does not cover the pump seals.
- Damage which occurred due to improper electrical installation, electrical voltage, electrical voltage peaks.
- A floor drain must be built.
If during operation there is malfunctioning, the water in the bathtub can flow away. To avoid this damage, a proper floor drain has to be built in the room, where the product is installed! If this was not done, in case of water leakage damages we do not assume liability according to the (1) paragraph of Ptk. 340.§. The harmed party is obliged to act, as is generally expected in the given situation in order to eliminate the damage and lessen it. The part of the damage, which occurred from the fact that the injured party did not comply with this obligation shall not be reimbursed.
Scope of the warranty
Wellis shall decide whether the faulty product shall be repaired or replaced. In case of replacement, it has to be in the same amount!
The fault is not covered by the warranty if it occurred after the customer has received the product, for example, if the fault
– is due to improper installation (unless the installation was done by the retailer or their agent, furthermore if the improper installation happened due to a mistake in the user manual)
– due to unintended use, ignoring the contents of the user manual
– due to improper storage, improper handling, vandalism,
– caused by a natural disaster
In case of a fault covered by warranty the customer
– firstly – according to their choice –shall ask for repair or replacement, unless, the chosen warranty claim cannot be fulfilled, or if compared with the other warranty claim the distributor would have disproportionate additional costs.
– if they have no right for repair or replacement, or if the distributor does not want to undertake the repair or the replacement, or they can not do it in the given deadline without causing the customer significant inconvenience, the customer
– according to their choice
– shall rescind the contract or claim a price reduction. Cancellation due to insignificant errors is not possible.
If the customer demand validates replacement within three working days from the date of purchase due to product failure, the distributor can not rely on disproportionate additional costs but is obliged to replace the product, provided that the failure was not caused by misuse.
Any repair or replacement – by paying attention to the product’s properties and expected use by the consumer – shall be carried out within a reasonable period of time, without causing the customer significant inconvenience. The distributor shall strive to carry out the repair or replacement within fifteen days.
If the distributor does not undertake to repair the product within a reasonable period of time or does not complete it by then, the customer is allowed to fix the problem at the expense of the distributor.
During repair only new parts can be put into the product.
The reassessment period, during which the consumer cannot properly use the product is not included in the warranty period. The warranty period starts again for the replaced (repaired) product (product part) in case of replacement of the product or major parts (repair) and if there is a fault after the repair the warranty period starts again.
Costs related to compliance with the warranty obligations and contractual conditions – in particular when it comes to materials, labor and transmission costs – are borne by the distributor.
Products that have fixed wiring or the ones that are more than 10 kg or products that cannot be transported in hand on public transport – vehicles are excluded – have to be repaired at the operating site. If the repair operation cannot be performed at the operating site, the mounting out and back, furthermore the pick-up and return delivery shall be provided by the distributor.
This warranty does not affect the enforcement of consumers’ legal rights – especially the ones referring to warranty and damages. The warranty claim can be enforced with the warranty card. In the absence of a warranty card if the consumer wishes to assert a warranty claim the conclusion of a consumer contract should be regarded as proven if the customer presents proof of payment. The customer shall assert their warranty claim at the distributor.
The consumer may demand repair at the following service(s). (Service listing is optional.)
When the distributor or the service takes over a product to be repaired, they shall hand out a receipt according to GKM order 5. §.
BLED

DUBLO


MALAWI


MATANA


NERA MAXI


RHONE

TERAMO

TIVOLI

HURON

MAR0542
























