RAB SHARK-2FT Shark LED Vapor Tight Fixture

RAB Lighting is committed to creating high-quality, affordable, well-designed, and energy-efficient LED lighting and controls that make it easy for electricians to install and end users to save energy. We’d love to hear your comments. Please call the Marketing Department at 888-RAB-1000 or email: [email protected].
Overview

IMPORTANT
READ CAREFULLY BEFORE INSTALLING THE FIXTURE. RETAIN THESE INSTRUCTIONS FOR FUTURE REFERENCE. RAB fixtures must be wired in accordance with the National Electrical Code and all applicable local codes. Proper grounding is required for safety. THIS PRODUCT MUST BE INSTALLED IN ACCORDANCE WITH THE APPLICABLE INSTALLATION CODE BY A PERSON FAMILIAR WITH THE CONSTRUCTION AND OPERATION OF THE PRODUCT AND THE HAZARDS INVOLVED.
WARNING:
Make certain power is OFF before installing or maintaining the fixture. No user-serviceable parts inside.
CAUTION:
For proper weatherproof function, all gaskets must be seated properly and all screws inserted and tightened firmly. Apply weatherproof silicone sealant around the edge of the ceiling mounting box and/or junction box. This is especially important with an uneven ceiling surface. Silicone all plugs and unused conduit entries.
SURFACE MOUNTING
The fixture is suitable for outdoor applications in wet locations either ceiling or wall mounted.
- Use appropriate mounting screws (not supplied) to secure the Surface Mounting Brackets (2 included) to Mounting Surface. Recommended Surface Mounting Brackets distance center to center is 14-5/8” (for SHARK2) and 37” (for SHARK4).
NOTE: Mount Surface Mounting Brackets (2) are symmetrical about the center of the fixture and aligned with each other. - Unlatch the Lens and Tray Assembly from Housing.
Pre-installed Tether Cables (2) will prevent Lens and Tray Assembly from falling down as shown in Fig. 1.
- Feed supply wires through one of the Conduit Plugs (3) to make electrical splices. Cord-grips (2) are provided and can be used based on the application.
- Use appropriate UL-approved wire connectors as required by code to complete wiring with supply wires. Be careful not to pinch the wires.
WARNING: To prevent wiring damage or abrasion, do not expose wiring to the edges of sharp objects. - Secure the Lens and Tray Assembly to Housing by clamping Latch down. Be careful not to pinch the wires. Check that the Gasket is fully seated.
- Push the Housing into Surface Mounting Brackets (2) as shown in Fig. 2. Ensure that the Housing is secure to Surface Mounting Brackets (2).

- Use silicone or teflon tape on all Conduit Plugs and on the threads of all conduit entry points. If the outdoor surface is irregular, use caulk to seal any gaps around Housing.
NSF COMPLIANCE
To comply with NSF, apply silicone to the “X” drive on all plugs and any unused bracket mounting holes as shown in Fig. 3. Use food-grade silicone such as Dow Corning 732.
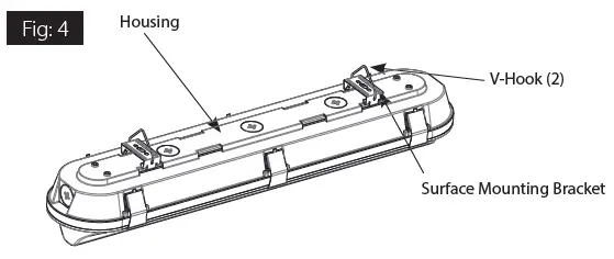
V-HOOK MOUNTING
(V-Hook for Chain Mounting included)
- Secure Surface Mounting Brackets (2) to Housing as shown in Fig. 4. WARNING: Surface Mounting Brackets must be mounted to Housing.
- Loop V-Hook (2 included) on Surface Mounting Bracket (2) as shown in Fig. 4.

- To suspend Housing, connect each V-Hook to two (2) equal lengths of chain (not supplied) and/or appropriate hardware (by others) suitable for the mounting surface. Chains must be suitable to support four (4) times the weight of the fixture.
TAMPERPROOF MOUNTING
Tamper Proof Bracket Accessory (TPKSHARK-G2 ordered separately)
- Use appropriate mounting hardware (not supplied) to secure the TPKSHARK-G2 Bracket (2) to Mounting Surface.
- Recommended TPKSHARK-G2 Bracket distance center to center is 12 7/8″ for SHARK 2ft and 36 13/16″ for SHARK 4ft.
- Push Housing into TPKSHARK-G2 Bracket (2) as shown in Fig. 5. and fasten onto Lens Groove.
- Secure Housing onto TPKSHARK-G2 Bracket with provided Screws (2 per Bracket) using star head T25 Drive as shown in Fig. 5.

JUNCTION BOX MOUNTING
Junction Box Bracket Accessory Fig. 6 (JBSHARK-G2 ordered separately)
- Use appropriate mounting hardware (not supplied) to secure the JBSHARK-G2 Bracket to Mounting Surface or Junction Box (supplied by others). Check that the Gasket is fully seated. Use Cord Grip provided to feed supply wires into the fixture.
- Recommended JBSHARK-G2 Bracket distance center to center is 6 3/4″ for SHARK 2ft and SHARK 4ft.
- Use appropriate UL-approved wire connectors as required by code to complete wiring with supply wires. Be careful not to pinch the wires.
- Push Housing into JBSHARK-G2 Bracket to secure fixture to Mounting Surface as shown in Fig. 7.

ANGLE SURFACE MOUNTING
Angle Surface Mounting Brackets Fig. 8 (ANGSHARK-G2 ordered separately)
- Use appropriate mounting hardware (not supplied) to secure the Angle Bracket (ANGSHARK-G2) (2) to the mounting surface as shown in Fig. 8.
- Recommended Angle Bracket distance center to center is 12 7/8” for SHARK 2ft and 36 13/16” for SHARK 4ft.
- Secure Surface Mounting Brackets (2) to Angle Bracket (2) with Screws provided.
- Snap Housing on Surface Mounting Brackets (2) as shown in Fig. 9.

0-10V DIMMABLE WIRING
Universal voltage driver permits operation at 120V thru 277V, 50 or 60 Hz. Units ordered with (/480V) suffix are 480V, 50Hz or 60Hz. For 0-10V Dimming, follow the wiring directions in Fig. 10.
- Connect the black fixture lead to the LINE supply lead.
- Connect the white fixture lead to the COMMON supply lead.
- Connect the GROUND wire from the fixture to the supply ground. Do NOT connect the GROUND of the dimming fixture to the output.
- Connect the purple fixture lead to the (V+) DIM lead.
- Connect the gray fixture lead to the (V-) DIM lead.
- Cap the yellow fixture lead, if present. Do NOT connect.

TROUBLESHOOTING
- Check that the line voltage at the fixture is correct. Refer to wiring directions.
- Is the fixture grounded properly?
CLEANING & MAINTENANCE
CAUTION: Be sure the fixture temperature is cool enough to touch. Do not clean or maintain while the fixture is energized.
- The lens should be washed in a solution of warm water and any mild, non-abrasive household detergent, rinsed with clean water, and wiped dry.
WARNING: Polycarbonate is affected by cleaning agents or other liquids containing partial solvents such as low molecular weight aldehydes and ethers, ketones, esters, aromatic hydrocarbons, and perchlorinated hydrocarbons. In addition, chemical attack ranging from partial to complete destruction of polycarbonate occurs in contact with alkalines, alkali salts, amines, and high zone concentrations. Please go to rablighting.com for a detailed list of damaging chemicals. - Do not open the fixture to clean the LED. Do not touch the LED.
WIRING
- CAUTION: FOR BATTERY BACKUP FIXTURE. The voltage could be present in BATTERY. To prevent high voltage from being present on output leads, the inverter connector must be open. Do not join the BATTERY connector until installation is complete and AC power is supplied to the emergency driver (Fig. 11).
- NOTE: Make sure that the necessary branch circuit wiring is available. An UNSWITCHED AC source of power is required. The emergency driver must be fed from the same branch circuit as the LED driver.
- CAUTION: Do not use any supply voltage other than 120-277V 50/60 HZ.
- Connect the UNSWITCHED HOT fixture lead to the HOT AC supply line.
- If using an UNSWITCHED circuit, connect UNSWITCHED and SWITCHED lines together.
- If using a SWITCHED circuit, connect SWITCHED HOT AC fixture lead to the external SWITCHED.
- Connect the NEUTRAL fixture lead to the NEUTRAL supply line.
- For 0-10V Dimming, connect DIM (+) and DIM (-) to the supply DIM (+) and DIM (-).
- Connect the GROUND lead from the fixture to the supply ground. Do not connect GROUND to the output leads.
- All unused lead must be capped and insulated.
- After installation is complete, supply AC power to the fixture and connect the BATTERY.
- When power is on, the fixture should be on and the Charging Indicator Light should illuminate to indicate the battery is charging.
- Once the BATTERY has been charged for at least one hour, a short-duration test may be performed by pressing the test button.
- After the battery has been charged for 24 hours, a long-duration test can be performed by shutting the power to the fixture.

OPERATION
- When AC power is applied, the charging indicator light is illuminated, indicating that the BATTERY is being charged.
- When power fails, the standby power automatically switches to emergency power (internal battery), operating at reduced illumination. Not all LED boards will illuminate with standby power. The emergency driver supplies 25W of power in standby power for a minimum of 90 minutes.
- When AC power is restored, the emergency driver automatically returns to charging mode.
MAINTENANCE
Although no routine maintenance is required to keep the emergency driver functional, it should be checked periodically to ensure that it is working. The following schedule is recommended:
- Visually inspect the charging indicator light monthly. It should be illuminated.
- Test the emergency operation of the fixture at 30-day intervals for a minimum of 30 seconds.
- Conduct a 90-minute discharge test once a year. The fixture would operate at reduced illumination for a minimum of 90 minutes.
TROUBLESHOOTING
- Is the fixture grounded properly?
- If the charging indicator light does not illuminate after pressing the test button, check if the battery is connected properly.
Note:
These instructions do not cover all details or variations in equipment nor do they provide for every possible situation during installation, operation or maintenance.
Easy Answers
rablighting.com
Visit our website for product info
Tech Help Line
Call our experts: 888 722-1000
e-mail
Answered promptly – [email protected].
Free Lighting Layouts Answered online or by request
RAB WARRANTY
RAB’s warranty is subject to all terms and conditions found at rablighting.com/warranty.
© 2020 RAB LIGHTING Inc.
Northvale, New Jersey 07647 USA
SHARK 2FT 4FT IN 0120
73674-RAB.


























