SILVeR MonKey QC-AC20W-SM 20W PD Charger

SAFETY INFORMATION
- Use the charger only for its intended purpose. Incorrect use may involve risks, for example: explosion, fire or another hazard.
- Avoid direct contact of the product with a heat source, sunlight, corrosive substances, dust and moisture.
- The charger case may become warm during use. This is normal and not a product defect.
- Do not try to open and repair this product yourself.
- Do not drop or subject the charger to physical shock. Do not place any heavy objects on it.
- Clean the product with a soft, clean and dry cloth.
- If the product stops working properly – please contact us.
WHAT YOU’LL FIND IN THE PACKAGE
- 20 W charger with Power Delivery function
- User 1 s guide
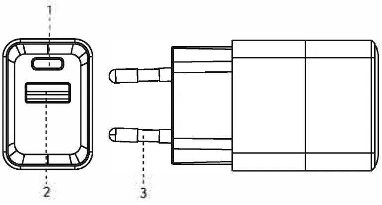
PURPOSE AND CONSTRUCTION OF THE CHARGER
This charger is designed to charge electronic devices with a maximum power of 20 W. Thanks to it, you can charge two devices at the same time.
- USB- C’ output
- USB-A port
- Plug

HOW TO USE THE CHARGER
- Connect the cable that fits your charger.
- Plug the charger into a wall socket.
- Connect the device you want to charge with the cable to the charger.
TECHNICAL SPECIFICATIONS

WARRANTY AND TECHNICAL SUPPORT
Your charger has 24 months of manufacturer’s warranty. You can find more information on our website www.silvermonkey.com/support.
If you have questions about using the product contact us at [email protected].
Manufacturer:
Silver Monkey sp. z o.o.
ul. Twarda 18
00-105 Warszawa
Poland
DISPOSAL AND THE EU COMPLIANCE STATEMENT
As a manufacturer of this equipment, we declare that it meets the requirements of the relevant EU directives. If you need a copy of the declaration of conformity, please contact us. Do not dispose of this equipment with other A waste. The materials from which the equipment is – made can have a negative impact on the environment and human health if the product is not disposed of properly. Dispose of the used equipment to an appropriate collection point for electronic waste. USB Type-C., and USB-C’ trademarks are registered by USB Implementers Forum.


















