DOMUS FLAUNT-PDT-BLK Glass Pendant 240V Instructions
Introduction
Thank you for purchasing your new FLAUNT Pendant Light,
Please take the time to read and understand the instruction sheet below.
Failure to do so may void warranty
FLAUNT-PDT
Variants | ||||
| Opal | Clear | Smoke | Item No | Lamp Base |
| 22739 | 22738 | 22737 | FLAUNT-PDT-BL | E27 |
| 22742 | 22741 | 22740 | FLAUNT-PDT-SBR | |
| 22745 | 22744 | 22743 | FLAUNT-PDT-SCH | |
Specifications
- Voltage: 240V
- Power: 25W LED Max
- IP Rating: 20
- Lamp Base: E27
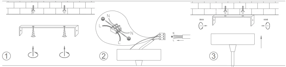
Assembly Instruction


Note:
- The lamp must be installed by professional electrician
- Ensure the power supply is switched off before fitting this product
- Do not touch the lamp when in use
- Keep away from hot steam and corrosive gas
CUSTOMER SUPPORT
29-31 Richland St. Kings grove. Sydney NSW 2208 Australia
Phone: 02 9554 9600 | Fax: 02 9554 9433
[email protected] | www.domuslighting.com.au













