
Cleaning
RoboVac L35 Hybrid
Owner’s Manual
Thank you for purchasing RoboVac. Carefully read all the instructions below before using this device, and keep this manual for future reference.
Important Safety Instructions
To reduce the risk of injury or damage, keep these instructions at hand when setting up, using, and maintaining this device.
WARNING SYMBOLS USED
This is the safety alert symbol. This symbol alerts you to potential hazards that could result in property damage and/or serious bodily harm or death.
- This device can be used by children aged from 8 years and above and persons with reduced physical, sensory or mental capabilities or lack of experience and knowledge if they have been given supervision or instruction concerning use of this device in a safe way and understand the hazards involved.
- Children should be supervised to ensure they do not play with this device.
- Cleaning and maintenance shall not be performed by children without adult supervision.
- This device is only to be used with the power supply unit provided.
- Before cleaning or maintaining this device, the plug must be removed from the outlet.
- The battery in this device should only be replaced by a skilled professional.
- Before removing the battery, disconnect the device from its power supply.
- To recharge the battery, only use the detachable adapter (US/CA: NLD100240W1A4; UK: NLD100240W1E4; EU: NLD100240W1U4; AU: NLD100240W1S4) provided with this device.
- The battery must be removed before this device is disposed of. To remove the battery, first unscrew the screws on the bottom, then remove the back cover. Remove the battery by disconnecting the quick connector.
- The used battery should be placed in a sealed plastic bag and disposed of safely according to local environmental regulations.
- The external flexible cable or cord of the power supply unit cannot be replaced; if the cord is damaged, the power supply unit should be disposed of.
- This device is for indoor use only.
- This device is not a toy. Do not sit or stand on this device.
Small children and pets should be supervised when this device is operating. - Store and operate this device in room temperature environments only.
- Do not use this device to pick up anything that is burning or smoking.
- Do not use this device to clean up spills of bleach, paint, chemicals, or anything wet.
- Before using this device, pick up objects like clothing and loose paper. Lift up cords for blinds or curtains. Move power cords and sharp, pointed, or fragile objects out of the way. If this device passes over a power cord and drags it, an object could be pulled off a table or shelf.
- If the room to be cleaned has a balcony, a physical barrier should be used to prevent access to the balcony and to ensure safe operation.
- Do not place anything on top of this device.
- Be aware that this device moves around on its own. Take care when walking in the area where this device is operating to avoid stepping on it.
- Do not operate this device in areas with exposed electrical outlets on the floor.
- Do not expose the electronics of this device, its battery, or the integrated Charging Base. There are no user serviceable parts inside.
- Do not use this device on an unfinished, unsealed, waxed or rough floor. It may result in damage to the floor and this device. Use only on hard floor surfaces or low-pile carpets, and not on carpets with tasseled edges or loose threads.
- This device has been designed to be used on floors without scratching them. We still recommend that you test this device on a small area of the room to be cleaned to ensure no scratches are made before cleaning the whole room.
- Only use attachments recommended or described in this manual.
- Do not handle the device or plug with wet hands.
- Ensure that the dust box and/or filters are correctly in place before use.
- Do not use a battery pack or device that is damaged or modified. Damaged or modified batteries may exhibit unpredictable behavior resulting in fire, explosion, or risk of injury.
- Do not expose the battery pack or device to fire or excessive heat. Exposure to fire or temperatures above 130°C / 266°F may cause an explosion.
- Do not modify or attempt to repair the device or the battery pack, except as indicated in the instructions for use and care.
- Follow all charging instructions and do not charge the battery pack or device outside of the temperature range specified in the instructions. Charging improperly or at temperatures outside of the specified range may damage the battery and increase the risk of fire.
- The laser distance sensor of this device meets the standards for Class I Laser Products in IEC 60825-1:2014 and will not generate hazardous laser radiation.
Notice
This symbol on the device or its packaging indicates:
Do not dispose of electrical appliances as unsorted municipal waste; use separate collection facilities. Contact your local authority for information regarding the collection systems available. If electrical appliances are disposed of in landfills or dumps, hazardous substances can leak into the groundwater and get into the food chain, damaging your health and well-being. When replacing old appliances with new ones, the retailer is legally obliged to take back your old appliance for disposal at least free of charge.
FCC Statement
This device complies with Part 15 of the FCC Rules.
Operation is subject to the following two conditions:
(1) This device may not cause harmful interference, and
(2) this device must accept any interference received, including interference that may cause undesired operation.
Warning: Changes or modifications not expressly approved by the party responsible for compliance could void the user’s authority to operate the equipment.
Note: This equipment has been tested and found to comply with the limits for a Class B digital device, pursuant to Part 15 of the FCC Rules. These limits are designed to provide reasonable protection against harmful interference in a residential installation.
This equipment generates, uses, and can radiate radio frequency energy and, if not installed and used in accordance with the instructions, may cause harmful interference to radio communications. However, there is no guarantee that interference will not occur in a particular installation. If this equipment does cause harmful interference to radio or television reception, which can be determined by turning the equipment off and on, the user is encouraged to try to correct the interference by one or more of the following measures: (1) Reorient or relocate the receiving antenna. (2) Increase the separation between the equipment and receiver. (3) Connect the equipment into an outlet on a circuit different from that to which the receiver is connected. (4) Consult the dealer or an experienced radio / TV technician for help.
The following importer is the responsible party (for FCC matters only).
Company Name: POWER MOBILE LIFE, LLC
Address: 400 108th Ave NE Ste 400, Bellevue, WA 98004-5541
Telephone: +1 (800) 994 3056
RF Exposure Compliance Statement
This equipment complies with FCC/IC radiation exposure limits set forth for an uncontrolled environment. This equipment should be installed and operated with a minimum distance of 20 cm between the radiator and your body.
ISED Compliance Statement
This device contains licence-exempt transmitter(s)/ receiver(s) that comply with Innovation, Science and Economic Development Canada’s licence-exempt RSS(s). Operation is subject to the following two conditions:
- This device may not cause interference.
- This device must accept any interference, including interference that may cause undesired operation of the device.
Declaration of Conformity
This product complies with the radio interference requirements of the European Community. Hereby, Anker Innovations Limited declares that the radio equipment type T2194 is in compliance with Directive 2014/53/EU. The full text of the EU declaration of conformity is available at the following website: https://support.eufylife.com/s/articleRecommend?type=DownLoad.
Maximum output power: 18 dBm (For EU)
Frequency band: 2.4G band (2.4000GHz – 2.4835GHz)
GB Declaration of Conformity
Hereby, Anker Innovations Limited declares that the product type T2194 is in compliance with Radio Equipment Regulations 2017 and The Restriction of the Use of Certain Hazardous Substances in Electrical and Electronic Equipment Regulations 2012. The full text of the GB declaration of conformity is available at the following website: https://support.eufylife.com/s/articleRecommend?type=DownLoad.
The following importer is the responsible party (contract for EU and UK matters)
Anker Technology (UK) Ltd | GNR8, 49 Clarendon Road, Watford, Hertfordshire, WD17 1HP, United Kingdom
Anker Innovations Deutschland GmbH | Georg-MucheStrasse 3, 80807 Munich, Germany
Anker Innovations Limited | Room 1318-19, Hollywood Plaza, 610 Nathan Road, Mongkok, Kowloon, Hong Kong
Trademark Notice
- Amazon, Echo, Alexa and all related logos are trademarks of Amazon.com, Inc. or its affiliates.
- Apple and the Apple logo are trademarks of Apple Inc., registered in the U.S. and other countries. App Store is a service mark of Apple Inc., registered in the U.S. and other countries.
- Google Play and the Google Play logo are trademarks of Google Inc.
- Google Home is a trademark of Google Inc.
About Your RoboVac
What’s in the Box

RoboVac Charging Base Power Adapter
![]()
Side Brushes (×2) Mopping Module Cleaning Tool

Waterproof Pad Owner’s Manual & Other Documents
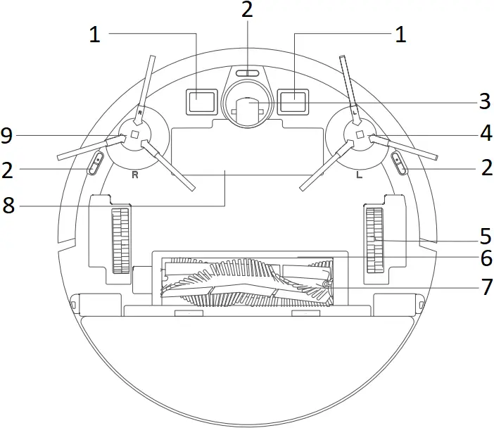
RoboVac Anatomy
A. Top

• Press to start or pause cleaning.
• Press and hold for 3 seconds to turn on or off.
• Press to return to the Charging Base or pause.
• Press and hold for 3 seconds to enable / disable the child safety lock.- • Laser distance sensor (LDS)
![]()
Press and hold both buttons for 3 seconds to reset Wi-Fi connection.
B. Side

- Bumper
- Force shutdown button
- Mopping module
- Dust box and water tank release button
- Dust box and water tank (2-in-1)
C. Bottom

- Charging contact pins
- Drop sensor
- Swivel wheel
- Left side brush
- Wheels
- Brush guard
- Rolling brush
- Battery cover
- Right side brush
D. Dust Box and Water Tank (2-in-1)

- High-performance filter
- Foam filter
- Filter cover
- Handle
- Dust box
- Water tank
- Release button
- Water inlet cover
- Water inlet
E. Mopping Module

- Washable mopping cloth
- Cloth attachment area
F. Suction Inlet

- Suction inlet
G. Charging Base

- Charging contact pins
- Status light
- Wire slot exit
- Slot winding
- Power socket
- Power cord storage compartment
LED Indication
You can see the status of RoboVac from the LED indicators.
| Status | |
| Pulsing blue | Charging |
| Solid blue | Standby / Cleaning / Fully charged |
| Solid red | Low power and returning to Charging Base |
| Off |
|
| Flashing blue | Waiting for Wi-Fi connection |
| Flashing red with voice alert | RoboVac has an error. Refer to the “Troubleshooting > Voice Alert” section in this manual for solutions. |
Navigation
Once RoboVac starts to auto clean, it will move away from the Charging Base and automatically scan your house to generate maps, intelligently determine its cleaning route, and divide the space into rooms. The cleaning paths are planned along the walls, following a Z-shaped cleaning method to complete the cleaning of each zone, one by one.

Real-Time Mapping and Floor Plan
Real-time mapping helps RoboVac easily learn the environment of your home to generate the most efficient cleaning path. A floor plan will be built after cleaning. The map will be updated in real-time during each cleaning session to ensure normal navigation.
To create a complete floor plan:
- Open your doors so that RoboVac can map each room.
- Remove any objects that may be in the way or that might entangle RoboVac.
Repositioning and Remapping
If the position of RoboVac / Charging Base is adjusted or the surroundings are changed significantly, RoboVac will try to reposition and remap to match the surroundings.
- If the repositioning is successful, RoboVac will resume cleaning.
- If the repositioning fails, RoboVac will remap to ensure normal navigation with a new cleaning.
![]()
- When using for the first time, make sure RoboVac starts cleaning from the Charging Base.
- During cleaning, do not move RoboVac frequently. If moved, place RoboVac back to the original position.
Using Your RoboVac
Important Tips Before Use

(a) Remove power cords and small objects from the floor that may entangle RoboVac.
(b) Fold tasseled edges of rugs underneath to prevent tangling RoboVac. Avoid cleaning dark-colored high-pile rugs or rugs thicker than 1.02 in / 26 mm as they may cause RoboVac to malfunction.
(c) It is strongly recommended to set a No-Go zone or a virtual boundary in the eufy Clean app in front of fireplaces and certain areas (i.e. air vents) that may cause damage to RoboVac if entered.
(d) Keep RoboVac away from wet areas during cleaning.
(e) RoboVac may climb on top of objects less than 0.79 in / 20 mm in height.
Remove these objects if possible.
(f) Anti-drop sensors will prevent RoboVac from tumbling down stairs and steep drops in most cases. Sensors are less effective if dirty or used on carpeted / reflective / dark-colored floors. It is recommended to place physical barriers or set a No-Go zone / a virtual boundary in the eufy Clean app to block off areas where RoboVac may fall.
Preparation
(1) Remove the foam blocks beside the bumper before use.
(2) Before mopping, attach the Charging Base to the waterproof pad to keep the floor dry. Make sure it is firmly installed. Skip this step if mopping is not needed.

(3) Place the Charging Base on a level surface and against a wall.

(4) Remove objects within 1.6 ft / 0.5 m of the left and right side and within 4.9 ft / 1.5 m of the front of the Charging Base. If you cannot remove the objects, move RoboVac to a new place and check whether RoboVac can return to the Charging Base normally; if not, contact eufy customer service for help.

(5) Connect the adapter to the Charging Base and a wall outlet.
When the Charging Base connects to AC power, the LED on the Charging Base is solid white.

![]()
- Install the Charging Base in a location that RoboVac can easily access. It is recommended to place the Charging Base against a wall, and on a hard-level surface rather than on rugs or carpets.
- Always keep the Charging Base plugged in, otherwise RoboVac will not automatically return to it.
Charge Your RoboVac
![]()
- Make sure RoboVac is fully charged before use.
- RoboVac will return to the Charging Base at the end of a cleaning cycle or when its battery is running low.
Attach RoboVac to the Charging Base by aligning its charging pins.

![]()
- To preserve the battery’s lifespan, recharge at least once every 6 months.
Use Your RoboVac with the eufy Clean App
To enjoy all available features, it is recommended to control your RoboVac via the eufy Clean app.
Before you start, make sure that:
- Your smartphone or tablet is running iOS 10.0 (or above) or Android 5.0 (or above).
- The 2.4GHz band wireless signal is enabled on your wireless router.
- RoboVac is attached to the Charging Base to ensure it has enough power during setup.
(1) Press and hold the two buttons (
and
) simultaneously for 10 seconds to start Wi-Fi connection.
(2) Download the eufy Clean app from the App Store (iOS devices) or Google Play (Android devices).
(3) Open the app and create a user account.
(4) Tap the “+” icon to add “RoboVac L35 Hybrid” to your eufy Clean account.
(5) Follow the instructions in the app to set up the Wi-Fi connection.
After connecting successfully, you can control RoboVac via the app.
With the app, you can select a cleaning mode, set the time, schedule a cleaning, adjust suction power and water flow, view the system status, receive notifications and access additional features.
| Slowly flashing blue | Waiting for connection | |
| Rapidly flashing blue | Connecting with your wireless router | |
| Solid blue | Connected with your wireless router |
![]()
- If RoboVac gets stuck in any space, tap Find My Robot in the app to find the machine.
Schedule Cleaning
With the eufy Clean app, you can schedule RoboVac to start cleaning at a particular time.
![]()
- You can set the time and customize the cleaning schedules from Sunday to Saturday on the eufy Clean app. This function is only available on the app.
Start / Stop Cleaning
![]()
- You can also start or stop cleaning via the eufy Clean app.
(1) Press and hold
for 3 seconds to turn on.

(2) Press
to start cleaning in Auto Cleaning mode.
- To pause cleaning, press
again. - To turn off, press and hold
for 3 seconds.
*If RoboVac is not responding when you press a button, press the Force Shutdown button (located inside the main unit) to forcibly power off the device. Then press and hold
for 3 seconds to restart the device.

Select a Cleaning Mode
Auto Cleaning Mode
Press
to start cleaning in Auto Cleaning mode. You can also select this mode in the eufy Clean app.

![]()
- During cleaning, RoboVac will return to the Charging Base automatically if the battery level becomes low. To resume cleaning from where it left off, enable this feature in the eufy Clean app.
- By default, RoboVac starts in Auto Cleaning mode when it is turned on.
Spot Cleaning Mode (Only Available via the eufy Clean App)
In this mode, RoboVac intensively cleans a specific area with a size of 4.9 ft x 4.9 ft / 1.5 m x 1.5 m, useful if there is a concentrated area of dust or debris. When the cleaning of a certain zone is finished, it automatically returns to the Charging Base.

Room Cleaning Mode (Only Available via the eufy Clean App)
In this mode, your house is automatically divided into several rooms for cleaning in the eufy Clean app. You can also customize your room settings in the app. RoboVac will clean the selected rooms only and return to the Charging Base after cleaning.
![]()
- Start Room cleaning only after RoboVac has created the map.
- It is recommended that RoboVac moves from the Charging Base to start Room cleaning.
Zone Cleaning Mode (Only Available via the eufy Clean App)
In this mode, you can set up a cleaning zone in the eufy Clean app. RoboVac will clean the selected zone only.
Select a Suction Power Level
In the eufy Clean app, select a suction power level according to your needs:
- Quiet
- Standard (Default)
- Turbo
- Max
![]()
- When RoboVac starts cleaning the next time, it will clean according to the suction power level you previously selected.
Select BoostIQ™ feature
In the eufy Clean app, select the BoostIQ™ feature according to your needs. RoboVac will automatically increase the suction power if it detects that stronger power is needed to ensure the best clean. BoostIQ™ is ideal for cleaning thicker carpets and hard-to-sweep messes, which will reduce the total cleaning time, but increase the noise level. If the vacuuming noise caused by BoostIQ™ disturbs you, you can disable this feature.
Use Mopping System
![]()
- The mopping mode is only intended for a clean floor without stubborn stains or liquids. To avoid staining floors, do not use the mopping function when dust is mixed with liquids such as coffee or ink.
- Mopping System cleans best on smooth hard surfaces and may not perform so well on uneven tiles, heavily waxed floors or rough surfaces like slate or brick, which may snag the mopping module.
- The mopping mode is not recommended when no one is at home.
- Do not use the mopping mode on a carpeted floor. It is recommended to set a “No-Mop” zone in the eufy Clean app to avoid cleaning the carpeted area.
(1) Before mopping, install the waterproof pad under the Charging Base to protect the floor.

(2) Wet the mopping cloth and wring it until it does not drip, then attach the cloth to the mopping module.

(3) Remove the water tank. Open the water inlet cover to fill the water, then close the cover.

Do not use any cleaning solution, as your floor may become slippery and therefore affect the cleaning effect.
(4) Install the mopping module and water tank back into the bottom of RoboVac until a click is heard.

The mopping mode is only intended for a clean floor without stubborn stains. To achieve a better mopping effect, it is recommended to clean the floor with RoboVac three times before mopping.
(5) Start cleaning. RoboVac will automatically vacuum and mop.
(6) When RoboVac finishes cleaning and returns to the Charging Base, remove the mopping module.

(7) Press the release button to remove the dust box and the water tank.

(8) Clean the dust box and water tank, empty any remaining water, and clean the mopping cloth to prevent mildew or unpleasant smells. For how to clean and maintain the components, refer to the “Cleaning and Maintenance” section in this manual.
Use Your RoboVac with Amazon Alexa / the Google Assistant
Amazon Alexa or the Google Assistant is a smart voice control device that enables you to control RoboVac with your voice.
Before you start, make sure that:
- RoboVac is attached to the Charging Base to ensure there is enough power.
- RoboVac is connected with the eufy Clean app.
- You have an Amazon Alexa-enabled device (i.e. Amazon Echo, Echo Dot and Amazon Tap, Echo Show, Echo Spot) or a device enabled with the Google Assistant (i.e. Google Home, Google Home Mini). These devices are sold separately.
- The Amazon Alexa app or Google Home app is already installed on your smart device, and you have created an account.
To control RoboVac with Amazon Alexa or the Google Assistant
- Open the eufy Clean app and find “Smart Integrations” in the top left.
- Follow the on-screen instructions to complete the setup.
![]()
- Currently, this feature only supports English, German, French, and Spanish. For more supported languages, check https://www.eufylife.com/support/.
Enable / Disable the Child Safety Lock
Press and hold the
button for 3 seconds to turn on the child safety lock. Once the child safety lock is enabled, RoboVac will not respond if any button is pressed to protect children from accidentally getting hurt.
- To disable the child safety lock, press and hold the
button for 3 seconds again.
![]()
- This function is also available in the eufy Clean app.
Cleaning and Maintenance
Before cleaning and maintaining, turn off the device and unplug the adapter.
For optimal performance, follow the instructions below to clean and maintain RoboVac regularly. The cleaning / replacement frequency will depend on your RoboVac usage habits.
Recommended Cleaning / Replacement Frequency
| RoboVac Part | Cleaning Frequency | Replacement Frequency |
| Dust box and water tank | After each use | – |
| Filter | Once a week (Twice a week if you have a pet) | Every 6 months or after every 50 rounds of cleaning |
| Side brushes | Once a month | Every 3-6 months (or when visibly worn) |
| Brush guard | Once a month | Every 3-6 months (or when visibly worn) |
| Rolling brush | Once a month | Every 6-8 months |
| Sensors | Once a month | – |
| Charging pins | Once a month | – |
| Swivel wheel | Once a month | – |
| Mopping cloth | After each use | – |
Clean the Dust Box, Water Tank, and Filter
(1) Press the release button to remove the dust box and water tank.

(2) Separate the dust box from the water tank.

(3) Open and empty the dust box.

(4) Remove the foam filter and high-performance filter.

(5) Clean the dust box and filters with the cleaning brush.

(6) Empty the remaining water in the water tank.
(7) Rinse the dust box, water tank, and filters thoroughly with water.

Do not use hot water or any detergent to clean the filters.
(8) Air-dry the dust box, water tank and filters completely before next use. You may use another filter if the original one is not dry.

Do not use the filters if they are not completely dry, otherwise it may affect the cleaning performance.
(9) Place the filters back into the dust box.

(10) Push the dust box and water tank back into the main unit.

Clean the Rolling Brush
(1) Pull on the release tabs to unlock the brush guard as shown.
(2) Lift the rolling brush to remove.
(3) Clean the rolling brush with the cleaning tool.
(4) Reinstall the rolling brush by inserting the fixed protruding end first.
(5) Press down to snap the brush guard into place.

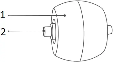
Clean the Side Brushes
Foreign substances, such as hair, can easily get tangled in the side brushes, and dirt may adhere to them. Be sure to clean them regularly.
(1) Remove the side brushes.

(2) Carefully unwind and pull off any hair or string that is wrapped between the main unit and the side brushes.
(3) Use a cloth dampened with warm water to remove dust from the brushes or to gently reshape them.

![]()
- Only use the side brushes when they are completely dry.
Replace the Side Brushes
The side brushes may become damaged after being used for a period of time. Follow the instructions below to replace them.
- Pull off the old side brushes and snap the new ones into place until you hear a click.
![]()
- Make sure the left side brush marked with an L (Left) and the right side brush marked with an R (right) are installed correctly, as illustrated. Otherwise, the side brushes may be damaged.

Clean the Sensors and Charging Pins
To maintain the best performance, clean the sensors and charging pins regularly.
- Dust off the sensors and charging contact pins using a cloth or cleaning brush.

Clean the Swivel Wheel
Hair or dust particles can easily get entangled in the swivel wheel. Be sure to clean the swivel wheel periodically and as needed.

- Wheel
- Axle
(1) Remove the battery cover.

(2) Pull out the swivel wheel with a tool (such as a screwdriver).

(3) Clean any hair or debris wrapped around the wheel or entangled inside the wheel cavity.
(4) Reinstall the wheel and push in until it clicks into place.
![]()
- Do not clean the swivel wheel with water.
Clean the Mopping Cloth
It is recommended to clean the washable mopping cloth after each use.

(1) Remove the mopping cloth from the mopping module.
(2) Rinse the mopping cloth thoroughly with water.
(3) Air-dry the mopping cloth completely to prevent mildew or unpleasant smells.
Troubleshooting
The solutions below are for general questions. If your problem persists, visit www.eufylife.com, go to the eufy Clean app, or contact [email protected] for help.
| Problems | Solutions |
| RoboVac cannot be activated. |
|
| RoboVac stops working suddenly. |
|
| You cannot schedule cleanings. |
|
| Suction power is weak. |
|
| RoboVac cannot be charged. |
|
| RoboVac cannot return to the Charging Base. |
|
| RoboVac’s movements or travel path are abnormal. |
|
| Water does not come out during mopping. |
|
| Too much water comes out during mopping. |
|
| RoboVac’s cleaning time becomes shorter. |
|
| RoboVac cannot connect to a Wi-Fi network. |
|
| You cannot control RoboVac with Amazon Alexa. |
|
| You cannot control RoboVac with the Google Assistant. |
|
Voice Alert
When RoboVac encounters a problem, the red indicator on RoboVac will flash and you will hear the relevant voice prompts.
The voice prompts below are only for reference and may be changed slightly after voice pack updates. Please follow the voice prompts you have heard to find the cause and solution below.
| Voice Prompt | Cause and Solution |
| Error 1: Front bumper stuck | Front bumper is stuck. Tap it repeatedly to remove any dust, or move the device to a new position and try again. |
| Error 2: Wheel stuck | Wheel may be stuck or trapped. Clear any obstacles in the surrounding area and check the wheel for any trapped dust. Move the device to a new position and try again. |
| Error 3: Side brush stuck | Side brush may be stuck. Clean it and try again. |
| Error 4: Rolling brush stuck. Remove and clean the rolling brush. | Remove the rolling brush, roller joint, roller brush cover, and suction inlet to clean it. Once cleaned, place the items back into the device and try again. |
| Error 5: Device stuck or trapped | Device is trapped. Clear any obstacles in the surrounding area and try again. |
| Error 6: Device trapped | Device may be suspended in the air. Move it to a new position close to the original position and try again. If the device is still unable to start, clean the drop sensors and try again. |
| Error 8: Low battery. Shutting down. | Low battery. System will shut down. Charge the device and try again. |
| Error S1: Battery error |
|
| Error S2: Wheel module error |
|
| Error S3: Side brush error |
|
| Error S4: Suction fan error |
|
| Error S5: Rolling Brush Error. Refer to Owner’s Manual or app for help. |
|
Specifications
![]() | Input | 24 V ⎓ 1 A |
| Battery Voltage | 14.4 V ⎓ | |
| Power Consumption | 50 W | |
| Battery Type | Li-ion 3200 mAh (Typical) | |
| Dust Box Capacity | 330 ml | |
| Water Tank Capacity | 200 ml | |
| Charging Time | 180 – 240 mins |
![]() | Input | 24 V ⎓ 1 A |
| Output | 24 V ⎓ 1 A |
Customer Service
Contact Us
(US/CA) +1 (800) 994 3056
(UK) +44 (0) 1604 936200
(DE) +49 (0) 69 9579 7960
(日本) +81 03 4455 7823
For more support phone numbers, please visit:
https://support.eufylife.com/s/phonecontactus
Or scan the QR code below:
For tutorial videos, FAQs, manuals, and more information, please visit:
https://support.eufylife.com
Or scan the QR code below:
@EufyOfficial
@EufyOfficial
@EufyOfficial
@EufyOfficial

For FAQs and more information, please visit:
www.eufylife.com
PAP 22
Raccolta Carta
T2194 51005003862 V01






















