Gude GMK 350 T Cordless Metal Cutting Saw

Please read carefully the Operating Instructions before putting the appliance into operation!!!
Do you have any questions? A claim? Do you need spare parts or the Operating Instructions?
You will be helped quickly and without needless bureaucracy at our web pages www.guede.com in the Services part. Please help us be able to assist you. To be able to identify your appliance when claimed, we need to know its serial No., order No. and the year of production. All these details can be found on the type label. Enter the details below for future reference:
Serial No
- Tel: +49 (0) 79 04 / 700-360
Order No
- Fax: +49 (0) 79 04 / 700-51999
Year of production
- E-Mail: [email protected]
Any reprints, even partial, are subject to approval. Technical changes reserved. Pictures are just for illustration
Marking
Product safety

Prohibitions

Warning

Commands

Environment protection


Package

Technical data

Appliance
Metal saw GMK 350 T
This metal trimming saw is an ideal tool to dry-cut any tubes, sections, and solids of steel (not high-grade steel), aluminum, copper, and PVC at an angle of 45° – 90°.
Appliance description (pic. 1)
- Control handle
- Safety switch
- safety screen
- Disk protection cover
- Disk
- Handle
- Hand wheel
- Rubber blocks
- Lock device
- Base plate
- Brushes lid
- Motor
- Motor box
- Tripping pin
Guarantee
A warranty period of 12 months applies to commercial use and 24 months apply to private use and commences on the day of purchase of the device. Warranty applies exclusively to failures due to defective material or workmanship. An original sale slip with indicationof date of sale must be presented in case of claiming for the warranty rights. Warranty does not cover unprofessional use such as device overload, violent use, damage caused by third party or foreign materials, failure to comply with operations and assembly manual, and normal wear and tear.
Important basic safety instructions
Before you start working with the appliance please read carefully the following safety regulations and Operating Instructions. If any other person is to handle the appliance provide him/her with the Operating Instructions. Keep the Operating Instructions for future reference!
Package: The appliance has been put in a package to prevent any damage during transport. Packages are raw materials so they can be reused or recycled. Please read carefully the Operating Instructions and follow them. Use these Operating Instructions to get acquainted with the appliance, its corresponding use and safety instructions. Keep the Instructions for future reference.
- Perform a visual control of the product before you put it into operation each time. Do not use this product, if safety devices are damaged or worn off. Never deactivate safety devices.
- Use this product only according to the intended use specified in this user manual.
- Be always careful when working. Watch your activity. Proceed carefully. Do not use the metal saw if you are not concentrated.
- You are responsible for the safety in the work area.
- Never leave the product unsupervised.
- Never use the product in wet or moist conditions or if it rains.
- Do not use electric tools near flammable liquids or gases.
- Do not switch on the product, if it is turned upside down or if it is not in the operating position.
- Keep the product away from other people, especially from children and also pets.
- After you finish working with the appliance, pull them plug out of socket and check if the appliance is not damaged
- If you do not use the product, keep it at a dry place, which is not accessible for children.
- Repairs may be only carried out by a professional electrician.
- Before putting the machine into operation and after impact of any kind, check it for sign of wear or damage and arrange repairs if necessary.
- Never use spare parts and accessories, which are not specified or recommended by the manufacturer.
- Use the machine only under daylight or with sufficient artificial lighting.
- Wear protective clothing suitable for the given environment the whole time you work and takesuitable preventive measures to prevent accidents.
- Do not use the cable for any other purpose than specified. Do not wear the cable by its cable and do not use the cable for pulling the plug out of socket.Protect the cable against excessive temperatures, oil, and sharp edges.
- Be very careful of your appliance. Keep it clean so that working with it is fine and safe. Regularly check the plug and cable and have them repaired by an authorised specialist if damaged. Regularly check the extension cables and have any damaged cable replaced by a specialist.
- Extension cables to be used outdoors only. For outdoor work, use extension cables adequately marked and approved for that purpose (within 20 m ∅1.5 mm², 20-50 m ∅ 2.5 mm²)
- Unplug the appliance
- before every cleaning after each use
- Persons unable to operate the appliance due to their physical, sensory or mental abilities or their inexperience or lack of knowledge must not operate it.
- If the appliance show any sign of visible damage the appliance must not be put into operation.
- If the feeder cable of the appliance is damaged it needs to be replaced by the producer or an electrician.
- Repairs of the appliance can only be executed by an electrician. There might be significant risks as a result of unauthorised repairs.
- The same regulations apply for accessories.
Güde GmbH & Co. KG does not answer for damages caused by:
- Appliance damage by mechanical influences and overloading.
- Any changes to the appliance.
- Use for any other purpose than that described in the Operating Instructions.
- Unconditionally follow all safety instructions to prevent accidents and damage.
Important product-specific safety instructions
Caution: Before using the machine on a regular basis, read the safety regulations below carefully and abide by the same. It is your way to prevent injuries and fire.
- Never touch the disk when cutting is in progress.
- Avoid any bodily contact with grounded parts, such as tubes, radiators, cookers and refrigerators
- Always wear goggles. Regular glasses cannot stand for goggles. Wear a respirator when working in a dusty area. Wear ear protectors (plugs) when working for long periods of time.
- Do not overload the machine.
- Do not use a low output machine/tool for demanding jobs.
- Do not wear loose-fitting garments and jewels
- Protect the power cable against excessive temperatures and sharp edges. Have it replaced only at a specialist’s
- Fix the saw to the work table as appropriate
- Replace any blunt disks on time.
- The machine should be supplied with current of maximum value 30 mA via stray current protection (FI)
- The appliance meets EN 61000-3-11 requirements and is subject to special connection conditions. That meansthat use on optionally selected connection points is inadmissible.
- The appliance can lead to occasional voltage fluctuations under unfavourable power conditions.
- The appliance is only designated to be used for connection points not exceeding the maximum allowed impedance of Zmax = 0,233 Ω.
- As a user, you must make sure your connection point on which you want to use the appliance meets the above-mentioned requirements – after agreement with your electricity supplier if necessary.
Behavior in case of emergency
- Perform necessary first aid measures according to the injury and call for medical attendance as soon as possible. Prevent the injured against any further injuries and calm him down.
Intended use
High-power metal trimming saw for dry cutting, fit to cut solid]and hollow pieces, vice capable of deflection up to 45°. Efficient disk for fast cuts. In the cutting process, the material will hardly get warmed, therefore, just cut material may be processed further immediately. No sparkling. Owing to the dry-cut method, no cooling fluid is necessary, and the annoying splashes of the fluid are avoided. . Included is a safety switch, terminal stop, vice capable of deflection and a longitudinal stop in a set with the disk.
Recommended accessories:
- Universal disk of hard metal with 72 teeth to cut thickwall tubes and sections, solids up to diameter ca 20 mm
Disposal
- The disposal instructions are based on icons on the appliance or its package..
Handling requirements
- The operating staff must carefully read the Operating Instructions before using the appliance.
Qualification
- Apart from the detailed instruction by a professional no special qualification is necessary for using the appliance.
Minimum age
- Only persons over 16 years of age can work with the appliance. An exception includes youngsters if they work within their professional education the purpose of which is to obtain knowledge supervised by a trainer.
Training
- Using the appliance only requires corresponding training by a professional or following of the Operating Instructions. No special training is necessary.
Technical Data
| Disk diameter: | 355 mm |
| Number of teeth: | 72 |
| Blade bore: | 25,4 mm |
| Vise swivel: | 0-45° |
| Motor power: | 2300 W |
| Power input: | 230 Volt |
| Speed: | 1300 rpm |
| Max Cutting Capacity 90° | |
| Rounds: | 120 mm |
| Squares: | 120 x 120 mm |
| Flats: | 180 x 80 mm |
| Max Cutting Capacity 45° | |
| Rounds: | 90 mm |
| Squares: | 90 x 90 mm |
| Flats: | 120 x 90 mm |
Transport and storage
- When storing, it is necessary that the appliance is put to a dry place, inaccessible to children and unauthorised persons. Clean the appliance thoroughly before longer putting out of operation.
Installation 
Metal trimming saw has a fast-acting clamp system. It is enough to push the clamp shutter (Fig. 2) to vice the piece). The threaded spindle may be then set to the required size of the piece. After setting up, the shutter is locked and the piece may be vised.
Clamp System Setting
- The bevel angle may be set from 0° to 45°. Please, observe, (Fig. 3). Clamping the piece and setting the bevel angle is done in two steps. Pic. 3:

- A: Lock screw
- B: grade on the scale
- Loosen the lock screw (A). If you wish to work at an angle of0° – 45°, set the clamping unit (B) with hand so that the required angle points to the arrow.
Operation
Pic. 4:
- A: ON/OFF switch
- B: Locking knob for disk replacement
- C: Tripping button
- D: Arm
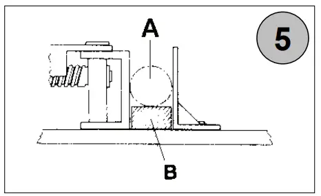
Push the tripping button (C) and push the knob on the arm (D) down with care. Safety switch (A) is a protection device. Push the ON/OFF switch down (A) and do not let it go until you want to switch the machine off again. Pic. 5:
- A: Piece to cut
- B: Block
For clamping, the piece (A) has to be supported with a block (B), slightly smaller than the piece (Fig. 5)
- Never force too much on the disk in the course of cutting.
- Never stop the disk with hand, that will shorten the service life of the motor.
- The saw should not be operated close to any easily ignitable materials

- It is easy to transport the machine thanks to carrying handles. (Fig. 6)
Safety instructions for the operation
- Safe and precise work is not possible unless every part is carefully fitted in.
- Never work without the disk protection cover in place.
- Always unplug the machine before any maintenance and treatment.
- You should make sure that the disk is fitted in correctly any time before plugging the machine. Correct fitting – proper assembly in conformity with the user manual.
- Take care to tighten the screws after replacement of the disk so that disk break is avoided.
- Before putting the disk in operation, it is necessary to check it for any cracks and fissures and to make sure that it is in good working condition.
- A contact of the disk and the piece to be cut should be made with care at the beginning of the job as the disk – if loaded excessively – could get caught and broken.
- The disk should reach full speed before cutting is started.
- To avoid accidents, check whether all the screws are tightened as appropriate following the disk replacement. The same applies to taking the remaining parts of the piece from the clamp.
- Use only impeccable disks. Replace any blunt disks on time. Avoid exerting excessive force on the disk during the work! It might result in breaking the disk!
Grounding: In case of a defect or with defective insulation, the grounding is line of least resistance and is to prevent any contact of your body with the current. Your machine has a cable with a grounding conductor and a grounding plug. The plug should be connected to a specifically designed connection installed and grounded in compliance with local standards and provisions.
- Any alterations on the plug not complying with the connection should be done by an electrician. The sameapplies to the connection installation.
- If the grounding conductor installation is not correct, an electrical shock hazard is imminent. Grounding conductor is a green or green/yellow striped cable. Use only manufacturer-delivered power cables with compressed connection with the safety switch.
- (M type connection, see No. 222 in the list of spares). If it is necessary to replace power cable of your machine, never use the grounding conductor as a power cable.
- Should you have any queries regarding the grounding connection and should you be uncertain about proper grounding of your machine, consult an electrician.
- Use only three-wire extension cables and three-pole sockets matching the plug of your machine.
- Any defective or worn power cables should be repaired or replaced immediately.
Maintenance and care

- Always unplug the machine prior to the disk or brushes replacement, lubrication with oil or other premaintenance operations
- Never set the bevel angle or do other modifications with the motor running.
- It is necessary to make sure after any use whether or not the machine is still in full working condition. To check the carbon brushes, the brushes lid needs to be removed using a screwdriver. The brushes need replacement if wear-and-tear has reached above them mark (6mm) or if small particles have split off (Fig. 7+8)
After the use
- Loosen the screw, pull the cuts-collecting box out. Empty the box, put it back in the opening and tighten the screw again (Fig.9)
Machine Lubrication with Oil
- Once in a month, the machine has to lubricated with oil on the spots shown below. It will make service life of your machine longer.
- Spindle rotating part
- Hand wheel rotating part
- Clamp sliding surface area
Disk Replacement
Pic. 10 and 11
- A: Spindle
- B: Locking knob (on the handle)
- C: Retaining ring
- D: Hexagon screw
- E: Seeger ring
- F: Washer
- G: Flange
- H: Disk
- Before replacing the disk, unplug the machine. Loosen the wing-nut (Fig. 11) and remove the cover. Lock the spindle (10/A), (Fig. 11) using locking knob (B, Fig. 4)

- Loosen the disk screw (10/D) using an inner-hexagon wrench
- Remove the disk (10/H) with care – (CAUTION: wear safety gloves)
- Slide the flange (10/G) on the spindle
- Install the disk and make sure that the teeth point to the solid stop.
- Install the retaining ring (10/C), flange (10/G), washer (10/F), Seeger ring (10/E) and hexagon screw (10/D)
- Lock the spindle (10/A) with the lock knob (4/B) and tighten the disk screw as required.
- Before you plug the machine, remove the retaining rod and forked wrench and fit the cover in place!!! (Fig. 10+ 11)

























