TP751 Spiro Spin – Cyclone™

Instructions for assembly, maintenance and safe use. Please retain for future reference.

Patent pending
Application number GB1321405.1.
WARNINGS!
ONLY FOR DOMESTIC USE. FOR OUTDOOR USE ONLY
THIS PRODUCT IS SUITABLE FOR USE BY CHILDREN AGED 3-8 YEARS
MAXIMUM USER WEIGHT PER SEAT 35 KGS.
ANCHORS THAT ARE SUPPLIED WITH THIS PRODUCT MUST BE FITTED BEFORE USE.
THIS PRODUCT CONTAINS SMALL PARTS AND IS NOT SUITABLE FOR CHILDREN UNDER 36 MONTHS. SMALL PARTS ARE A CHOKING HAZARD.
TOY MUST BE ASSEMBLED BY AN ADULT BEFORE USE.
CHILDREN MUST NOT USE THIS PRODUCT UNTIL PROPERLY INSTALLED.
ADULT SUPERVISION REQUIRED.
REMOVE ALL PACKAGING BEFORE GIVING TO YOUR CHILDREN.
RETAIN PACKAGING FOR FUTURE REFERENCE.
WARNINGS:
CHOKING HAZARD – Small parts.
Not for children under 3 years
WARNINGS:
ADULT ASSEMBLY REQUIRED




![]()
Robovision Ltd t/a TP Toys
Unit 11, Enterprise Way, Flitwick, Bedfordshire, MK45 5BX England
www.tptoys.com
EN
WARNINGS:
ONLY FOR DOMESTIC USE. FOR OUTDOOR USE ONLY.
THIS PRODUCT IS SUITABLE FOR USE BY CHILDREN AGED 3-8 YEARS.
MAXIMUM USER WEIGHT PER SEAT 35 KGS.
ANCHORS THAT ARE SUPPLIED WITH THIS PRODUCT MUST BE FITTED BEFORE USE.
THIS PRODUCT CONTAINS SMALL PARTS AND IS NOT SUITABLE FOR CHILDREN UNDER 36 MONTHS. SMALL PARTS ARE A CHOKING HAZARD.
TOY MUST BE ASSEMBLED BY AN ADULT BEFORE USE.
CHILDREN MUST NOT USE THIS PRODUCT UNTIL PROPERLY INSTALLED.
ADULT SUPERVISION REQUIRED.
REMOVE ALL PACKAGING BEFORE GIVING TO YOUR CHILDREN.
RETAIN PACKAGING FOR FUTURE REFERENCE.
Instructions for assembly, maintenance and safe use.
Please retain this information for future reference.
- Toy must be assembled by an adult before use exactly in accordance with the instructions
- Children must not use this product until properly installed
- Check all parts are present before you start to assemble the product. Place small parts on a tray or similar to ensure they are not lost. The manufacturing process can very occasionally result in sharp edges/waste material so please take care when assembling this product
- If any parts are missing do not use the product until the replacement parts are fitted
- Ensure your product is sited on level ground. Failure to do this may put additional stress on connections and joints and in time could cause them to fail.
- Ensure your product is on located a soft impact surface like grass. Never locate your product on hard surfaces like concrete.
- Anchors supplied with this product must be fitted before use.
- In freezing weather, detachable plastic parts should be stored inside.
- Avoid locating this product in full sun.
- Remove all packaging before giving to your children or allowing them to play with this product
- Equipment should be checked by an adult at the beginning of each season and at regular intervals during the usage season to ensure it is safe. Pay special attention to all connections and fastenings
- Parts may need to be replaced if they show signs of wear and tear. Replace any defective parts in accordance with these instructions.
- Any changes to this toy including changing or adding an accessory, must be done in accordance with our instructions. Failure to do this will render your guarantee null and void and may make your product unsafe.
- Ensure children’s clothing is appropriate for the play activity.
- Never place toys near a fire.
- In high winds, ensure outdoor toys are moved to a sheltered position and/or securely staked down.
- The age recommendation for this product is clearly stated on the packaging and in these instructions. Please adhere to it at all times. Adult supervision is required at all times to ensure children play safely.
- When you dispose of this equipment please do so responsibly.
TP751 Spiro Spin
6
USA
Warnings
WARNING! THIS PRODUCT CONTAINS SMALL PARTS AND IS NOT SUITABLE FOR CHILDREN UNDER 36 MONTHS. SMALL PARTS ARE A CHOKING HAZARD.
WARNING! ONLY FOR DOMESTIC USE. FOR OUTDOOR USE.
WARNING! THIS PRODUCT IS INTENDED FOR USE BY CHILDREN FROM AGES 3 TO 8 YEARS.
WARNING! MAXIMUM USER WEIGHT PER SEAT 35 KGS. 2 USERS MAXIMUM. 1 PER SEAT ONLY. MAXIMUM FALL HEIGHT - 24 INCH (609 mm)
WARNING! CHILDREN MUST BE DRESSED WITH WELL FITTING AND FULL FOOT ENCLOSING FOOTWEAR.
(EXAMPLE OF INAPPROPRIATE FOOTWEAR ARE CLOGS, FLIP-FLOPS AND SANDALS).
WARNINGS:
CHOKING HAZARD – Small parts.
Not for children under 3 years
WARNINGS:
ADULT ASSEMBLY REQUIRED
USA Important advice for assembly, maintenance and safe use
- Toys must be assembled by an adult before use exactly in accordance with the instructions.
- Check all parts are present before you start to assemble the product.
- Place small parts on a tray or similar, to ensure they are not lost.
- Anchors supplied with this product must be fitted before use.
- If any parts are missing do not use the product until the replacement parts are fitted.
- Remove all packaging before giving to your children or allowing them to play with this product.
- Ensure your product is sited on level ground. Failure to do this may put additional stress on connections and joints and in time could cause them to fail.
- Ensure your product is located on a soft impact surface like grass. Never locate your product on hard surfaces like concrete or asphalt.
- Avoid locating this product in full sun.
- Children must not use this product until properly installed.
- Adult supervision is required at all times to ensure children play safely. Ensure children’s clothing is appropriate for the play activity.
- Equipment should be checked by an adult at the beginning of each season and at regular intervals during the usage season to ensure it is safe. This includes but not limited to checking all nuts & bolts for tightness and tighten when necessary.
- Regularly oil all metallic moving parts.
- Pay special attention to all connections and fastenings.
- Parts may need to be replaced if they show signs of wear and tear. Replace any defective parts in accordance with these instructions.
- Any changes to this toy, e.g. changing or adding an accessory, must be done in accordance with our instructions. Failure to do this will render your guarantee null and void and may make your product unsafe.
- The age recommendation for this product is clearly stated on the packaging and these instructions. Please adhere to it at all times.
- When you dispose of this equipment please do so responsibly.
Safe play free space area
This product requires a level ground surface of 210 cm x 210 cm for a Safe Play Area.
The Safe Play Area refers to the zone extending 200 cm beyond the toy on all sides, including the space above the toy. The Safe Play Area must be free from all structures, landscaping, trees and branches, rocks, wires, sprinkler heads and other similar obstacles to safe play. Children can be seriously injured running or colliding into such obstacles.

USA CONSUMER INFORMATION SHEET FOR PLAYGROUND SURFACING MATERIALS
The U.S. Consumer Product Safety Commission (CPSC) estimates that about 100 000 playground equipment related injuries resulting from falls to the ground surface are treated annually in U.S. hospital emergency rooms. Injuries involving this hazard pattern tend to be among the most serious of all playground injuries, and have the potential to be fatal, particularly when the injury is to the head. The surface under and around playground equipment can be a major factor in determining the injury-causing potential of a fall. It is self evident that a fall onto a shock absorbing surface is less likely to cause a serious injury than a fall onto a hard surface.
Playground equipment should never be placed on hard surfaces such as concrete or asphalt and while grass may appear to be acceptable it may quickly turn to hard packed earth in areas of high traffic. Shredded bark mulch, wood chips, fine sand or fine gravel are considered to be acceptable shock absorbing surfaces when installed and maintained at a sufficient depth under and around playground equipment.
X3.1 Select Protective Surfacing – One of the most important things you can do to reduce the likelihood of serious head injuries is to install shockabsorbing protective surfacing under and around your play equipment. The protective surfacing should be applied to a depth that is suitable for the equipment height in accordance with ASTM Specification F 1292. There are different types of surfacing to choose from; whichever product you select, follow these guidelines:
X3.1.1 Loose-Fill Materials:
X3.1.1.1 Maintain a minimum depth of 9 inches of loose fill materials such as wood mulch/chips, engineered wood fibre (EWF), or shredded/ recycled rubber mulch for equipment up to 8 feet high; and 9 inches of sand or pea gravel for equipment up to 5 feet high. NOTE: An initial fill level of 12 inches will compress to about a 9- inch depth of surfacing over time. The surfacing will also compact, displace, and settle, and should be periodically refilled to maintain at least a 9-inch depth.
TP751 Spiro Spin
7
X3.1.2 Use a minimum of 6 inches of protective surfacing for play equipment less than 4 feet in height. If maintained properly, this should be adequate. (At depths less than 6 inches, the protective material is too easily displaced or compacted.)
NOTE: Do not install home playground equipment over concrete, asphalt, or any other hard surface. A fall onto a hard surface can result in serious injury to the equipment user. Grass and dirt are not considered protective surfacing because wear and environmental factors can reduce their shock absorbing effectiveness. Carpeting and thin mats are generally not adequate protective surfacing. Ground level equipment such as a sandbox, activity wall, playhouse or other equipment that has no elevated play surface does not need any protective surfacing.
X3.1.3 Use containment, such as digging out around the perimeter and/ or lining the perimeter with landscape edging. Don’t forget to account for water drainage.
X3.1.3.1 Check and maintain the depth of the loose-fill surfacing material. To maintain the right amount of loose- fill materials, mark the correct level on play equipment support posts. That way you can easily see when to replenish and/or redistribute the surfacing.
X3.1.3.2 Do not install loose fill surfacing over hard surfaces such as concrete or asphalt.
X3.1.4 Poured-In-Place Surfaces or Pre-Manufactured Rubber Tiles – You may be interested in using surfacing other than loose-fill materials like rubber tiles or poured-in-place surfaces.
X3.1.4.1 Installations of these surfaces generally require a professional and are not “do-it-yourself” projects.
X3.1.4.2 Review surface specifications before purchasing this type of surfacing. Ask the installer/manufacturer for a report showing that the product has been tested to the following safety standard: ASTM F 1292 Standard Specification for Impact Attenuation of Surfacing Materials within the Use Zone of Playground Equipment. This report should show the specific height for which the surface is intended to protect against serious head injury. This height should be equal to or greater than the fall height vertical distance between a designated play surface (elevated surface for standing, sitting, or climbing) and the protective surfacing below of your play equipment.
X3.1.4.3 Check the protective surfacing frequently for wear.
X3.1.5 Placement – Proper placement and maintenance of protective surfacing is essential. Be sure to:
X3.1.5.1 Extend surfacing at least 6 feet from the equipment in all directions.
X3.2 Table X3.1 lists the maximum height from which a child would not be expected to sustain a life-threatening head injury in a fall onto four different loose-fill surfacing materials if they are installed and maintained at depths of 6, 9, and 12 in. However, it should be recognized that all injuries due to falls cannot be prevented no matter what surfacing material is used.
X3.3 It is recommended that a shock absorbing material should extend a minimum of 6 ft in all directions from the perimeter of stationary equipment such as climbers and slides. However, because children may deliberately jump from a moving swing, the shock absorbing material should extend in the front and rear of a swing a minimum distance of 2 times the height of the pivot point measured from a point directly beneath the pivot on the supporting structure.
X3.4 This information is intended to assist in comparing the relative shock-absorbing properties of various materials. No particular material is recommended over another. However, each material is only effective when properly maintained. Materials should be checked periodically and replenished to maintain correct depth as determined necessary for your equipment. The choice of a material depends on the type and height of the playground equipment, the availability of the material in your area, and its cost.
9 This information has been extracted from the CPSC publications “Playground Surfacing -Technical Information Guide” and “Handbook for Public Playground Safety.” Copies of these reports can be obtained by sending a postcard to the: Office of Public Affairs, U.S. Consumer Product Safety Commission, Washington, D.C., 20207 or call the toll-free hotline: 1-800-638-2772.
TABLE X3.1
Fall Height in Feet From Which a Life Threatening Head Injury Would Not Be Expected
| Type of Material | 6 inch. depth | 9 inch. depth | 12 inch. depth |
| Double Shredded Bark Mulch | 6 | 10 | 11 |
| Wood Chips | 6 | 7 | 12 |
| Fine Sand | 5 | 5 | 9 |
| Fine Gravel | 6 | 7 | 10 |
Warning
Please instruct children not to use the equipment in a manner other than intended.
Installation Instructions and Information –
Place the equipment on level ground, not less than 6 ft (1.8 m) from any structure or obstruction such as a fence, Garage, house, overhanging branches, laundry lines, or electrical wires.
Do not install home playground equipment over concrete, asphalt, packed earth, or any other hard surface. A fall onto a hard surface can result in serious injury to the equipment user.
Operating Instructions –
Observing the following statements and warnings reduces the likelihood of serious or fatal injury.
We recommend on-site adult supervision for children of all ages Instruct children not to walk close to, in front of, behind, or between moving items.
Instruct children not to twist swing chains or ropes or loop them over the top support bar since this may reduce the strength of the chain or rope.
Instruct children to avoid swinging empty seats.
Teach children to sit in the center of the swings with their full weight on the seats.
Instruct children not to use the equipment in a manner other than intended.
Instruct children not to get off equipment while it is in motion.
Parent to dress children appropriately (examples would include the use of well-fitting shoes and the avoidance of ponchos, scarfs, and other loose fitting clothing that is potentially hazardous while using equipment).
Instruct children not to climb when the equipment is wet.
Check the openings between rollers and sliding surfaces of roller slides for foreign materials that could be potentially hazardous to users.
Verify that suspended climbing ropes, chain, or cable cannot be looped back on itself.
Instruct children not to attach items to the playground equipment that are not specifically designed for use with the equipment, such as, but not limited to, jump ropes, clothesline, pet leashes, cables and chain as they may cause a strangulation hazard.
Warning! the buyer to instruct children to remove their bike or other sports helmet before playing on the playground equipment.
WARNING: Lawn swings are designed for use by children two years of age and older. The use by children under the age of two can result in entrapment between the seat and back rest because the child’s body may pass through the opening, causing entrapment of the child’s head. Such entrapment may result in strangulation. NEVER place children in a rearward facing position or with legs between the seat and backrest.
Maintenance Instructions – At the beginning of each play season:
Tighten all hardware. Lubricate all metallic moving parts per manufacturer’s instructions.
Check all protective coverings on bolts, pipes, edges, and corners. Replace if they are loose, cracked, or missing. Check all moving parts including swing seats, ropes, cables, and chains for wear, rust, or other deterioration. Replace as needed. Check metal parts for rust. If found, sand and repaint using a non lead-based paint meeting the requirements of 16 CFR 1303.
Check all wood members for deterioration and splinters. Sand down splinters and replace deteriorating wood members. Reinstall any plastic parts, such as swing seats or any other items that were removed for the cold season. Rake and check depth of loose fill protective surfacing materials to prevent compaction and to maintain appropriate depth. Replace as necessary.
Twice a month during play season:
Tighten all hardware. Check all protective coverings on bolts, pipes, edges, and corners. Replace if they are loose, cracked, or missing. Rake and check depth of loose fill protective surfacing materials to prevent compaction and to maintain appropriate depth. Replace as necessary.
Once a month during play season:
Lubricate all metallic moving parts per manufacturer’s instructions.
Check all moving parts including swing seats, ropes, cables, and chains for wear, rust, or other deterioration. Replace as needed.
At the end of each play season or when the temperature drops below 40°F (4°C). Remove plastic swing seats and other items as specified by the manufacturer and take indoors or do not use. Rake and check depth of loose fill protective surfacing materials to prevent compaction and to maintain appropriate depth. Replace as necessary.
TP751 Spiro Spin
8


MT0504 x1 MT0600 x2 MT0508 x3


M0601 x2 MT0510x1 MT0509 x1 PM0528 x2

WF9803 x3 PM0526 x2
SP9911

PM0527x2 PM0523x2 PM0522x2

FA3843 x1 M8 x 80mm FA7250 x3 M6 x 32mm

FA7240-1 x4 M6 x 42mm FA7240 x4 M6 x 47mm
![]()
FA3894 x2 M 8 x 115mm FA9356 x1

FA3847 x4 M8 x 50mm 10 & 13mm x1 5mm FA8414 x2
![]()
TP751 Spiro Spin
9
1
MT0509 x1
MT0508 x3


2
FA7250 x3 M6 x 32mm

TP751 Spiro Spin
10
3
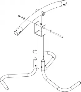
MT0510 x1
PM0527 x2
MT0504 x1


4
![]()
FA3843 x1 M8 x 80mm


TP751 Spiro Spin
11
5

FA7240 x4 M6 x 47mm MT0600

6

FA7240-1 x4 M6 x 42mm MT0601 x2

TP751 Spiro Spin
12
7
![]()
PM0526 x2 FA3847 x4 M8 x 50mm
![]()

8

PM0523 x2 PM0522 x2 PM0528 x2
1 2


TP751 Spiro Spin
13
9
![]()
FA3894 x2 M8 x 115mm

TP751 Spiro Spin
14
10
![]()
FA9356 x1



TP751 Spiro Spin
15
11

WF9803 x3

TP751 Spiro Spin
16
12

EN
The safe play area refers to the zone extending 200 cm around the toys on all sides and 250 cm above the toy.
The safe play area must be free from all obstacles.
TP751 Spiro Spin
17
TP751 Spiro Spin
18
TP751 Spiro Spin
19

Thank you
Thank you for purchasing this product.
Please register your new product on line at tptoys.com
www.tptoys.com/productregistration
Find out about the guarantee for this product,
visit www.tptoys.com/guarantee
For customer services and help with your product,
visit www.tptoys.com/customer/help
ANKO
MADE IN CHINA
42910985
FOR AU / NZ: IMPORTED FOR KMART
STORES IN AUSTRALIA AND NEW ZEALAND.
FOR USA: IMPORTED BY ANKO RETAIL INC.
19500 ALDERWOOD MALL PARKWAY
LYNNWOOD WA 98036 USA
The TP logo and Spiro Spin are UK Registered trademarks of Robovision Limited.
Robovision Ltd t/a TP Toys protects their unique designs worldwide with patents and design registrations.
For full information on the intellectual property relating to TP products please visit www.tptoys.com/intellectualproperty
Your TP Guarantee Number/Product Batch No is
Instruction Part No: IN0751 Issue-B 0420


















