Yamaha NS-AW392WH 120 Watt 5.5-Inch Cone All-Weather Speakers

Specifications
- Product Dimensions
5.38 x 6.75 x 10.75 inches - Item Weight
11.25 pounds - Speaker Type
Wall-mount - Speaker Maximum Output Power
120 Watts - Brand
Yamaha Audio
Introduction
Yamaha created the NS-AW392 all-weather model using its extensive experience as a producer of high-end hi-fi speaker systems. We were able to preserve the audio performance to Yamaha standards while making it highly durable. Both the fluid-cooled soft dome tweeter and the highly responsive cone used in the woofer are specially treated for water resistance. In order to provide accurate sound imaging, the internal structure has been meticulously constructed for the best time alignment between two units. A front baffle and waveguide guarantee good sound dispersion qualities. Excellent tonal purity and very little distortion are present across the board.
CONSUMER PRECAUTIONS
Read these precautions carefully before setting up your NS-AW592/ NS-Aw392 speakers.
- When installing these speakers outdoors, try to minimize their exposure to rain and snow by mounting the speaker in corners or under eaves.
- Since these speakers are to be wall / ceiling mounted, it is essential that they are firmly secured. Be sure to consult a reliable source about the best type of fastener for your particular wall / ceiling’s construction.
- Do not attach them to thin plywood or soft wall / ceiling surface materials as the screws may tear free, causing the speakers to fall and be damaged, or result in personal injury.
- Do not fasten the speakers to wall / ceiling with nails, adhesives, or other unsafe hardware. Long-term use and vibrations may cause them to pull free.
- Do not place the speakers where they are liable to be knocked over or struck by falling objects. Stable placement will also ensure better sound performance.
- When changing the angle of the speakers, be sure to adjust the angle after loosening the knob on the both sides. The speakers may be damaged by excessive power.
- Lower the power amplifier/ receiver volume control before changing input sources.
- Always turn the amplifier/ receiver unit off when installing or removing input cables.
- Anytime you note distortion, reduce the volume control on your power amplifier/ receiver to a lower setting. Never allow your power amplifier to be driven into “clipping”.
- Do not attempt to modify or fix the speakers. Contact qualified Yamaha service personnel when any service is needed. The cabinet should never be opened for any reasons.
- Do not attempt to clean the speakers with chemical solvents as this might damage the finish. To clean wipe with a dry, soft cloth.
- Secure placement or installation is the owner’s responsibility.
- Yamaha shall not be liable for any accident caused by improper placement or installation of speakers.
UNPACKING
After unpacking, please inspect the contents to confirm all the following items are contained.
- A Speaker x 2
- Bracket x 2
- Knob x 4
- Non-skid pad (4 pcs.) x 2
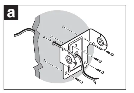
MOUNTING THE SPEAKERS
To wall/ceiling mount the speakers, use the included bracket.
- Using the bracket as a template mark the locations (four points) of the key hole Slots on the mounting area.
- Using appropriate hardware (not included) securely fasten the bracket to the wall/ceiling.
- Position the speaker in the bracket and secure the speaker by using the two knobs included.
- Rotate the YAMAHA emblem according to the position of the speaker.
When using the brackets to mount the speakers on a wall/ceiling, please use a safety wire (not included) between the speaker and the bracket to prevent the speaker from falling. Fix the safety wire with M5 screw (inch screw: No. 10-32) by using the screw hole diameter: 5 mm (1/4″), depth: 15 mm (5/8″)] at the rear of the speakers. For security, please confirm that the installed screw is in the screw hole more than 10 mm (3/8″).
lf speaker cable (not included) is being fed from a hole in the wall/ceiling behind the bracket, pull this speaker cable through the hole in the bracket before mounting the bracket


PLACING THE SPEAKERS
- When placing the speakers vertically, attach the bracket and the knobs to the speakers, and affix the non-skid pads on the bracket. When placing the speakers horizontally, attach the knobs to the speakers, and affix the non-skid pads on the side of the speakers.
- Rotate the YAMAHA emblem according to the position of the speaker.
CONNECTING YOUR AMPLIFIER/ RECEIVER
Before making connections, make sure that the amplifier/receiver is switched off.
CONNECTIONS
- Connect the input terminals at the rear of the speakers to the speaker output terminals of the amplifier/receiver with the speaker cables (not included).
- Connect each speaker making sure not to reverse the polarity “+” (red), “” (black).
- If the speaker is connected with reversed polarity, the sound will be unnatural and lack bass
HOW TO CONNECT
- Remove approximately 10 mm (3/8″) of insulation from the end of each speaker cable and twist the exposed wires of the cable together to prevent short circuits.
- Unscrew the terminal knob.
- Insert one bare wire into the hole in the side of each terminal.
- Tighten the terminal knob to secure the wire.
Note
Do not let the bare speaker wires touch each other as this could damage the peaker or amplifier/ receiver, or both.
(For single speaker)

Specifications subject to change without notice due to product improvements.
Warranty Policy for European Economic Area (EEA) and Switzerland, Australia customer
In the unlikely event that your Yamaha product needs guarantee service, please contact the dealer from whom it was purchased. If you experience any difficulty, please contact Yamaha representative office in your country. You can find full details on our website
EEA and Switzerland: (http://www.yamaha-hifi.com/or http://www.yamahauk.com/ for the U.K. resident).
Australia: http://www.yamahamusic.com.au/
Warranty policy for U.S. and Canada customer
Your Yamaha product is covered by a limited warranty for two years from the date of purchase. In the unlikely event of failure due to defective materials or workmanship, Yamaha will repair or replace them at no charge. Please visit our website for full details.
U.S.: (http://www.yamaha.com/yec/), Canada: (http://www.yamaha.ca/
Information for Users on Collection and Disposal of Old Equipment This symbol specified in the Directives 2002/96/EC indicates that used electrical and electronic products should not be mixed with general household waste.
For proper treatment to avoid harmful effect on human health and environment, please contact your local municipality, your waste disposal service or the point of sale where you purchased the items.
Frequently Asked Questions
A tricky question. Normally high end receivers will specify what impedance receiver you can connect, so you can check your receiver manual to get that info. That’s the short answer. Normally there shouldn’t be a major problem between 8 and 6 but a cheap receiver with a higher impedance could damage the speakers when used at high volume
Sorry, I bought the speakers for a boat and I sold it few months ago.
We have them mounted on our enclosed porch on exterior wall of the house. We are very happy with the sound.
They will need some protection because many outdoor speakers are weather-resistant rather than waterproof. Are your eaves in close proximity to the deck or the ground? Install speakers underground to shield them from the elements. Mount them no higher than 10 feet above the listening area, though.
When it comes to the manufacture of premium musical instruments and audio equipment, Yamaha is a well-known and reputable brand. Even though the Yamaha has been around for a while, it continues to be the industry leader in producing high-quality speakers and other musical and audio equipment.
If the speaker gets wet, first drain the water from it, and then use a soft, dry towel to remove the moisture. Leaving moisture on its surface could cause the speaker to freeze and malfunction, especially in colder climates. After utilising the speaker, make sure to wipe off any remaining moisture.
The majority of outdoor speakers are passive devices, which means they will require power because they lack built-in amplification.
Yes. This is a really good surround sound system at a decent price if you know what you want. Yamaha produces excellent goods. This receiver contains a subwoofer that most definitely decodes the Dolby codes used in movie theatres, if not all of them.






![Yamaha Indoor/outdoor Speaker System User Manual [ns-aw350, Ns-aw350w] Yamaha Indoor/outdoor Speaker System User Manual [ns-aw350, Ns-aw350w]](https://static-data1.manualsee.com/1/img/7/54255/2021/01/Yamaha-IndoorOutdoor-Speaker-System-User-Manual-NS-AW350-NS-AW350W-1568x1568.jpg)












