Streamline R5540BNK 71 Inch Cast Iron Rectangular Drop-in Bathtub

PRIOR TO INSTALLATION
Installation of any product by anyone other than fully insured and licensed plumber shall void limited warranty.
We are not responsible for any local code compliance for this product.
Building and plumbing codes may vary state-to-state.
Streamline shall not be held liable for any and all incidental damages or flood caused due to use of this product.
Streamline shall not be held liable for any and all fees stemming from cost of installation, re-installation, removal, subsequent damage, or transportation in a case of a product defect.
TOOLS REQUIRED
- SILICONE

- MEASURING TAPE

- PENCIL

- LEVER BAR

- ADJUSTABLE KEY

- SAFETY GLASSES

WHAT’S IN THE BOX
** REPRESENTS DIFFERENT COLORS OF THE ITEM
- Bathtub

- Model: N-DWF-XX**

- Leve Ii ng Feet

DRAIN MODEL COMPATIBILITY
CAST-IRON DROP-IN BATHTUB

DRAIN DIAGRAM

| No. | ITEM | Qty |
| 1 | Pop-Up Cover | 1 |
| 2 | 0 Ring | 1 |
| 3 | Strainer | 1 |
| 4 | Upper Rubber Gasket | 1 |
| 5 | Lower Rubber Gasket | 1 |
| 6 | Cartridge | 1 |
| 7 | Drain Tee | 1 |
| 8 | Drain Ell | 1 |
| 9 | Drain Cap | 1 |
| 10 | Washer | 1 |
| 11 | Tee | 1 |
| 12 | Overflow Ell | 1 |
| 13 | Tapered Rubber Gasket | 1 |
| 14 | Overflow Plate | 1 |
| 15 | Pin Bolt | 1 |
| 16 | Tail Piece | 1 |
| 17 | Flange | 1 |
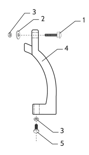
LEVELING FOOT DIAGRAM

| No. ITEM Qty | ||
| 1 | Retaining Screw | 1 |
| 2 | Washer | 1 |
| 3 | Nut | 2 |
| 4 | Feet | 1 |
| 5 | Adiustable Feet | 1 |
WHAT’S INCLUDED
| No. | 1 | 2 | 3 | 4 | 5 |
![]() | ![]() | ![]() | ![]() | ||
| Qty: | 4 | 4 | 8 | 4 | 4 |
••xx REPRESENTS DIFFERENT COLORS OF THE ITEM
BATHTUB INSTALLATION
- Prepare the site where the bath will be installed by waterproofing the floor and determining the location of the drain pipe. Please refer to pictures 1, 2, 3 for recommended methods of installationfor this bathtub model.

- Take l adjustable foot [Part #5] and l nut [Part #3] and screw the nut halfway on foot.

- Screw the adjustable foot with the nut into the leveling foot.

- Take l retaining screw [Part #7] and put it through the hole at the top of the foot. Then take l
washer [Part #2] and place it on the screw andsecure with l nut [Part #3]
- Take the assembled leveling foot [Part #4] and place it into the opening on the bathtub [see diagram]. Once inserted, secure and tighten all the bolts to ensure stability. A wrench may be required. Repeat steps 2-5 for the other 3 leveling feet.

- Ensure to mark all positions of leveling legs on the floor using a pencil. Move the bathtub into the desired location near the drainpipe.

THE BELOW INSTRUCTIONS ARE FOR INSTALLING DRAIN ASSEMBLY N-DWF-XX
- Take the overflow ell and unscrew the pin bolt, removing the overflow cover as well.

- Take the tapered rubber gasket and the overflow ell and place it on the overflow hole on the back of the bathtub. Run the pin bolt with the overflow cover through the overflow hole and tighten firmly.

- Remove the strainer from the drain tee. Take off the larger, lower rubber gasket. Set it aside. DO NOT TAKE OFF THE SMALLER, UPPER GASKET. Place the strainer through the drain hole in the bathtub. Use silicone sealant to seal and ensure a tight connection. DO NOT use plumber’s putty.

- Take the lower gasket that was previously removed and re-attach it to the strainer from underneath the bathtub.

- Screw on the drain tee to the bottom of the drain, making sure the opening of the drain tee is facing outwards to align with the overflow hole.

- Insert the drain ell into the drain tee and screw in tightly. The use of threaded plumbing tape may be necessary at the joint to prevent leakage. This can be done at your discretion.

- Remove the coupling nut and washer from the top of the tee where the ball joint is located.

- Connect the top of the ball joint tee with the overflow ell using the washer and coupling nut. Tighten firmly to have a leakless connection.

- Use the ball and joint to angle the drain properly to allow for proper installation in the bathroom.

- Remove the coupling nut and washer from the left-hand side of the drain tee.

- Connect the drain ell with the left-hand side of the drain tee using the coupling nut and washer. Tighten firmly to have a leakless connection.

- Attach the flange to the base of the external drain and proceed to connect the drain to the end home plumbing.

- Prior to finalizing installation, check all drain connections and fill the bathtub with a minimal level of water to test and ensure that no connections are leaking.
READ ENTIRE INSTALLATION GUIDE PRIOR TO INSTALLING THE BATHTUB
This bathtub should only be installed by a certified plumber
two people are required to lift the bathtub
For installation and assembly videos, please visit our website
www.streamlinebath.com
OR
our YouTube page by searching for
“Streamline Bath”
OR
following the below link to our channel:
https://www.youtube.com/channel/UCll7TGMbkwoGSqzo-pGfaJw
External Drain
Assembly Video
CUSTOMER SUPPORT
streamlinebath.com
[email protected]
(3 10) 935-0028


















































