
Voyager
TWS Earbuds
User Manual
Dear customer,
Thank you for purchasing our product. Please read the following instructions carefully before first use and keep this user manual for future reference. Pay particular attention
to the safety instructions. If you have any questions or comments about the device, please contact the customer line.
| www.alza.co.uk/kontakt | |
| +44 (0)203 514 4411 |
Importer Alza.cz a.s., Jankovcova 1522/53, Holešovice, 170 00 Praha 7, www.alza.cz
Unboxing

lease refrain from using any damaged components.
Contact your local authorized HiFuture distributor/customer service.
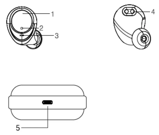
Device Overview
- Tap area
- Indicator
- Microphone
- Charging interface5. Charging port

Charging
Please fully charge the Voyager after unboxing.
Use a Type-C cable to charge the charging case.
Charging Indicator Status
Charging Case Indicator
Charging by Type-C: Charging Case indicator flashes one by one.
Fully Charged by Type-C: Charging Case Indicator always ON.
Energy Status(Charging Case)
Battery Low: The first indicator blinking
25% remains: The 1 st indicator lights ON
50% remains: The 1 st & 2 nd indicators light ON
75% remains: The 1 st , 2 nd and 3 rd indicators light ON
100% remains: 4 front indicators light ON
Earbuds Indicator
Charging: Earbud’s indicator lights ON RED Fully Charged: Earbud’s RED indicators light OFF Battery Low: Red indicator flashes 1 time / 5 seconds
AUTO ON & PAIRING & AUTO-OFF
A. Please remove the sticker from both buds, then put both earbuds into the charge case for 510 seconds and take out the buds. The bud’s indicator will flash for a while, which means the earbuds were Power ON.

B. Select “HiFuture Voyager” from the smartphone Bluetooth menu. There is a voice prompt “Your Device is connected” after a successful connection with a smartphone.

C. Both buds will be AUTO OFF after into case around 5 seconds or disconnected with a smartphone over 5 minutes.
Manual ON/OFF
Long Tap L or R earbud for 5 seconds until indicator flashes 3 times and Power OFF. Quick Tap 1-2 times until indicators light up to Power ON.
Manual Pairing
After Manual ON, Double Tap L/R buds (not recommend).

RESET
![]()
Make sure the Voyager were disconnected with a phone or other Bluetooth devices.

Put both earbuds into the charging case for 5 seconds and take them out, QUICKLY Tap L or R earbuds 5 times to enter paring mode, both earbuds’ indicators will flash until pairing, which means the Voyager has been reset successfully.

Put them back into charge case, and the Voyager is ready to Use on AUTO ON & Pairing.

Voice Prompt
- Power ON
- Pairing
- Your device is connected
- Your device is disconnected
- Battery Low
- Power OFF
- Min. & Max. Volume Alarm
- Reject or End Call Alarm (Available for some Android phones, not support iOS phones)
- Reset Succeed Alarm
MFB Instructions

![]() | |||
| Double Tap L Earbuds | Double Tap R Earbuds | Long Tap L or R earbuds for 2 seconds | Short Tap the L or R earbuds |
![]() | |||
| Tap 3 times on the L or R earbud to enter Siri or Google Assistance | Tap R Earbud for 2 seconds | Tap L Earbud for 2 seconds | Short Tap L or R Earbuds |
Safety Notes
- Read these safety instructions carefully.
- Keep these safety instructions.
- Pay attention to all warnings.
- Follow all instructions.
- Only clean the earplugs with a dry cloth.
- Choking: The appliance contains small parts and is not suitable for children.
- Do not place the device near heat sources such as radiators, hot air regulators, fireplaces or heat-generating speakers (including amplifiers).
- Do not use the device in places where you need to concentrate on the surroundings, such as while driving and the like.
- Do not immerse the device in water or expose it to a humid environment for a long time. Do not use it while swimming or surfing.
- High music volume can cause hearing loss over time. If you experience tinnitus (ringing in your ears), pain, or discomfort after using your ear audio device, the volume is probably too high for your ears.
- To prevent hearing loss, turn down the volume of the music player before connecting it to your mobile phone, and then gradually increase it to a comfortable volume.
- It is recommended to use the accessories specified by the manufacturer.
- Do not expose the battery to excessive heat such as sunshine, fire or the like.
- Make sure that the power supply is within the specified voltage range.
- If the device does not charge with AC power, unplug the cable from the USB-C interface.
- Rely on our staff. If a fault occurs on the device, it must be repaired by a professional. The headphones do not work properly if: the power cord or plug is damaged, there is water in the device, foreign objects have fallen into it, the device is exposed to rain or moisture, or if it falls from a height.
Warranty Conditions
All new SOUNDPEATS products are entitled to a two-year warranty from the original date of purchase.
The proof of purchase proves that the product was purchased in the Alza.cz sales chain, during the warranty period you can then use the free service or you can replace the product.
The warranty does not apply to:
- Use of the device contrary to the instructions, use of non-original parts, or damage caused by illegal software.
- Disassembly itself or damage caused by disassembly and assembly by an unauthorized repair shop.
- The cause of failure is caused by negligence or force majeure, such as accidents (fire, water, immersion, compression, external fall, etc.) and natural disasters (lightning, earthquake, typhoon, etc.).
- Natural consumption, damage, wear, and aging of consumables or components during use (such as hearing protectors, silicone hearing protectors, batteries, etc.).
- The use of non-original parts is prohibited.
- Other unspecified items will be implemented in accordance with the applicable laws and regulations of the country or region where the product is sold.
If you need repair or other services during the warranty period, contact the product importer directly, you must provide the original undamaged proof of purchase with the original date of purchase.
Alza.cz’s liability for product failures and hardware defects is limited to replacement or repair specified in this warranty regulation. There are time limits in this warranty statement.
A new product purchased in the Alza.cz sales network is guaranteed for 2 years. If you need repair or other services during the warranty period, contact the product seller directly, you must provide the original proof of purchase with the date of purchase.
EU Declaration of Conformity
This device complies with the European RED Directive (Directive 2014/53 / EU) and the
RoHS Directive No. 2011/65 / EU, incl. of amendments 2015/863 EU.

WEEE
This product must not be disposed of as normal household waste in accordance with the EU Directive on Waste Electrical and Electronic Equipment (WEEE – 2012/19 / EU). Instead, it shall be returned to the place of purchase or handed over to a public collection point for the recyclable waste. By ensuring this product is disposed of correctly, you will help prevent potential negative consequences for the environment and human health, which could otherwise be caused by inappropriate waste handling of this product. Contact your local authority or the nearest collection point for further details. Improper disposal of this type of waste may result in fines in accordance with national regulations.


















