Dispho WS-19017-2 Single Axis Pan-Tilt Stabilizer

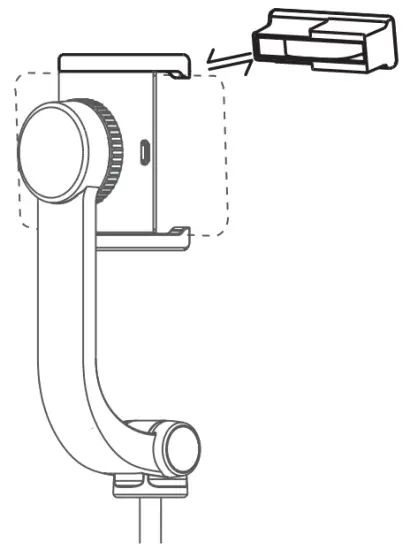
Product appearance

- Phone bracket
- Micro USB port
- Aluminum rod
- Remote controller Indicator
- Turn right key
- Photo key
- Pan-tilt switch key
- Balcony indicator
- Rotary lock
- Power key of remote control
- Turn left key
- Tripod
*Notes:
- When the USB interface on the tripod head is upwards, it is normal
when there is no reaction after long pressing “right rotating key/ left rotating key” (when USB interface is upwards, “long press” is limited on the software) - Long press “right rotating key/left rotating key” to rotate the USB interface, and stop rotating when the left and right sides of the end face inclines 30°
Remote control function

Bluetooth connection
Power on after long pressing the power button for 3 seconds, then turn on the phone bluetooth to enter search condition, and click “Dispho” in the searched equipment. The blue light will be on after the success of the connection.
Usage method
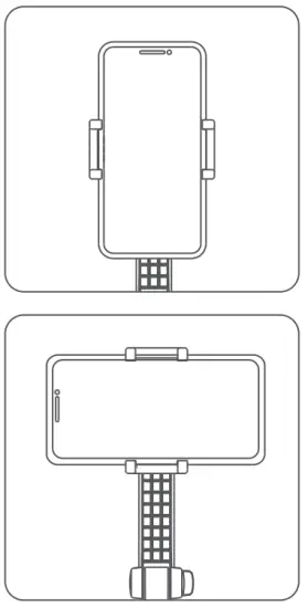
- Mount your phone onto the selfie stick

- Extend the monopod

- Usage mode of pan-tilt holder
After clamping the mobile phone and keeping the phone in natural balance, then long press the power button for 3 seconds to turn on the mobile phone( Long press 3 seconds to shut down.
After starting up, it will enter the stable mode, move the holder, and the mobile phone will always maintain a constant direction.
- Non- pan-tilt mode
When the pan-tilt is shut down or out of power, the rotation will screw tight to the locking direction, the rotation function of the pan-tilt disappears, and it will become an ordinary tripod selfie stick. (When the rotation is reset to the holder end, the pan-tilt mode will be restored.)
- Use the tripod
Open the bottom tripod, uplift the pull rod and put tripod on horizontal plane.
Charging
- Holder charging mode
Connect the Micro USB interface of the pan-tilt holder for charging, and the red light will be on for a long time during the process of chargingthe redlamp will be off automatically after charging is finished
- Charging Mode of Remote Controller
Connect the Micro USB interface charging, and the red light will be on for a long time during the process of chargingthe redlamp will be off automatically after charging is finished
Silicon rubber case for avoiding empty keys When using the the mobile phone in horizontal screen status, please use this accessory when the product cannot work normally due to touching the keys of the mobile phone.
Tips
- When the equipment clamps the platform bracket, try to keep the equipment in the center, if not in the center, it is recommended to use the vertical screen mode.
- Selfie stick will enter sleep mode automatically if it is idled for 5 min after Bluetooth connection; press photograph key to recover connection.
- When using the Remote control , when the battery is low, the Remote control will have a flashing red light for reminder. Charge the selfie stick promptly.
- If the battery is running low, the indicator on the selfie stick will flash red. Charge the selfie stick promptly.
- Notice: For any imbalance at horizontal or vertical distance in running process, please handle it as shown in diagram below: Open the tripod, fix the tripod head with both hands and keep the balanced direction (follow Fig. 1 or 2 in case of

horizontal or vertical imbalance, or follow both of Fig. 1 and 2 in case of horizontal and vertical imbalance); short press“Power”key for 4 times and tripod will vibrate continuously and recoverits functions to finish the calibration.
Warnings
- Watch your hands during use.
- The product is not designed for children under 14 years old.Do not swallow it.
- Do not dismantle or modify the product.
- Do not store the product in a humid environment.
- Keep the product away from heat sources.
- Do not expose the product to water or other liquids in case of damage.
Winners’ Sun Plastic & Electronics (Shenzhen)Co., Ltd.
Production Address: 1/F-4/F of Factory 6 & 3/F of Factory 2, Detai Industrial Park, 496 Huarong Road,Langkou Community, Dalang Sub-district, Longhua District, Shenzhen
The device has been evaluated to meet general RF exposure requirement, The device can be used in portable exposure condition without restriction
Federal Communication Commission (FCC) Radiation Exposure Statement
Power is so low that no RF exposure calculation is needed.
FCC statements
This device complies with part 15 of the FCC rules. Operation is subject to the following two conditions: (1) this device may not cause harmful interference, and (2) this device must accept any interference received, including interference that may cause undesired operation.
NOTE: The manufacturer is not responsible for any radio or TV interference caused by unauthorized modifications or changes to this equipment. Such modifications or changes could void the user’s authority to operate the equipment.




























