DC/AC CLAMP METER
ISO-TECH 2000
USERS MANUAL

Warnings and Safety symbols:
Caution, refer to this manual before using the meter.
Dangerous voltages.
Meter is protected throughout by double insulation or reinforced insulation.
Comply with IEC1010-1
When servicing, use only specified replacement parts.
1. Features
- Accurate DC/AC digital clamp meter for current measurement.
- DC 2500A, AC 2100A (True RMS ).
- ϕ55 mm diameter jaw.
- One touch zero for DCA adjustment.
- Auto-range for A, V, amd Ω.
- Large 3 3/4 digits LCD
6. Fast bargraph display (20 times/sec.) for transient observation. - Continuity with buzzer.
- Max/Min and Data Hold functions.
- 600V overload protection for ohm measurement.
- Easy single rotary switch for any function selection.
2. Panel Description

1. Transformer Jaw
This is used to pick up a current signal. To measure DC/AC current, a conductor must be enclosed by the jaws.
2. Transformer Trigger
This is used to open the jaws.
3. Data Hold Button
Press this button to hold the current reading in the LCD display. Press it again to release the HOLD function.
4. Function Selection and On/Off Switch
This is used to select the desired function, such as DCA, ACA, DCV, ACV, Hz, Ohm and Continuity.
5. Data Hold Symbol
Once the hold button is pressed, this symbol appears in the LCD display.
6. Max/Min Hold Symbol
Once the max/min button is pressed, either MAX or MIN shall be displayed on LCD
7. Units Symbols
Once a function is selected, the corresponding unit (V, Ω, A, or Hz) shall be displayed on LCD.
8. LCD
This is a 3 3/4 digit Liquid Crystal Display with maximum indication of 3999. Function symbols, units, bargraph, sign, decimal points, low battery symbols, max/min symbols, and zero symbol are included.
9. Zero/Relative Symbol
When this symbol appears, it means a reference value has been subtracted from the actual reading. The reading shown is an offseted value. Press and hold the zero button for 2 seconds to disable this function.
10. Low Battery Symbol
When this symbol appears, it indicates that the battery voltage has dropped below the minimum required voltage. Refer to Section V for battery replacement.
11. Analogue Bargraph
The Bargraph has forty segments. It displays segments proportional to the actual reading. Each segment represent ten counts.
12. Relative Button
Once this button is pressed, the current reading shall be set to zero and be used as a zero reference value for all other subsequent measurement. The function can also be used to offset readings caused by the residual magnetism remaining in the core for DC current measurements. Once this button is pressed, the clamp meter will change to manual mode instead of auto-range mode. The Relative function will be disabled if Max/Min function is enabled.
13 DCA ZERO button
This button is used for DCA ZERO function. To zero the DCA residual value, press this button until the LCD displays zero. If the DCA ZERO button is used to zero a DCA value, the clamp meter is still in auto-range mode. ( It is different from the the relative button which forces the clamp meter change to manual mode.)
14. Max/Min Hold Button
This button is used to enable the maximum or minimum value to be displayed and updated during measurement. Press it once and the minimum value shall be displayed and updated. Press it again and the maximum value shall be displayed and updated. Press it again (the third push) and the clamp meter returns to normal measurement mode. The Zero function will be disabled if MAX/MIN is enabled.
15. RANGE button
Once the button is pressed, the clamp meter goes into manual mode. To select the desired range, press and release the button once. To return to the autorange mode, press and hold the button for more than 2 seconds.
16.COM Terminal
This terminal is used as common reference input.
17.VΩ Input Terminal
This terminal is used as an input for voltage, ohm/continuity, or frequency measurements.
3. Operation Instructions.Operation Instructions
3.1. DC/AC Current Measurements
WARNING Make sure that all the test leads are disconnected from the meter’s terminals for current measurement. |
3.1.1. DC Current

a. Set the rotary switch at DCA.
b. Push and hold the DCA ZERO button until the reading shows zero.
c. Press the trigger to open the jaws and fully enclose the conductor to be measured.
No air gap is allowed between the two half jaws.
d. The clamp meter will automatically select the appropriate range. If the user wants to select a range manually, press the range button before pressing the DCA ZERO button.
e. Read the measured value from the LCD display.
Note There are two ways to zero the DCA residual value. Use the DCA zero button and the clamp meter is in auto-range mode. Use the REL button and the clamp meter will change to manual mode for DCA measurement. |
3.1.2. AC Current

a. Set the rotary switch at ACA.
b. In AC current measurement, ZERO is not needed. Do not press DCA ZERO button.
c. Press the trigger to open the jaw and fully enclose the conductor to be measured. No air gap is allowed between the two half jaws.
d. The clamp meter will automatically select proper range. If users want to select range, press the range button before pressing the DCA ZERO button.
e. Read the measured value from the LCD display.
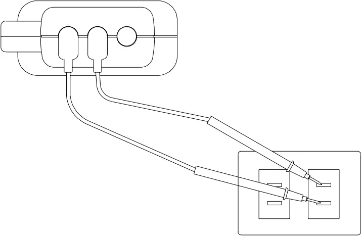
Connecting to an Oscilloscope or a Datalogger
a. Set the rotary switch at ACA or DCA
b. Analog signal is output from the bottom terminals at the same time. The output is proportional to the current measured (1mV/A).
c. The red terminal is the positive while the black is the negative of the signal.
d. Connect these two terminals to an oscilloscope or a datalogger, users can observe the current wave form or do the long term data recording.
3.2. DC/AC Voltage Measurements.
TEST EQUIPMENT RISK ASSESSMENT (UK RECOMMENDATION)
Users of this equipment and/or their employers are reminded that Health and Safety legislation requires them to carry out valid risk assessments of all electrical work so as to identify potential sources of electrical danger and risk of electrical injury such as from inadvertent short circuits. Where assessments show that the risk is significant then the use of fused test leads constructed in accordance with the HSE note GS38 “Electrical Test Equipment for use by Electricians” should be used.

WARNING Maximum input for DC V is 1000, and for AC V is 750. Do not attempt to take any voltage measurement that exceeds the limits. Exceeding these limits could cause electrical shock and damage to the clamp meter. |
3.2.1.DC Voltage
a. Set the rotary switch to V DC.
b. Insert the test leads into the input terminals.
c. Connect the test probes of the test leads in PARALLEL to the circuit to be measured.
d. The clamp meter will automatically select the appropriate range. If manual selection of the range is required, press the range button.
e. Read the measured value from the LCD display.
3.2.2.AC Voltage
a. Set the rotary switch to V AC
b. Insert the test leads into the input terminals.
c. Connect the test probes of the test leads in PARALLEL to the circuit to be measured.
d. The clamp meter will automatically select proper range. If users want to select range, press the range button.
e. Read the measured value from the LCD display.
WARNING Before taking any in-circuit resistance measurement, remove power from the circuit being tested and discharge all the capacitors. |
3.3. Resistance Measurement
3.3.1. Set the rotary switch to Ω
3.3.2. Insert the test leads into the input terminals.
3.3.3. Connect the test probes of the test leads to the two ends of the resistor or circuit to be measured.
3.3.4. The clamp meter will automatically select proper range If manual selection of the range is required, press the range button.
3.3.5. Read the measured value from the LCD display.
3.4. Continuity Measurement
3.4.1. Set the rotary switch to Continuity
3.4.2. Insert the test leads into the input jack.
3.4.3. Connect the test prods of the test leads to the two ends of the resistor or circuit to be measured.
3.4.4. Read the measured value from the LCD display.
3.4.5. If the resistance is lower than 40 Ω, the internal sounder will operate.
Diode Test
a. Set the rotary switch to diode test.
b. Insert the test leads to the input terminals
c. Connect the test probes of the test leads to the two ends of a diode
d. Read the diode voltage from the LCD display
3.5 Frequency Measurement
a. Set the rotary switch to Hz
b. Insert the test leads to the input terminals
c. Connect the test probes of the test leads to the circuit to be measurement.
d. Adjust the voltage sensitivity by pressing RANGE button. The default sensitivity is 10mV. Pressing RANGE button will change the sensitivity to 100mV, or 1V. The sensitivity will be displayed momentarily when RANGE button is pressed.
The higher the frequency, the highrer the sensitivity (such as 100mVor 1V) may be needed. If the sensitivity is set at 10mV, a stable reading might not be obtainable on the LCD display.
3.6. Relative Reading Measurements
The REL button can be used to make a relative measurement. Once the button is pushed, the current reading is set to zero and a zero symbol shall be displayed on LCD. All the subsequent measurement shall be displayed as a relative value with respect to the value being zeroed. Press the zero button for 2 seconds to return to normal mode. But this function is disabled if MAX/MIN function is enabled. Please watch for the symbol displayed on LCD.
3.7. Holding the LCD Reading
Press the HOLD button, then the reading shall be held and kept on LCD.
3.8. Finding the MAX/MIN Value
Press the MAX/MIN button to enable the maximum and minimum values to be recorded and updated during measurement. Push the button once, the maximum value shall be displayed and updated. Push again (second push), the minimum value shall be displayed. Push again (third push), MAX/MIN function shall be disabled and return to the normal measurement mode. If MAX/MIN button is pressed, the ZERO function will be disabled and the ZERO symbol will disappear from LCD.
4. Specifications (@ 23°C ±5°C)
DC Current:
Range | Resolution | Accuracy (of rdg) | Overload Protection |
| 400A | 0.1A | ±1.5%±3dgts | DC 3000A |
0-2000A | 1A | ±1.5%±3dgts | DC 3000A |
| 2000-2500A | 1A | ±2.0%±3dgts | DC 3000A |
AC Current (True RMS Crest Factor < 4):
Range | Resolution | Accuracy (of rdg) | Overload Protection | |
| 50/60 Hz | 40 – 1KHz | |||
400A | 0.1A | ±1.5%±5dgts | ±2.0%±5dgts | AC 3000A |
| 0-1000A | 1A | ±2.0%±5dgts | ±2.5%±5dgts | AC 3000A |
1000-2100A | 1A | ±2.5%±5dgts | ±3.0%±5dgts | AC 3000A |
Current Analog Output
| Range | Output | Accuracy | Overload Protection |
| 0 – 400A | 1mV/A | ±2.5% ±0.5A | 600V AC |
| 400 – 2100A | 1mV/A | ±2.5% ± 5A | 600V AC |
DC Voltage:(Autorange & Manual, Overload Protection 800VAC for all range)
Range | Resolution | Accuracy(of rdg) | Input Impedance |
| 400mV | 0.1mV | ±1.5%±3dgts | 10MΩ |
4V | 0.001V | ±1.5%±3dgts | 5MΩ |
| 40V | 0.01V | ±1.5%±3dgts | 5MΩ |
400V | 0.1V | ±1.5%±3dgts | 5MΩ |
| 600V | 1V | ±1.5%±3dgts | 5MΩ |
AC Voltage(True RMS , Crest Factor < 4)
(Autorange & Manual, Overload Protection 800VAC for all range)
Range | Resolution | Accuracy (of reading) | Input Impedance | |
| 50/60 Hz | 40 – 1KHz | |||
400mV | 0.1mV | ——–¹ | ——–¹ | ——–¹ |
| 4V | 0.001 | ±1.5%±5dgts | ±2.0%±5dgts | 5MΩ |
40V | 0.01V | ±1.5%±5dgts | ±2.0%±5dgts | 5MΩ |
| 400V | 0.1V | ±1.5%±5dgts | ±2.0%±5dgts | 5MΩ |
600V | 1V | ±1.5%±5dgts | ±2.0%±5dgts | 5MΩ |
¹ Though 400mVAC can be selected by RANGE key, it is not designed to measured AC mV. So no accuracy is listed for AC 400mV range.
Resistance Ω (Autorange & Manual, Open Circuit Voltage ≤ 0.5V)
Range | Resolution | Accuracy (of reading) | Overload Protection |
| 400Ω | 0.1Ω | ±1.5%±3dgts | 600VAC |
4KΩ | 1Ω | ±1.5%±3dgts | 600VAC |
| 40KΩ | 10Ω | ±1.5%±3dgts | 600VAC |
400KΩ | 100Ω | ±1.5%±3dgts | 600VAC |
| 4MΩ | 1KΩ | ±1.5%±3dgts | 600VAC |
40MΩ | 10KΩ | ±1.5%±3dgts | 600VAC |
Resistance (Ω) and Continuity:(open voltage 0.4V)
Range | Resolution | Accuracy | Beeping | OL Protection |
| 40-400Ω | 0.1Ω | ±1.0% rdg±2dgts | < 40.0 Ω (approx.) | AC 600V |
Diode Test
| Range | Resolution | Accuracy | Overload Protection |
| 3V | 0.001V | ±2.5% ±5dgts | 600VAC |
Frequency (Hz, Overload Protection 600VAC, Sensitivity selected by RANGE button)
| Range | Resolution | Accuracy | Sensitivity |
| 100Hz 1000KHz | 0.01Hz – 100Hz | ±0.5% ±2dgts | 10mV/100mV/1V |
Indoor Use
| Conductor Size | : Cable Φ55mm. (approx.) Bus Bar 65mm(D) x 24mm(W) |
| Battery Type | : 9V |
| Display | : 3 3/4 LCD with 40 seg. Bargraph |
| Range Selection | : Auto and manual |
| Overload Indication | : left most digit blinks |
| Power Consumption | : 12 mA (approx.) |
| Low battery Indication | : |
| Sampling Time | : 2 times/sec. (display) 20 times/sec. (bargraph) |
| Operating Temperature | : 4°C to 50°C |
| Operating Humidity | : less than 85% relative |
| Altitude | : up to 2000M |
| Storage Temperature | : -20°C to 60°C |
| Storage Humidity | : less than 75% relative |
| Dimension | : 271mm (L) x 112mm (W) x 46mm (H) 10.7″ (L) x 4.4″ (W) x 1.8″ (H) |
| Weight | : 647 g/22.8 oz (batteries included) |
| Accessories | : Carrying bag x 1 Users manual x 1 9V battery x 1 |
5. Battery Replacement

When the low battery symbol is displayed on the LCD, replace the old battery with a new battery.
5.1.Turn the power off and remove the test leads from the clamp meter.
5.2.Remove the screws from the bottom half of the case.
5.3.Lift and remove the bottom half of the case.
5.4.Remove the old battery.
5.5.Insert new 9V battery.
5.6.Replace the bottom half of the case and secure the screws.
WARNING Do not touch or adjust any parts inside the clamp meter when the bottom case is open. |
6. Maintenance & Cleaning
Servicing not covered in this manual should only be performed by qualified personnel.
Repairs should only be performed by qualified personnel.
Periodically wipe the case with a damp cloth and detergent; do not use abrasives or solvents.




















